вконтакте

Контактный телефон: +7 (981) 121-46-93, +7 (800) 200-90-76 , Email: parts-katalog@yandex.ru, где купить

 
 

  Логин:

Пароль:

Регистрация

www.partskatalog.ru Все каталоги Запчасти Mercury Запчасти Suzuki Запчасти Tohatsu Запчасти Honda Контакты


Выбрать другую модель

назад Раздел:   вперёд

вернуться к списку узлов и деталей

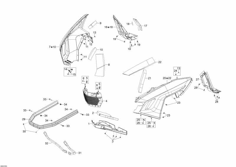
ДЕТАЛИРОВКА ДЛЯ МОДЕЛИ: SKIDOO Expedition LE 600 E-TEC, 2015

Раздел: Нижний поддон 30m1553 | Bottom Pan 30m1553


снегоход Ski Doo Expedition LE 600 E-TEC, 2015 раздел - 30m1553

Номер на
рисунке
АртикулНаименованиеКол-во
на складе
Цена
1 502007184

чёрный Нижний поддон Front (Black Bottom Pan Front)

под заказ10100 руб.
1 502007082

BOTTOM-PAN FRONT

под заказ9200 руб.
2 502007002

Изолятор (Insulator)

под заказ2070 руб.
3 293150103

чёрный Pop Заклёпка 3 / 16" (Black Pop Rivet 3/16")

под заказ138 руб.
4 502007145

Grill (Grill)

под заказ3850 руб.
4 502006913

FRONT GRILL

под заказ3140 руб.
5 250100113

Panel Гайка, M6 X 1.0 (Panel Nut, M6 X 1.0)

под заказ242 руб.
6 250000722

Torx Винт M6 X 20 (Torx Screw M6 X 20)

под заказ138 руб.
6 250000128

TORX-TRUSS M/S GM6047M NYLON PATCH

под заказпо запросу
7 502007188

чёрный Нижний поддон в сборе RH. Includes 7 To 10 (Black Bottom Pan Assy RH. Includes 7 To 10)

под заказ7250 руб.
7 502007080

COQUE DROITE *RH.BOTTOM PAN

под заказ6660 руб.
8 502007006

Изолятор (Insulator)

под заказ2070 руб.
9 502007008

Изолятор (Insulator)

под заказ1280 руб.
10502007009

Изолятор (Insulator)

под заказ1280 руб.
11293150104

Pop Заклёпка 3 / 16" (Pop Rivet 3/16")

под заказ80 руб.
11861783600

KIT FASTENER LONG SKID RIVET

под заказ570 руб.
12390402200

Pop Заклёпка 3 / 16" (Pop Rivet 3/16")

под заказ138 руб.
13234052450

плоский Шайба (Flat Washer)

под заказ189 руб.
14250100113

Panel Гайка, M6 X 1.0 (Panel Nut, M6 X 1.0)

под заказ242 руб.
15250000722

Torx Винт M6 X 20 (Torx Screw M6 X 20)

под заказ138 руб.
15250000128

TORX-TRUSS M/S GM6047M NYLON PATCH

под заказпо запросу
16502007191

чёрный Нижний поддон Rear в сборе RH. Includes 16 To 18 (Black Bottom Pan Rear Assy RH. Includes 16 To 18)

под заказ7570 руб.
16502007085

BOTTOM-PAN REAR, RH ASSY

под заказ6760 руб.
17502007038

Aluminium Foil (Aluminium Foil)

под заказ1200 руб.
1844110

Aluminum foil (Aluminum foil)

под заказ101 руб.
19293150104

Pop Заклёпка 3 / 16" (Pop Rivet 3/16")

под заказ80 руб.
19861783600

KIT FASTENER LONG SKID RIVET

под заказ570 руб.
20502007196

чёрный Нижний поддон в сборе LH. Includes 20 To 22 (Black Bottom Pan Assy LH. Includes 20 To 22)

под заказ8560 руб.
20502007081

COQUE GAUCHE *LH.BOTTOM PAN

под заказпо запросу
21502007003

Изолятор (Insulator)

под заказ2070 руб.
22502007185

Изолятор (Insulator)

под заказ2430 руб.
23293150104

Pop Заклёпка 3 / 16" (Pop Rivet 3/16")

под заказ80 руб.
23861783600

KIT FASTENER LONG SKID RIVET

под заказ570 руб.
24390402200

Pop Заклёпка 3 / 16" (Pop Rivet 3/16")

под заказ138 руб.
25250100113

Panel Гайка, M6 X 1.0 (Panel Nut, M6 X 1.0)

под заказ242 руб.
26250000722

Torx Винт M6 X 20 (Torx Screw M6 X 20)

под заказ138 руб.
26250000128

TORX-TRUSS M/S GM6047M NYLON PATCH

под заказпо запросу
27502007195

чёрный Нижний поддон Rear в сборе LH (Black Bottom Pan Rear Assy LH)

под заказ6190 руб.
27502007124

BOTTOM-PAN REAR, LH

под заказ5690 руб.
28293150104

Pop Заклёпка 3 / 16" (Pop Rivet 3/16")

под заказ80 руб.
28861783600

KIT FASTENER LONG SKID RIVET

под заказ570 руб.
29502007170

Clear Бампер (Clear Bumper)

под заказ11700 руб.
30293730041

Full Moon Dart 8 mm (Full Moon Dart 8 mm)

под заказ154 руб.
31502007014

LH Бампер Sвышеport (LH Bumper Support)

под заказ6780 руб.
32502007015

RH Бампер Sвышеport (RH Bumper Support)

под заказ6780 руб.
33207664044

Hex. Фланецd Винт M6 X 40 (Hex. Flanged Screw M6 X 40)

под заказ284 руб.
34233261414

Hex. Фланецd Elastic Гайка M6 (Hex. Flanged Elastic Nut M6)

под заказ284 руб.
ski-doo

Время выполнения запроса 1.4553229808807 сек.


 
 

данный сайт носит информационный характер и не является публичной офертой

склад запчастей для водомоторной техники