вконтакте

Контактный телефон: +7 (981) 121-46-93, +7 (800) 200-90-76 , Email: parts-katalog@yandex.ru, где купить

 
 

  Логин:

Пароль:

Регистрация

www.partskatalog.ru Все каталоги Запчасти Mercury Запчасти Suzuki Запчасти Tohatsu Запчасти Honda Контакты



УВАЖАЕМЫЕ КЛИЕНТЫ!
C 19 ДЕКАБРЯ 2025 ПО 02 МАРТА 2026 ГОДА ОТДЕЛ ЗАПЧАСТЕЙ И СЕРВИС РАБОТАТЬ НЕ БУДУТ
ПРОДАЖА ЛОДОЧНЫХ МОТОРОВ В ШТАТНОМ РЕЖИМЕ
ОБ ИЗМЕНЕНИЯХ В ГРАФИКЕ РАБОТЫ ЧИТАЙТЕ НА САЙТА



назад Раздел:   вперёд

Модификация Вашего двигателя:   Honda BF225AK3 XU
Модели с серийным номером двигателя от BEAGJ-1300001 до BEAGJ-9999999
Модели с серийным номером рамы от BAGJ-1800001 до BAGJ-1899999

Вернуться к выбору узлов мотора

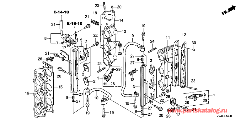
   E-14 Топливопровод / Инжектор
E-14 Fuel Line / Injector      


ДЕТАЛИРОВКА ДЛЯ МОДЕЛИ: HONDA BF225AK3

Двигатель Honda BF225AK3 - E-14 Fuel Line / Injector / E-14 Топливопровод / Инжектор
Номер на
рисунке
АртикулНаименованиеКол-во
на складе
Цена
116450-ZY6-003

Инжектор в сборе, топливо (Injector Assy., Fuel)

под заказ31810 руб. 
216451-ZY3-000

Фиксатор, инжектор 0 (Фиксатор, Инжектор 0)

под заказ0 руб. 
316611-ZY3-A00

Труба, прав. топливопровод 0 (Труба, Прав. Топливопровод 0)

под заказ0 руб. 
416614-P5G-003

Сетка, топливный фильтр (Mesh, Fuel Filter)

под заказ1290 руб. 
516620-ZY3-A00

Труба в комплекте, лев.; топливо 0 (Труба В Комплекте, Лев.; Топливо 0)

под заказ0 руб. 
616740-ZY3-A01

Regulator assy., pressure (Regulator Assy., Pressure)

под заказ18230 руб. 
716741-PG7-005

Уплотнительное кольцо, регулятор давления (O-Ring, Pressure Regulato)

под заказ280 руб. 
816752-ZY3-A00

Соединительный элемент, топливопровод (Joint, Fuel Pipe)

3 шт1320 руб. 
916755-ZY3-003

Шланг в комплекте, топливо 0 (Шланг В Комплекте, Топливо 0)

под заказ0 руб. 
1016757-ZY3-003

Шланг в комплекте, соединение топливной системы (Hose Comp., Fuel Joint)

под заказ16880 руб. 
1117051-ZY3-A00

Основание, прав. инжектор 0 (Основание, Прав. Инжектор 0)

под заказ0 руб. 
1217055-RCA-A01

Прокладка, передн. инжектор; основание (Gasket, Fr. Injector Base)

1 шт9060 руб. 
1317061-ZY3-A00

Основание, лев.; инжектор 0 (Основание, Лев.; Инжектор 0)

под заказ0 руб. 
1417065-RCA-A01

Прокладка, задн. инжектор; основание (Gasket, Rr. Injector Base)

под заказ9060 руб. 
1517105-P8E-A01

Прокладка, впускной коллектор (Gasket, Intake Manifold)

1 шт13720 руб. 
1617108-ZY3-000

Вставка, впускной коллектор (Spacer, Intake Manifold)

под заказ24440 руб. 
1732112-ZY3-000

Кронштейн, фиксатор жгута a 0 (Кронштейн, Фиксатор Жгута A 0)

под заказ0 руб. 
1878419-SJ6-003

Фиксатор d, кабель спидометра 0 (Фиксатор D, Кабель Спидометра 0)

под заказ450 руб. 
1990016-ZW9-000

Болт, фланец, 6x25 (Bolt, Flange, 6X25)

под заказ420 руб. 
2090019-ZW9-000

Болт, фланец, 6x35 (Bolt, Flange, 6X35)

под заказ530 руб. 
2190021-ZY3-000

Болт фланецевый 6x14 (Bolt, Flange, 6X14)

под заказ220 руб. 
2290042-ZY3-000

Болт фланцевый, 6x10 (Bolt, Flange, 6X10)

под заказ220 руб. 
2390043-ZY3-000

Шпилька 8x28 (Bolt, Stud, 8X28)

под заказ430 руб. 
2490044-ZY3-000

Шпилька 8x45 0 (Шпилька 8X45 0)

под заказ0 руб. 
2590205-ZY3-000

Гайка фланцевая, 8 mm (Nut, Flange, 8 Mm)

под заказ180 руб. 
2690650-SB2-003

Фиксатор жгута проводов; 10 mм (Harness Clip; 10 Mm)

под заказ330 руб. 
2791301-MJ0-003

Уплотнительное кольцо, 7.8x1.9 (arai) (O-Ring, 7.8X1.9 (Arai))

под заказ460 руб. 
2891301-PLC-000

Уплотнительное кольцо, 7.47x3.6 (O-Ring, 7.47X3.6)

под заказ420 руб. 
2991302-PNA-003

Уплотнительное кольцо, 7.45x3.61 (nok) (O-Ring, 7.45X3.61 (Nok))

под заказ290 руб. 
3094301-10120

Шпонка, 10x12 (Dowel Pin, 10X12)

под заказ270 руб. 
3195001-35050-40

Патрубок, топливо, 3.5x50 (95001- 0 35001-60m) (Патрубок, Топливо, 3.5X50 (95001- 0 35001-60M))

под заказ0 руб. 

Время выполнения запроса 1.6060290336609 сек.

 
 

данный сайт носит информационный характер и не является публичной офертой

склад запчастей для водомоторной техники