вконтакте

Контактный телефон: +7 (981) 121-46-93, +7 (800) 200-90-76 , Email: parts-katalog@yandex.ru, где купить

 
 

  Логин:

Пароль:

Регистрация

www.partskatalog.ru Все каталоги Запчасти Mercury Запчасти Suzuki Запчасти Tohatsu Запчасти Honda Контакты



УВАЖАЕМЫЕ КЛИЕНТЫ!
C 19 ДЕКАБРЯ 2025 ПО 02 МАРТА 2026 ГОДА ОТДЕЛ ЗАПЧАСТЕЙ И СЕРВИС РАБОТАТЬ НЕ БУДУТ
ПРОДАЖА ЛОДОЧНЫХ МОТОРОВ В ШТАТНОМ РЕЖИМЕ
ОБ ИЗМЕНЕНИЯХ В ГРАФИКЕ РАБОТЫ ЧИТАЙТЕ НА САЙТА



назад Раздел:   вперёд

Модификация Вашего двигателя:   Honda BF50DK4 LRTU
Модели с серийным номером двигателя от BEBEJ-1200001 до BEBEJ-1299999
Модели с серийным номером рамы от BBEJ-1300001 до BBEJ-1399999

Вернуться к выбору узлов мотора

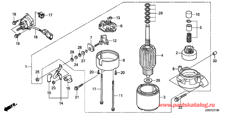
   E-21 Двигатель электростартера
E-21 Starter Motor      


ДЕТАЛИРОВКА ДЛЯ МОДЕЛИ: HONDA BF50DK4

Подвесной  лодочный мотор Хонда BF50DK4 - E-21 Двигатель электростартера - E-21 Starter Motor
Номер на
рисунке
АртикулНаименованиеКол-во
на складе
Цена
131200-ZZ5-003

Стартер в сборе (Motor Assy., Starter)

под заказ173050 руб. 
231207-ZV5-013

Копм. сцепления, обгонная муфта (Clutch Comp., Overrunning)

под заказ54250 руб. 
331216-ZV5-013

Хомут в комплекте (Yoke Comp.)

под заказ62430 руб. 
431217-ZV5-013

Детали якоря. (Armature Comp.)

под заказ72680 руб. 
531225-ZV5-013

Набор стопора, шестерня (Stopper Set, Pinion)

под заказ3780 руб. 
631231-ZV5-013

Комп. держателя, щетка (Holder Comp., Brush)

под заказ13680 руб. 
731233-ZV5-003

Втулка (m) (Bush (M))

под заказ2220 руб. 
831235-ZZ5-003

Комп. кронштейна, передн. 0 (Комп. Кронштейна, Передн. 0)

под заказ0 руб. 
931236-ZV5-013

Комп. кронштейна, задн. (Bracket Comp., Rr.)

под заказ28770 руб. 
1031239-ZV5-003

Колпачок, стопор (Cap, Stopper)

под заказ1750 руб. 
1131261-ZV5-003

Болт, сквозной (Bolt, Through)

под заказ980 руб. 
1231295-ZV5-013

Комп. щетки (Brush Comp.)

под заказ6400 руб. 
1331298-ZV5-013

Пружина, щетка (Spring, Brush)

под заказ460 руб. 
1432402-ZZ5-000

Шнур магнитного переключателя 0 (Шнур Магнитного Переключателя 0)

под заказ0 руб. 
1532411-402-000

Крышка, клемма стартерного двигателя (Cover, Starting Motor Ter)

под заказ180 руб. 
1632412-ZV5-003

Крышка, магнитный переключатель 0 (Крышка, Магнитный Переключатель 0)

под заказ0 руб. 
1732660-MJ6-710

Фиксатор, жгут (Clamper, Cord)

под заказ600 руб. 
1835850-ZZ5-003

Выключатель в сборе, э/магнитный переключатель стартера (Switch Assy., Starter Mag)

под заказ13170 руб. 
1990011-ZZ5-M00

Bolt, flange, 6x14 (ct200 (Bolt, Flange, 6X14 (Ct200)

под заказ300 руб. 
2090015-ZV5-003

Винт, 4mm (Screw, 4Mm)

под заказ220 руб. 
2190016-ZZ5-M00

Bolt, flange, 6x28 (Bolt, Flange, 6X28)

под заказ380 руб. 
2290026-ZZ5-M00

Болт, фланец, 8x45 0 (Болт, Фланец, 8X45 0)

под заказ0 руб. 
2390203-ZV5-000

Гайка, шестигр., 6mm 0 (Гайка, Шестигр., 6Mm 0)

под заказ0 руб. 
2490204-ZV5-003

Гайка 0 (Гайка 0)

под заказ0 руб. 
2590205-ZV5-003

Гайка 0 (Гайка 0)

под заказ0 руб. 
2690404-ZV5-003

Шайба, задн. (Washer, Rr.)

под заказ590 руб. 
2790407-ZV5-003

Шайба 0 (Шайба 0)

под заказ0 руб. 
2890408-ZV5-003

Шайба 0 (Шайба 0)

под заказ0 руб. 
2990409-ZV5-013

Шайба в наборе, упорн. (Washer Set, Thrust)

под заказ2180 руб. 
3094301-10160

Шпонка, 10x16 (Dowel Pin, 10X16)

10 шт210 руб. 

Время выполнения запроса 1.2446789741516 сек.

 
 

данный сайт носит информационный характер и не является публичной офертой

склад запчастей для водомоторной техники