Контактный телефон: +7 (981) 121-46-93, +7 (800) 200-90-76 , Email: parts-katalog@yandex.ru, где купить |
Модификация Вашего двигателя: Honda BF9.9D1 LHSC Вернуться к выбору узлов мотора Румпель |
|||||||||||||||||||||||||||||||||||||||||||||||||||||||||||||||||||||||||||||||||||||||||||||||||||||||||||||||||||||||||||||||||||||||||||||||||||||||||||||||||||||||||||||||||||||||||||||||||||||||
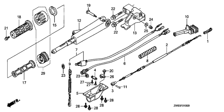
| Номер на рисунке | Артикул | Наименование | Кол-во на складе | Цена | |
| 1 | 17838-ZW9-000 | Стержень подъёмного механизма (Linkage, pivot) | под заказ | 1410 руб. | |
| 2 | 17910-ZW9-003 | Тросик дросселя (Cable comp., throttle) | 1 шт | 5810 руб. | |
| 3 | 17917-ZW9-000 | Стержень кабеля дросселя (Pivot, throttle cable) | 3 шт | 1290 руб. | |
| 4 | 24625-ZV5-000 | Пластина переключателя (Plate, shift) | под заказ | по запросу | |
| 5 | 31127-ZW9-730 | Крышка статора (Cover, stator) | под заказ | 2740 руб. | |
| 6 | 35150-ZW9-731 | Выключатель стартера (Switch assy., starter) | под заказ | 7450 руб. | |
| 7 | 35180-ZW9-003 | Выключатель - аварийный останов двигателя, в сборе (Switch assy., emergency stop) | под заказ | 10300 руб. | |
| 7 | 35180-ZW9-023 | (последний код) SWITCH ASSY., EMERGENCY S | под заказ | 10300 руб. | |
| 8 | 36105-ZW9-003 | Спиральная трубка B (Tube, spiral b) | под заказ | 910 руб. | |
| 9 | 36182-ZV4-650 | Шнур аварийной остановки двигателя (Cord comp., emergency) | под заказ | 3330 руб. | |
| 9 | 36182-ZV4-651 | (последний код) CORD COMP., EMERGENCY | под заказ | 3330 руб. | |
| 10 | 40105-ZV4-000 | Пыльник масляного картера (a) (Grommet, oil case (a)) | под заказ | 3010 руб. | |
| 11 | 53103-ZW9-000 | Штифт кабеля дросселя (Pin, throttle cable) | под заказ | 500 руб. | |
| 12 | 53110-ZW9-000ZA | Ручка румпеля *nh246 * (Handle comp., steering *nh246 *) | под заказ | 26040 руб. | |
| 12 | 53110-ZW9-010ZA | (последний код) HANDLE COMP., STEERING *N | под заказ | 26040 руб. | |
| 13 | 53131-ZW9-700ZA | Кронштейн рулевого управления handle *nh246 * (Bracket, steering handle *nh246 *) | под заказ | 19930 руб. | |
| 13 | 53131-ZW9-C10ZA | (последний код) BRACKET, STEERING HANDLE | под заказ | 16000 руб. | |
| 15 | 53133-ZW9-000 | Фрикционная колодка дросселя (Pad, throttle friction) | 1 шт | 1200 руб. | |
| 17 | 53141-ZW9-000 | Трубка рукоятки (Pipe, grip) | под заказ | 5000 руб. | |
| 18 | 53165-ZW9-000 | Резинка рукоятки (Rubber, grip) | 1 шт | 2100 руб. | |
| 19 | 53171-ZW9-000 | Винт вращения рукоятки (Screw, handle pivot) | под заказ | 1410 руб. | |
| 20 | 90002-SB2-000 | Винт (Screw) | под заказ | 420 руб. | |
| 21 | 90102-ZW9-000 | Фланцевый болт, 6x12 (Bolt, flange, 6x12) | 5 шт | 460 руб. | |
| 22 | 90165-ZW9-000 | Болт с шайбой, 10x55 (Bolt-washer, 10x55) | под заказ | 2040 руб. | |
| 23 | 90302-921-000 | Шестигранная гайка, 16 мм (Nut, hex., 16mm) | 2 шт | 570 руб. | |
| 24 | 90305-ZV4-000 | Гайка с замком, 8 мм (Nut, self-lock, 8mm) | под заказ | 550 руб. | |
| 25 | 90514-921-000 | Шайба, 8 мм (Washer, 8mm) | 2 шт | 320 руб. | |
| 26 | 91475-SB6-000 | Зажим (Clip) | под заказ | 370 руб. | |
| 27 | 93903-243J0 | Винт (Screw) | под заказ | 140 руб. | |
| 29 | 53130-ZW9-000 | Рукоятка в сборе, контроль дросселя (Grip assy., throttle friction) | 1 шт | 5040 руб. | |
Время выполнения запроса 0.48986101150513 сек.
склад запчастей для водомоторной техники