Контактный телефон: +7 (981) 121-46-93, +7 (800) 200-90-76 , Email: parts-katalog@yandex.ru, где купить |
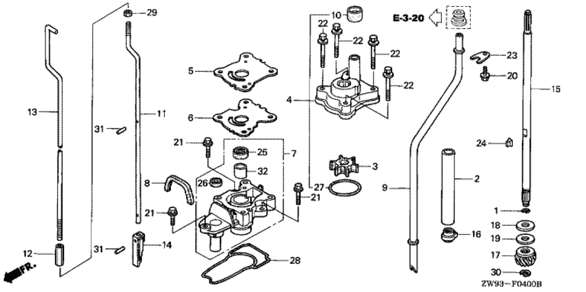
Модификация Вашего двигателя: Honda BF9.9D1 SHSC Вернуться к выбору узлов мотора Водяной насос / Вертикальный вал (l size) |
|||||||||||||||||||||||||||||||||||||||||||||||||||||||||||||||||||||||||||||||||||||||||||||||||||||||||||||||||||||||||||||||||||||||||||||||||||||||||||||||||||||||||||||||||||||||||||||||||||||||||||||||||||||||||||||||||||||||||||||||||||||||||||||||||||
| Номер на рисунке | Артикул | Наименование | Кол-во на складе | Цена | |
| 1 | 12216-ZE2-300 | Зажим направляющей клапана (Clip, valve guide) | 3 шт | 260 руб. | |
| 2 | 15332-ZW9-000 | Направляющая масла (s,l) (Guide, oil (s,l)) | под заказ | 1500 руб. | |
| 3 | 19210-ZW9-003 | Крыльчатка водяной помпы (s,l) (Impeller, pump (s,l)) | под заказ | 3360 руб. | |
| 3 | 19210-ZW9-013 | (последний код) IMPELLER, PUMP (S,L) | 6 шт | 3350 руб. | |
| 4 | 19215-ZW9-000 | Корпус крыльчатки, в сборе (Housing assy., impeller) | под заказ | 9370 руб. | |
| 4 | 19215-ZW9-020 | (последний код) HOUSING ASSY., IMPELLER | под заказ | 9370 руб. | |
| 5 | 19231-ZW9-000 | Колпак крыльчатки (Cover, impeller) | 4 шт | 1530 руб. | |
| 6 | 19232-ZW9-000 | Прокладка крыльчатки (Gasket, impeller) | 5 шт | 350 руб. | |
| 7 | 19240-ZW9-000 | Корпус водяной помпы, комплект (s,l) (Housing comp., water pump (s,l)) | под заказ | 11470 руб. | |
| 7 | 19240-ZW9-C00 | (последний код) HOUSING COMP., WATER PUMP | под заказ | 11470 руб. | |
| 8 | 19243-ZW9-000 | Пыльник корпуса водяной помпы (Grommet, water pump housing) | под заказ | 1140 руб. | |
| 9 | 19251-ZW9-000 | Водяная трубка (s) (Tube, water (s)) | под заказ | 7200 руб. | |
| 10 | 19253-ZW9-000 | Кольцо сальника водяной трубки (Ring, water tube seal) | 3 шт | 690 руб. | |
| 11 | 24311-ZW9-300 | Переключающая тяга B (s) (Rod b, shift (s)) | под заказ | 4660 руб. | |
| 11 | 24311-ZY1-C00 | (последний код) ROD B, SHIFT (S) | под заказ | 4660 руб. | |
| 12 | 24312-ZV7-000 | Соеденитель переключающей тяги (Joint, shift rod) | под заказ | 2350 руб. | |
| 13 | 24320-ZW9-000 | Переключающая тяга A (s) (Rod a, shift (s)) | под заказ | 3700 руб. | |
| 14 | 24341-ZW9-300 | Тяга толкателя (Rod, push) | под заказ | 3980 руб. | |
| 14 | 24341-ZY1-C00 | (последний код) ROD, PUSH | 1 шт | 3980 руб. | |
| 15 | 41112-ZW9-000 | Вертикальный вал (s) (Shaft, vertical (s)) | под заказ | 30470 руб. | |
| 15 | 41112-ZW9-C00 | (последний код) SHAFT, VERTICAL (S) | 2 шт | 30470 руб. | |
| 16 | 41116-ZW9-000 | Маслоотражатель (s,l) (Slinger, oil (s,l)) | под заказ | 1640 руб. | |
| 17 | 41131-ZW9-000 | Шестерня (Gear, pinion) | 2 шт | 9420 руб. | |
| 18 | 41135-ZW9-000 | Шайба A упорного подшипника (Washer a, thrust bearing) | под заказ | 1280 руб. | |
| 19 | 41136-ZW9-000 | Шайба B упорного подшипника (Washer b, thrust bearing) | под заказ | 1280 руб. | |
| 19 | 41137-ZW9-000 | Шайба C упорного подшипника (Washer c, thrust bearing) | под заказ | 1280 руб. | |
| 20 | 90102-ZW9-000 | Фланцевый болт, 6x12 (Bolt, flange, 6x12) | 5 шт | 460 руб. | |
| 21 | 90105-ZW9-000 | Фланцевый болт, 6x20 (Bolt, flange, 6x20) | 2 шт | 640 руб. | |
| 22 | 90121-ZW9-000 | Болт с шайбой, 6x50 (Bolt-washer, 6x50) | 9 шт | 610 руб. | |
| 23 | 90515-ZW9-000 | Пластина для установки водяной трубки (Plate, water tube setting) | под заказ | 580 руб. | |
| 24 | 90752-ZW9-000 | Ключ, woodruff (Key, woodruff) | 4 шт | 520 руб. | |
| 25 | 91252-ZV1-003 | Сальник, 13 мм (arai) (Seal, water, 13mm (arai)) | 4 шт | 750 руб. | |
| 26 | 91253-ZW9-003 | Сальник, 6 мм (Seal, water, 6mm) | 23 шт | 1150 руб. | |
| 27 | 91301-ZG3-000 | Уплотнительное кольцо, 42.2x2.4 (O-ring, 42.2x2.4) | 18 шт | 320 руб. | |
| 28 | 91351-ZW9-000 | Уплотнительное кольцо корпуса водяной помпы (O-ring, water pump housing) | 10 шт | 1250 руб. | |
| 29 | 94001-064-900-S | Гайка (Nut) | под заказ | 200 руб. | |
| 30 | 94540-08018 | Уплотнительное кольцо (E-ring) | 5 шт | 450 руб. | |
| 31 | 96220-25118 | Ролик, 2.5x11.8 (Roller, 2.5x11.8) | под заказ | 50 руб. | |
| 32 | 91553-ZW9-300 | Втулка, 13x15x15 (Bush, 13x15x15) | под заказ | 1290 руб. | |
| 32 | 91553-ZW9-310 | (последний код) BUSH, 13X15X15 | 2 шт | 1290 руб. | |
Время выполнения запроса 0.57880115509033 сек.
склад запчастей для водомоторной техники