вконтакте

Контактный телефон: +7 (981) 121-46-93, +7 (800) 200-90-76 , Email: parts-katalog@yandex.ru, где купить

 
 

  Логин:

Пароль:

Регистрация

www.partskatalog.ru Все каталоги Запчасти Mercury Запчасти Suzuki Запчасти Tohatsu Запчасти Honda Контакты



УВАЖАЕМЫЕ КЛИЕНТЫ!
C 19 ДЕКАБРЯ 2025 ПО 02 МАРТА 2026 ГОДА ОТДЕЛ ЗАПЧАСТЕЙ И СЕРВИС РАБОТАТЬ НЕ БУДУТ
ПРОДАЖА ЛОДОЧНЫХ МОТОРОВ В ШТАТНОМ РЕЖИМЕ
ОБ ИЗМЕНЕНИЯХ В ГРАФИКЕ РАБОТЫ ЧИТАЙТЕ НА САЙТА



назад Раздел:   вперёд

Модификация Вашего двигателя:   Honda BF9.9D1 LHC
Модели с серийным номером двигателя от BEABJ-1001980 до BEABJ-9999999
Модели с серийным номером рамы от BABJ-1001819 до BABJ-1099999

Вернуться к выбору узлов мотора

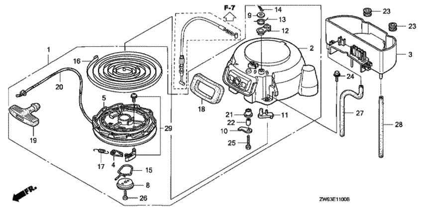
   Барабанный стартер
Recoil Starter      


ДЕТАЛИРОВКА ДЛЯ МОДЕЛИ: HONDA BF9.9D1

Подвесной четырёх тактный лодочный двигатель Honda BF9.9D1 - Барабанный стартер
Номер на
рисунке
АртикулНаименованиеКол-во
на складе
Цена
128400-ZW9-003

Барабанный стартер, в сборе (Starter assy., recoil)

под заказ23720 руб. 
228401-ZW9-003

Кожух барабанного стартера (Case, recoil starter)

под заказ20740 руб. 
328414-ZW9-000

Корпус B стартера (Case b, starter)

под заказ3170 руб. 
428418-ZW9-003

Направляющая барабанного стартера (Guide, recoil starter)

5 шт550 руб. 
528421-ZW9-003

Бобина барабанного стартера (Reel, recoil starter)

2 шт5790 руб. 
828431-ZW9-003

Пластина трения (Plate, friction)

5 шт820 руб. 
928432-ZV4-003

Шайба (Washer)

под заказ550 руб. 
1028433-ZV7-003

Упорная шайба (Washer, thrust)

под заказ650 руб. 
1128435-ZV4-003

Стопор бобины (Stopper, reel)

под заказ1020 руб. 
1228436-ZV4-003

Рычаг ограничителя (Arm, stopper)

под заказ720 руб. 
1328437-ZV4-003

Пружина ограничителя (Spring, stopper)

под заказ290 руб. 
1428438-ZV4-003

Стопорный шплинт (Pin, split)

под заказ210 руб. 
1528441-ZW9-003

Фрикционная пружина (Spring, friction)

6 шт640 руб. 
1628442-ZW9-003

Пружина барабанного стартера (Spring, recoil starter)

1 шт4240 руб. 
1728443-ZW9-003

Возвратная пружина (Spring, return)

6 шт420 руб. 
1828455-ZW9-000

Уплотнение стартера (Seal, recoil)

под заказ2810 руб. 
1928461-ZV4-003

Рукоятка стартера (Grip, starter)

под заказ1820 руб. 
1928461-ZV4-013

(последний код) GRIP, STARTER

под заказ1520 руб. 
2028462-ZV4-003

Шнур барабанного стартера (Rope, recoil starter)

под заказ1700 руб. 
2128471-ZV7-003

Ролик стартера (Roller, starter)

под заказ2740 руб. 
2228476-ZV7-003

Направляющая ролика (Guide, roller)

под заказ570 руб. 
2380103-GJ5-000

Пыльник крышки двигателя (Grommet, engine cover)

под заказ370 руб. 
2490003-ZW9-000

Фланцевый болт, 6x22 (Bolt, flange, 6x22)

под заказ420 руб. 
2590021-ZV4-003

Болт под шестигранник., 6x25 (Bolt, hex., 6x25)

под заказ300 руб. 
2690022-ZV4-003

Болт под шестигранник., 6x14 (Bolt, hex., 6x14)

6 шт350 руб. 
2791403-ZW9-000

Водяная дренажная трубка (Tube, water drain)

под заказ1360 руб. 
2895005-802-403-0

Трубка, 8x240 (95005-80001-30m) (Tube, 8x240 (95005-80001-30m))

под заказ480 руб. 
2904284-ZY1-000

Храповик стартера, комплект (Ratchet set, starter)

4 шт1170 руб. 

Время выполнения запроса 0.84747409820557 сек.

 
 

данный сайт носит информационный характер и не является публичной офертой

склад запчастей для водомоторной техники