вконтакте

Контактный телефон: +7 (981) 121-46-93, +7 (800) 200-90-76 , Email: parts-katalog@yandex.ru, где купить

 
 

  Логин:

Пароль:

Регистрация

www.partskatalog.ru Все каталоги Запчасти Mercury Запчасти Suzuki Запчасти Tohatsu Запчасти Honda Контакты

назад Раздел:   вперёд

Модификация Вашего двигателя:   Honda BF9.9AK SCS
Модели с серийным номером двигателя от BABE-1100001 до BABE-1199999
Модели с серийным номером рамы от BABS-1100001 до BABS-1199999

Вернуться к выбору узлов мотора

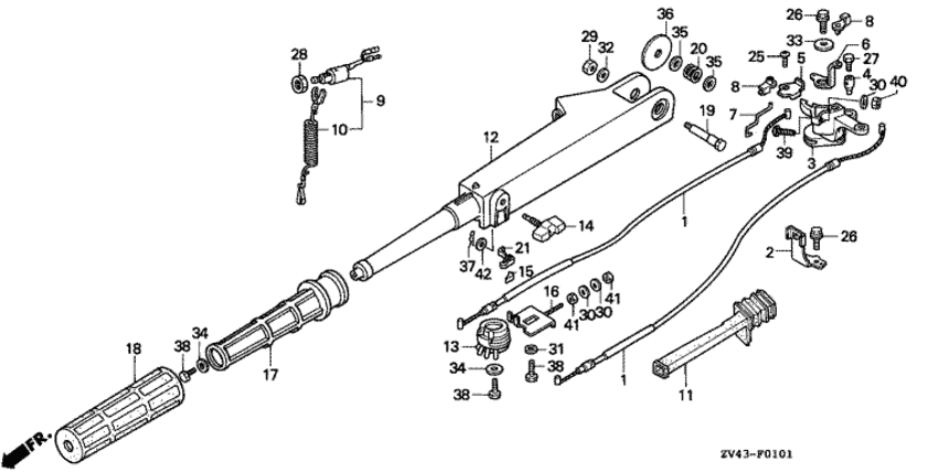
   Румпель (bf9.9am / b / bf15am / b)
Steering Handle (bf9.9am / B / Bf15am / B)      


ДЕТАЛИРОВКА ДЛЯ МОДЕЛИ: HONDA BF9.9AK

Подвесной  лодочный двигатель BF9.9AK - Румпель (bf9.9am / b / bf15am / b) / Steering Handle (bf9.9am / B / Bf15am / B)

Время выполнения запроса 0.17007112503052 сек.

 
 

данный сайт носит информационный характер и не является публичной офертой

склад запчастей для водомоторной техники