Контактный телефон: +7 (981) 121-46-93, +7 (800) 200-90-76 , Email: parts-katalog@yandex.ru, где купить |
Модификация Вашего двигателя: Honda BF9.9AK LD Вернуться к выбору узлов мотора Румпель (bf9.9ah / k / bf15ah / k) |
|||||||||||||||||||||||||||||||||||||||||||||||||||||||||||||||||||||||||||||||||||||||||||||||||||||||||||||||||||||||||||||||||||||||||||||||||||||||||||||||||||||||||||||||||||||||||||||||||||||||||||||||||||||||||||||||||||||||||||||||||||||||||||||||||||||||||||||||||||||
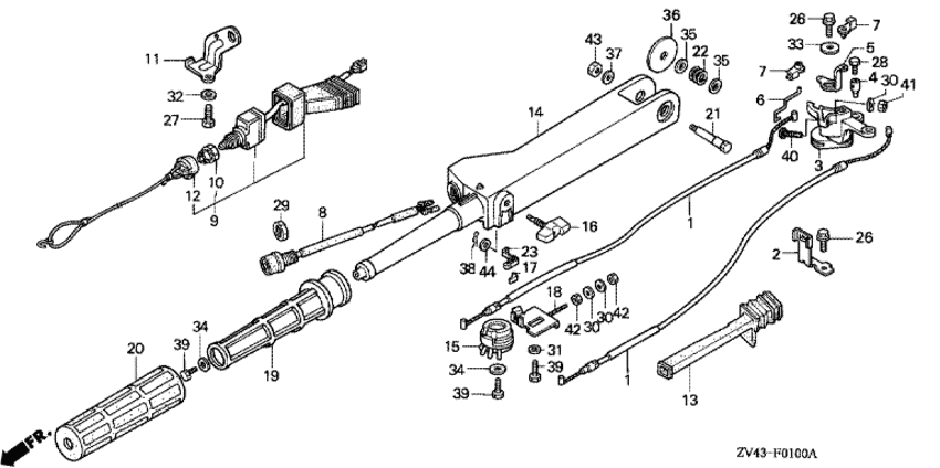
| Номер на рисунке | Артикул | Наименование | Кол-во на складе | Цена | |
| 1 | 17910-ZV4-000 | Тросик дросселя (Cable comp., throttle) | 2 шт | 1820 руб. | |
| 2 | 17922-ZV4-000 | Струбцина кабеля дросселя (Clamp, throttle cable) | под заказ | по запросу | |
| 2 | 17922-ZV4-010 | Струбцина кабеля дросселя (Clamp, throttle cable) | под заказ | по запросу | |
| 3 | 17931-ZV4-010 | Рукоятка дроссельной заслонки (Arm, throttle) | под заказ | 1970 руб. | |
| 4 | 17933-ZV4-000 | Держатель тяги дросселя (Holder, throttle rod) | 6 шт | 1190 руб. | |
| 5 | 17952-ZV4-000 | Рычаг дросселя (Arm, choke) | под заказ | по запросу | |
| 6 | 17955-ZV4-000 | Тяга ручки дросселя (Rod, choke knob) | под заказ | по запросу | |
| 7 | 17957-ZV4-000 | Связующая втулка (Bush, linkage) | 1 шт | 260 руб. | |
| 8 | 36100-ZV4-013 | Кнопка остановки двигателя (Switch assy., kill) | под заказ | 3490 руб. | |
| 9 | 36180-ZV4-003 | Выключатель - аварийный останов двигателя, в сборе (Switch assy., emergency stop) | под заказ | по запросу | |
| 10 | 36181-ZV4-003 | Гайка с колпачком (Nut, cap) | под заказ | по запросу | |
| 11 | 36182-ZV4-000 | Кронштейн, emergency stop Переключатель (Bracket, emergency stop switch) | под заказ | по запросу | |
| 12 | 36183-ZV4-003 | Колпачок (Cap comp.) | под заказ | 3900 руб. | |
| 13 | 40105-ZV4-000 | Пыльник масляного картера (a) (Grommet, oil case (a)) | под заказ | 3010 руб. | |
| 14 | 53101-ZV4-020ZA | Ручка руля (румпель) *nh210mc * (Handle, steering *nh210mc *) | под заказ | 16230 руб. | |
| 15 | 53102-ZV4-000 | Барабан, Кабели (Reel, cable) | под заказ | 1240 руб. | |
| 16 | 53104-ZV4-010 | Фрикционный болт (Bolt, friction) | под заказ | 840 руб. | |
| 17 | 53106-ZV4-000 | Блокировка дросселя (Block, throttle friction) | под заказ | 260 руб. | |
| 18 | 53130-ZV4-000 | Регулировочная пластина (Plate comp., adjusting) | под заказ | по запросу | |
| 19 | 53141-ZV4-000 | Трубка рукоятки (Pipe, grip) | под заказ | 3160 руб. | |
| 20 | 53165-ZV4-000 | Резинка рукоятки (Rubber, grip) | под заказ | 2050 руб. | |
| 21 | 53171-921-000 | Винт вращения рукоятки (Screw, handle pivot) | под заказ | 2650 руб. | |
| 22 | 53172-921-003 | Пружина вращающейся рукоятки (Spring, handle pivot) | под заказ | по запросу | |
| 23 | 53173-ZV4-000 | Пружина фрикции дросселя (Spring, throttle friction) | под заказ | 400 руб. | |
| 26 | 90013-ZV0-000 | Фланцевый болт, 6x12 (Bolt, flange, 6x12) | под заказ | 350 руб. | |
| 27 | 90110-881-000 | Болт под шестигранник., 6x14 (Bolt, hex., 6x14) | под заказ | 340 руб. | |
| 28 | 90116-ZV1-000 | Болт (Bolt) | 6 шт | 230 руб. | |
| 29 | 90302-921-000 | Шестигранная гайка, 16 мм (Nut, hex., 16mm) | 2 шт | 570 руб. | |
| 30 | 90452-GK4-600 | Плоская шайба, 5 мм (Washer, plain, 5mm) | под заказ | 250 руб. | |
| 31 | 90504-921-010 | Плоская шайба, 6 мм (Washer, plain, 6mm) | 6 шт | 330 руб. | |
| 32 | 90506-ZV4-000 | Плоская шайба, 6 мм (Washer, plain, 6mm) | 4 шт | 380 руб. | |
| 33 | 90511-ZV4-000 | Плоская шайба, 6 мм (Washer, plain, 6mm) | под заказ | 440 руб. | |
| 34 | 90512-921-010 | Шайба, 6 мм (Washer, 6mm) | 6 шт | 380 руб. | |
| 35 | 90514-ZV4-000 | Шайба, 10 мм (Washer, 10mm) | под заказ | 420 руб. | |
| 36 | 90516-ZV4-000 | Шайба, Румпель (Washer, steering handle) | под заказ | по запросу | |
| 37 | 90507-ZV4-000 | Плоская шайба, 8 мм (Washer, plain, 8mm) | под заказ | 360 руб. | |
| 38 | 90759-ZV1-000 | Стопорный шплинт, 2.0 (Pin, split, 2.0) | 2 шт | 230 руб. | |
| 39 | 92101-06012-4J | Болт под шестигранник., 6x12 (Bolt, hex., 6x12) | под заказ | 240 руб. | |
| 40 | 93500-050-404-J | Винт с чашечкой, 5x40 (Screw, pan, 5x40) | под заказ | по запросу | |
| 41 | 94001-054900S | Шестигранная гайка, 5 мм (Nut, hex., 5mm) | 1 шт | 110 руб. | |
| 42 | 94002-054-900-S | Шестигранная гайка, 5 мм (Nut, hex., 5mm) | под заказ | 110 руб. | |
| 43 | 90306-ZV4-000 | Шестигранная гайка, 8 мм (Nut, hex., 8mm) | под заказ | по запросу | |
| 44 | 94101-04200 | Плоская шайба, 4 мм (Washer, plain, 4mm) | под заказ | 90 руб. | |
Время выполнения запроса 0.99353885650635 сек.
склад запчастей для водомоторной техники