вконтакте

Контактный телефон: +7 (981) 121-46-93, +7 (800) 200-90-76 , Email: parts-katalog@yandex.ru, где купить

 
 

  Логин:

Пароль:

Регистрация

www.partskatalog.ru Все каталоги Запчасти Mercury Запчасти Suzuki Запчасти Tohatsu Запчасти Honda Контакты

назад Раздел:   вперёд

Модификация Вашего двигателя:   Honda BF9.9AH SD
Модели с серийным номером двигателя от BABE-1000001 до BABE-1099999
Модели с серийным номером рамы от BABS-1000001 до BABS-1099999

Вернуться к выбору узлов мотора

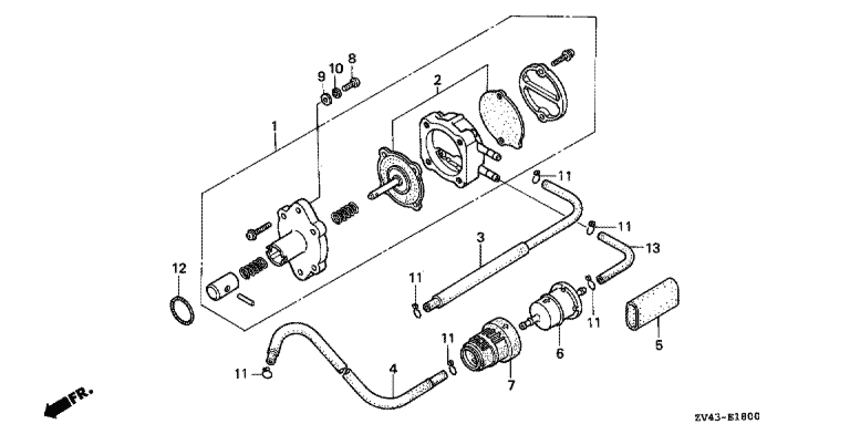
   Топливный насос
Fuel Pump      


ДЕТАЛИРОВКА ДЛЯ МОДЕЛИ: HONDA BF9.9AH

Подвесной  лодочный двигатель Honda BF9.9AH - Fuel Pump - Топливный насос
Номер на
рисунке
АртикулНаименованиеКол-во
на складе
Цена
116700-ZV4-005

Топливный насос, в сборе (Pump assy., fuel)

под заказ18370 руб. 
216705-ZV4-005

Диафрагма comp (Diaphragm comp)

под заказ2240 руб. 
316850-ZV4-000

Топливная трубка (a) (Tube comp., fuel (a))

под заказ1180 руб. 
416860-ZV4-000

Топливная трубка (b) (Tube comp., fuel (b))

под заказ1290 руб. 
516865-ZV4-000

Защита трубки (Protector, tube)

под заказпо запросу 
616910-ZV4-005

Топливный фильтр (сетчатый) (Strainer comp., fuel)

под заказ2180 руб. 
616910-ZV4-015

(последний код) STRAINER COMP., FUEL

3 шт1900 руб. 
716915-ZV4-000

Подвес для топливного фильтра (Suspension, strainer)

под заказ780 руб. 
890021-ZV4-000

Винт с чашечкой, 6x22 (Screw, pan, 6x22)

под заказпо запросу 
990566-ZV4-000

Плоская шайба, 6.2 мм (Washer, plain, 6.2mm)

под заказпо запросу 
1090567-ZV4-000

Пружинистая шайба, 6 мм (Washer, spring, 6mm)

под заказпо запросу 
10 9411106400

Пружинистая шайба (6 мм) (Washer, spring (6mm))

под заказпо запросу 
1190603-ZV4-000

Зажим трубки (b10) (Clip, tube (b10))

под заказ270 руб. 
1291306-921-000

Уплотнительное кольцо, 20.8x2.4 (O-ring, 20.8x2.4)

под заказ440 руб. 
1291351-MG7-003

(последний код) O-RING 20.6X2.4

3 шт440 руб. 
1395001-550-904-0

Топливный шланг, 5.3x90 (95001-55001-60m) (Tube, fuel, 5.3x90 (95001-55001-60m))

под заказпо запросу 

Время выполнения запроса 0.49976301193237 сек.

 
 

данный сайт носит информационный характер и не является публичной офертой

склад запчастей для водомоторной техники