вконтакте

Контактный телефон: +7 (981) 121-46-93, +7 (800) 200-90-76 , Email: parts-katalog@yandex.ru, где купить

 
 

  Логин:

Пароль:

Регистрация

www.partskatalog.ru Все каталоги Запчасти Mercury Запчасти Suzuki Запчасти Tohatsu Запчасти Honda Контакты



УВАЖАЕМЫЕ КЛИЕНТЫ!
C 19 ДЕКАБРЯ 2025 ПО 02 МАРТА 2026 ГОДА ОТДЕЛ ЗАПЧАСТЕЙ И СЕРВИС РАБОТАТЬ НЕ БУДУТ
ПРОДАЖА ЛОДОЧНЫХ МОТОРОВ В ШТАТНОМ РЕЖИМЕ
ОБ ИЗМЕНЕНИЯХ В ГРАФИКЕ РАБОТЫ ЧИТАЙТЕ НА САЙТА



назад Раздел:   вперёд

Модификация Вашего двигателя:   Honda B75K3 SD
Модели с серийным номером двигателя от B75-4000001 до B75-4009560
Модели с серийным номером рамы от B75-4000001 до B75-4009560

Вернуться к выбору узлов мотора

   Монтажная рама / Верхняя монтажная резинка
Mount Frame / Upper Mount Rubber      


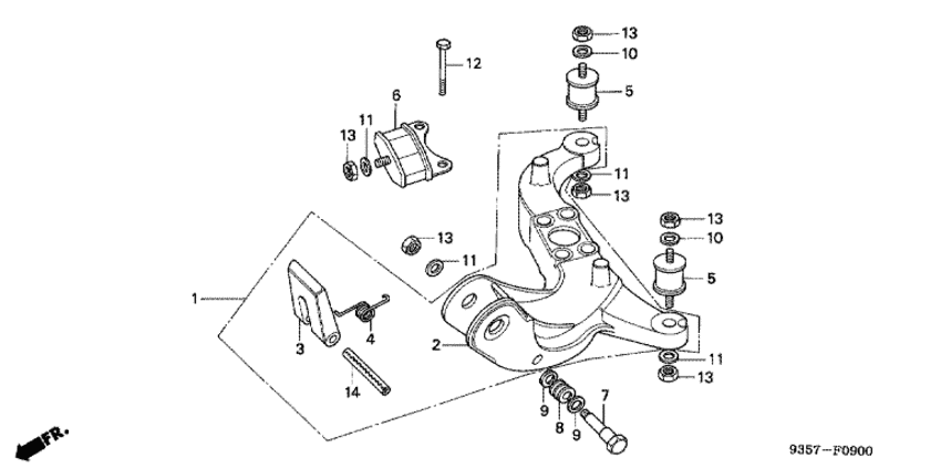
ДЕТАЛИРОВКА ДЛЯ МОДЕЛИ: HONDA B75K3

Лодочный 4x-тактный мотор B75K3 - Mount Frame / Upper Mount Rubber
Номер на
рисунке
АртикулНаименованиеКол-во
на складе
Цена
150100-921-020-N

Монтажная рама (Frame comp., mounting)

под заказпо запросу 
150100-921-020XK

Монтажная рама (Frame comp., mounting)

под заказпо запросу 
250101-921-320-N

Монтажная рама (Frame, mount)

под заказпо запросу 
250101-921-320XK

Монтажная рама (Frame, mount)

под заказпо запросу 
350111-921-300-N

Стопор, handle (Stopper, handle)

под заказпо запросу 
350111-921-300XK

Стопор, handle (Stopper, handle)

под заказпо запросу 
450112-921-300

Пружина, handle (Spring, handle)

под заказпо запросу 
550130-935-010

Rubber, вышеper mount (Rubber, upper mount)

под заказпо запросу 
650140-935-000

Rubber, thrust mount (Rubber, thrust mount)

под заказпо запросу 
753171-921-000

Винт вращения рукоятки (Screw, handle pivot)

под заказ2650 руб. 
853172-921-003

Пружина вращающейся рукоятки (Spring, handle pivot)

под заказпо запросу 
990511-921-000

Плоская шайба, 10 мм (Washer, plain, 10mm)

1 шт180 руб. 
1090514-921-000

Шайба, 8 мм (Washer, 8mm)

2 шт320 руб. 
1190518-921-000

Плоская шайба, 8 мм (Washer, plain, 8mm)

под заказ150 руб. 
1292000-06040-49

Болт под шестигранник., 6x40 (Bolt, hex., 6x40)

под заказпо запросу 
1394002-084-900-S

Шестигранная гайка, 8 мм (Nut, hex., 8mm)

под заказ230 руб. 
1494305-60503

Стопор пружины, 6x50 (Pin, spring, 6x50)

под заказпо запросу 

Время выполнения запроса 9.8294811248779 сек.

 
 

данный сайт носит информационный характер и не является публичной офертой

склад запчастей для водомоторной техники