вконтакте

Контактный телефон: +7 (981) 121-46-93, +7 (800) 200-90-76 , Email: parts-katalog@yandex.ru, где купить

 
 

  Логин:

Пароль:

Регистрация

www.partskatalog.ru Все каталоги Запчасти Mercury Запчасти Suzuki Запчасти Tohatsu Запчасти Honda Контакты



УВАЖАЕМЫЕ КЛИЕНТЫ!
C 19 ДЕКАБРЯ 2025 ПО 02 МАРТА 2026 ГОДА ОТДЕЛ ЗАПЧАСТЕЙ И СЕРВИС РАБОТАТЬ НЕ БУДУТ
ПРОДАЖА ЛОДОЧНЫХ МОТОРОВ В ШТАТНОМ РЕЖИМЕ
ОБ ИЗМЕНЕНИЯХ В ГРАФИКЕ РАБОТЫ ЧИТАЙТЕ НА САЙТА



назад Раздел:   вперёд

Модификация Вашего двигателя:   Honda B75K2 LD
Модели с серийным номером двигателя от B75-3000001 до B75-3018270
Модели с серийным номером рамы от B75-3000001 до B75-3018270

Вернуться к выбору узлов мотора

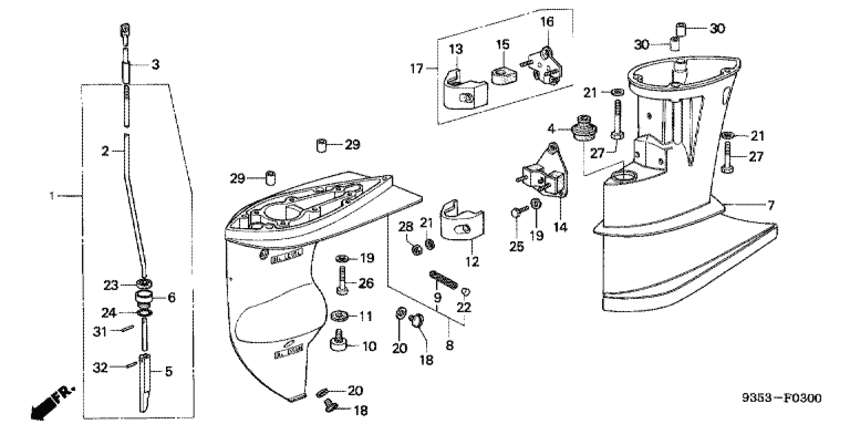
   Картер коробки передач / Удлинение корпуса / Переключающая тяга
Gear Case / Extension Case / Shift Rod      


ДЕТАЛИРОВКА ДЛЯ МОДЕЛИ: HONDA B75K2

Подвесной  лодочный двигатель Honda B75K2 - Картер коробки передач / Удлинение корпуса / Переключающая тяга / Gear Case / Extension Case / Shift Rod
Номер на
рисунке
АртикулНаименованиеКол-во
на складе
Цена
124310-935-700

Переключающая тяга (Rod comp., shift)

под заказпо запросу 
224311-935-700

Rod, shift (Rod, shift)

под заказпо запросу 
324312-921-020

Joint, change rod (Joint, change rod)

под заказпо запросу 
424313-921-003

Пыльник тяги (arai) (Grommet, rod (arai))

под заказ1200 руб. 
524341-935-300

Тяга толкателя (Rod, push)

под заказпо запросу 
624343-921-300

Держатель сальника (Holder, seal)

под заказпо запросу 
740201-935-700-N

Удлинитель копуса (Case, extension)

под заказпо запросу 
740201-935-700XK

Удлинитель копуса (Case, extension)

под заказпо запросу 
841100-935-010-N

Корпус "ноги" (Case comp., gear)

под заказпо запросу 
841100-935-010XK

Корпус "ноги" (Case comp., gear)

под заказпо запросу 
841100-935-020-N

Корпус "ноги" (Case comp., gear)

под заказпо запросу 
841100-935-020XK

Корпус "ноги" (Case comp., gear)

под заказпо запросу 
941104-921-320

Водяной экран (Screen, water)

под заказпо запросу 
1041106-935-000

Металлический анод (Metal comp., anode)

под заказпо запросу 
1141107-935-000

Rubber, insulate (Rubber, insulate)

под заказпо запросу 
1250121-921-050-N

Кожух, установленный снизу (Housing, lower mounting)

под заказпо запросу 
1250121-921-050XK

Кожух, установленный снизу (Housing, lower mounting)

под заказпо запросу 
1350121-935-000-N

Кожух, установленный снизу (Housing, lower mounting)

под заказпо запросу 
1350121-935-000XK

Кожух, установленный снизу (Housing, lower mounting)

под заказпо запросу 
1450150-935-003

Резинка, смонтированная снизу (Rubber, lower mount)

под заказпо запросу 
1550151-935-000

Резинка, смонтированная снизу (Rubber, lower mount)

под заказпо запросу 
1650152-935-000

Пластина comp., lower mount (Plate comp., lower mount)

под заказпо запросу 
1750160-935-305-N

Mount set, lower (Mount set, lower)

под заказпо запросу 
1750160-935-305XK

Mount set, lower (Mount set, lower)

под заказпо запросу 
1890105-921-000

Болт контроля уровня масла (Bolt, oil check)

под заказ570 руб. 
1990504-921-010

Плоская шайба, 6 мм (Washer, plain, 6mm)

6 шт330 руб. 
2090507-921-000

Нейлоновая шайба, 8 мм (Washer, nylon, 8mm)

12 шт120 руб. 
2190518-921-000

Плоская шайба, 8 мм (Washer, plain, 8mm)

под заказ150 руб. 
2290855-921-300

Заглушка, Сальникing, 10 мм (Plug, sealing, 10mm)

под заказ100 руб. 
2391253-921-003

Гидрозатвор, 6 мм (Water seal, 6mm)

под заказ1050 руб. 
2491312-700-000

Уплотнительное кольцо, 9.4x2.4 (O-ring, 9.4x2.4)

под заказпо запросу 
2491304-107-000

Уплотнительное кольцо (9.4x2.4) (O-ring (9.4x2.4))

под заказ220 руб. 
2491304-KK3-830

(последний код) O-RING, 9.4X2.4

под заказ220 руб. 
2592000-06012-49

Болт под шестигранник., 6x12 (Bolt, hex., 6x12)

под заказпо запросу 
2692000-06040-49

Болт под шестигранник., 6x40 (Bolt, hex., 6x40)

под заказпо запросу 
2792000-08050-4J

Болт под шестигранник., 8x50 (Bolt, hex., 8x50)

под заказпо запросу 
2894002-084-900-S

Шестигранная гайка, 8 мм (Nut, hex., 8mm)

под заказ230 руб. 
2994301-08100

Шпонка (Dowel pin)

под заказ240 руб. 
3094301-10140

Штифт a (Pin a)

под заказ270 руб. 
3194305-25122

Штифт (Pin)

под заказ150 руб. 
3296220-25118

Ролик, 2.5x11.8 (Roller, 2.5x11.8)

под заказ50 руб. 

Время выполнения запроса 2.6870431900024 сек.

 
 

данный сайт носит информационный характер и не является публичной офертой

склад запчастей для водомоторной техники