Контактный телефон: +7 (981) 121-46-93, +7 (800) 200-90-76 , Email: parts-katalog@yandex.ru, где купить |
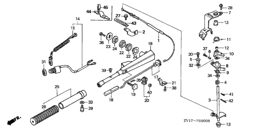
Модификация Вашего двигателя: Honda BF4.5B6 SBK Вернуться к выбору узлов мотора Румпель / Тросик дросселя |
|||||||||||||||||||||||||||||||||||||||||||||||||||||||||||||||||||||||||||||||||||||||||||||||||||||||||||||||||||||||||||||||||||||||||||||||||||||||||||||||||||||||||||||||||||||||||||||||||||||||||||||||||||||||||||||||||||||||||||||||||||||||||||||||||||||||||||||||||||||||||||||||||||||||||||||||||||||||||||||||||||||
| Номер на рисунке | Артикул | Наименование | Кол-во на складе | Цена | |
| 1 | 17910-ZV1-000 | Тросик дросселя (Cable comp., throttle) | под заказ | 1820 руб. | |
| 1 | 17910-ZV1-003 | (последний код) CABLE COMP., THROTTLE | 1 шт | 2800 руб. | |
| 2 | 17921-ZV1-020 | Держатель кабеля (Holder, cable) | под заказ | 1180 руб. | |
| 3 | 17930-ZV1-020 | Вал дросселя (Shaft comp., throttle) | под заказ | 5130 руб. | |
| 4 | 17932-ZV1-000 | Пружина рычага дросселя (Spring, throttle arm) | под заказ | 410 руб. | |
| 5 | 17933-ZV1-000 | Держатель тяги дросселя (Holder, throttle rod) | 1 шт | 1010 руб. | |
| 6 | 17934-ZV1-000 | Пружина регулировки дроссельной заслонки (Spring, throttle adjusting) | под заказ | 140 руб. | |
| 7 | 17935-ZV1-010 | Держатель вала дросселя (Stay, throttle shaft) | под заказ | 3040 руб. | |
| 8 | 17936-ZV1-000 | Соеденитель дросселя (Link comp., throttle) | под заказ | 1510 руб. | |
| 9 | 17937-ZV1-000 | Возвратная пружина (Spring, return) | под заказ | 380 руб. | |
| 10 | 17941-ZV1-000 | Powl, neutral start (Powl, neutral start) | 2 шт | 1510 руб. | |
| 11 | 17942-ZV1-000 | Пружина, powl (Spring, powl) | 1 шт | 430 руб. | |
| 12 | 17943-ZV1-000 | Воротник, powl (Collar, powl) | 1 шт | 610 руб. | |
| 13 | 24621-921-010 | Втулка вала (Bush, shaft) | под заказ | 760 руб. | |
| 14 | 36180-ZV1-A03 | Выключатель - аварийный останов двигателя, в сборе (Switch assy., emergency stop) | под заказ | 10650 руб. | |
| 14 | 36180-ZV1-A05 | (последний код) SWITCH ASSY., EMERGENCY S | под заказ | 10010 руб. | |
| 14 | 36180-ZV1-A04 | Выключатель - аварийный останов двигателя, в сборе (Switch assy., emergency stop) | под заказ | 10650 руб. | |
| 15 | 36182-ZV4-650 | Шнур аварийной остановки двигателя (Cord comp., emergency) | под заказ | 3330 руб. | |
| 15 | 36182-ZV4-651 | (последний код) CORD COMP., EMERGENCY | под заказ | 3330 руб. | |
| 16 | 53101-ZV1-A00ZB | Ручка руля (румпель) *nh282mu * (Handle, steering *nh282mu *) | под заказ | 20160 руб. | |
| 16 | 53101-ZV1-C00ZA | (последний код) HANDLE,S*NH282MU* | под заказ | 20160 руб. | |
| 17 | 53102-ZV1-000 | Барабан дросселя (Reel comp., throttle) | под заказ | 6900 руб. | |
| 18 | 53103-ZV1-000 | Утяжелитель румпеля (Weight, steering handle) | под заказ | 1910 руб. | |
| 19 | 53104-ZV1-000 | Фрикционный болт (Bolt, friction) | под заказ | 1220 руб. | |
| 20 | 53106-ZV1-000 | Блокировка дросселя (Block, throttle friction) | под заказ | 800 руб. | |
| 21 | 53108-ZV1-000 | Тормоз барабана дросселя (Stay a, throttle reel) | под заказ | 1020 руб. | |
| 22 | 53109-ZV1-000 | Монтажная резинка румпеля (Rubber, handle mounting) | 2 шт | 980 руб. | |
| 23 | 53111-ZV1-000 | Пластина румпеля (Plate, steering handle) | под заказ | 1050 руб. | |
| 23 | 53111-ZV1-010 | (последний код) PLATE, STEERING HANDLE | под заказ | 1050 руб. | |
| 24 | 53112-ZV1-000 | Воротник румпеля (Collar, steering handle) | 2 шт | 920 руб. | |
| 25 | 53140-ZV1-A00 | Трубка рукоятки, комплект (Pipe comp., grip) | под заказ | 4210 руб. | |
| 26 | 53165-ZV1-A00 | Резинка рукоятки (Rubber, grip) | под заказ | 1240 руб. | |
| 27 | 90013-ZV0-010 | Фланцевый болт, 6x12 (Bolt, flange, 6x12) | под заказ | 350 руб. | |
| 27 | 90011-ZW9-000 | Фланцевый болт, 6x14 (ct200) (Bolt, flange, 6x14 (ct200)) | под заказ | 370 руб. | |
| 29 | 90106-ZV1-000 | Болт трубки рукоятки (Bolt, pipe grip) | под заказ | 740 руб. | |
| 30 | 90116-ZV1-000 | Болт (Bolt) | 6 шт | 230 руб. | |
| 31 | 90302-921-000 | Шестигранная гайка, 16 мм (Nut, hex., 16mm) | 2 шт | 570 руб. | |
| 32 | 90507-ZV1-000 | Нейлоновая шайба, 9 мм (Washer, nylon, 9mm) | под заказ | 340 руб. | |
| 33 | 90508-ZV1-000 | Шайба, 7.5 мм (Washer, 7.5mm) | под заказ | 650 руб. | |
| 34 | 90511-921-000 | Плоская шайба, 10 мм (Washer, plain, 10mm) | 1 шт | 180 руб. | |
| 35 | 90759-ZV1-000 | Стопорный шплинт, 2.0 (Pin, split, 2.0) | 2 шт | 230 руб. | |
| 36 | 92101-06016-4J | Болт под шестигранник., 6x16 (Bolt, hex., 6x16) | под заказ | 240 руб. | |
| 37 | 93500-040-164-J | Винт (Screw) | под заказ | 140 руб. | |
| 37 | 93500-040-204-J | Винт с чашечкой, 4x20 (Screw, pan, 4x20) | под заказ | 100 руб. | |
| 38 | 93500-050-124-J | Винт (Screw) | под заказ | 150 руб. | |
| 39 | 93700-060-124-J | Овальный винт, 6x12 (Screw, oval, 6x12) | под заказ | 240 руб. | |
| 40 | 94002-064900S | Шестигранная гайка, 6 мм (Nut, hex., 6mm) | под заказ | 150 руб. | |
| 41 | 94305-30183 | Штифт (Pin) | под заказ | 120 руб. | |
| 42 | 94305-30323 | Стопор пружины, 3x32 (Pin, spring, 3x32) | под заказ | 240 руб. | |
| 44 | 16818-ZV1-000 | Держатель топливной трубки (Stay, fuel tube) | под заказ | по запросу | |
| 45 | 90659-KG4-000 | Струбцина под жгут проводов, 8 мм (Clamp, wire, 8mm) | под заказ | по запросу | |
Время выполнения запроса 0.86563086509705 сек.
склад запчастей для водомоторной техники