Контактный телефон: +7 (981) 121-46-93, +7 (800) 200-90-76 , Email: parts-katalog@yandex.ru, где купить |
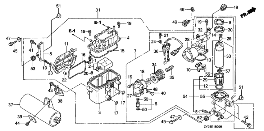
Модификация Вашего двигателя: Honda BF225A2 XCC Вернуться к выбору узлов мотора Пароотделитель в сборе. |
||||||||||||||||||||||||||||||||||||||||||||||||||||||||||||||||||||||||||||||||||||||||||||||||||||||||||||||||||||||||||||||||||||||||||||||||||||||||||||||||||||||||||||||||||||||||||||||||||||||||||||||||||||||||||||||||||||||||||||||||||||||||||||||||||||||||||||||||||||||||||||||||||||||||||||||||||||||||||||||||||||||||||||||||||||||||||||||||||||||||
| Номер на рисунке | Артикул | Наименование | Кол-во на складе | Цена | |
| 1 | 16011-ZY3-000 | Клапан поплавка, набор (Valve set, float) | под заказ | 9780 руб. | |
| 2 | 16013-ZY3-000 | Поплавок, набор (Float set) | под заказ | 16550 руб. | |
| 3 | 16015-ZY3-000 | Корпус (Body) | под заказ | 0 руб. | |
| 4 | 16020-ZY3-000 | Крышка (Cover comp.) | под заказ | по запросу | |
| 5 | 16024-ZY3-000 | Дренажный винт, комплект (Screw set, drain) | под заказ | 2400 руб. | |
| 6 | 16026-ZY3-000 | Соеденительный комплект (Joint set) | под заказ | 1680 руб. | |
| 7 | 16030-ZY3-000 | Модуль топливного насоса (Pump unit, fuel) | под заказ | 148400 руб. | |
| 8 | 16031-ZY3-000 | Остановочная пластина (Stay, plate) | под заказ | по запросу | |
| 9 | 16041-ZY3-000 | Пластина (Plate) | под заказ | 1660 руб. | |
| 10 | 16042-ZY3-000 | Держатель (Holder) | под заказ | 1800 руб. | |
| 11 | 16061-ZY3-000 | Крышка водяной рубашки (Cover, water jacket) | под заказ | 0 руб. | |
| 12 | 16072-ZY3-000 | Уплотнительное кольцо (O-ring) | под заказ | 1710 руб. | |
| 13 | 16073-ZY3-000 | Уплотнительное кольцо (O-ring) | под заказ | 2260 руб. | |
| 14 | 16074-ZY3-000 | Уплотнительное кольцо (O-ring) | под заказ | 1210 руб. | |
| 14 | 91301-P2F-A01 | Уплотнительное кольцо (O-ring) | под заказ | 1270 руб. | |
| 15 | 16075-ZY3-000 | Уплотнительное кольцо (O-ring) | под заказ | 3210 руб. | |
| 16 | 16076-ZY3-000 | Уплотнительное кольцо (O-ring) | 1 шт | 2120 руб. | |
| 17 | 16077-ZY3-000 | Уплотнительное кольцо (O-ring) | под заказ | 2120 руб. | |
| 18 | 16078-ZY3-000 | Уплотнительное кольцо (O-ring) | под заказ | 2340 руб. | |
| 19 | 16081-ZW5-000 | Винт с шайбой (Screw-washer) | под заказ | 870 руб. | |
| 20 | 16082-ZY3-000 | Винт с чашечкой (Screw, pan) | под заказ | 820 руб. | |
| 21 | 16083-ZY3-000 | Винт с шайбой (Screw, washer) | под заказ | 680 руб. | |
| 22 | 16086-ZW5-000 | Воротник (Collar) | под заказ | 0 руб. | |
| 23 | 16087-ZW5-000 | Плоская шайба (Washer, plain) | под заказ | 0 руб. | |
| 24 | 16087-ZY3-000 | Плоская шайба (Washer, plain) | под заказ | 990 руб. | |
| 25 | 16088-ZY3-000 | Воротник (Collar) | под заказ | 860 руб. | |
| 27 | 16708-ZY3-000 | Крышка помпы (Cover, pump) | под заказ | 0 руб. | |
| 28 | 16715-ZY3-000 | Крышка, Помпа (Cover comp., pump) | под заказ | 30640 руб. | |
| 29 | 16718-ZY3-000 | Изолятор, Топливный насос (Insulator, fuel pump) | под заказ | 4860 руб. | |
| 30 | 16721-ZY3-000 | Изолятор (Insulator) | под заказ | 3930 руб. | |
| 31 | 16730-ZY3-003 | Сепаратор-пароотделитель в сборе (Separator assy., vapor) | под заказ | по запросу | |
| 32 | 16734-ZY3-000 | Остановочная пластина (Stay, plate) | под заказ | 0 руб. | |
| 33 | 16735-ZY3-004 | Модуль топливного насоса (Pump unit, fuel) | под заказ | 73340 руб. | |
| 34 | 16911-ZY3-000 | Топливный фильтр (Strainer, fuel) | под заказ | 12340 руб. | |
| 34 | 16911-ZY3-010 | (последний код) SCREEN COMP., FUEL STRAIN | 5 шт | 12340 руб. | |
| 34 | RTT-16911-ZY3-010 | (не оригинальный аналог) Экран топливного фильтра RTT-16911-ZY3-010 | 6 шт | 800 руб. | |
| 35 | 16913-ZY3-000 | Пружина, set (Spring, set) | под заказ | 1340 руб. | |
| 36 | 32166-ZY3-000 | Жгут проводов comp. (Harness comp.) | под заказ | по запросу | |
| 37 | 36361-PR7-A01 | Tank comp. (Tank comp.) | под заказ | 9120 руб. | |
| 38 | 36362-ZY3-000 | Остановка, vacuum tank (Stay, vacuum tank) | под заказ | 0 руб. | |
| 39 | 36620-ZY3-000 | Пластина (Plate) | под заказ | 0 руб. | |
| 40 | 90009-PP4-E01 | Болт (Bolt) | под заказ | 670 руб. | |
| 41 | 90017-ZY3-000 | Фланцевый болт, 6x16 (Bolt, flange, 6x16) | под заказ | 220 руб. | |
| 42 | 90019-ZW5-000 | Фланцевый болт, 6x25 (Bolt, flange, 6x25) | под заказ | по запросу | |
| 43 | 90021-ZY3-000 | Фланцевый болт, 6x14 (Bolt, flange, 6x14) | под заказ | 220 руб. | |
| 44 | 90050-ZY3-000 | Фланцевый болт, 6x12 (Bolt, flange, 6x12) | под заказ | 0 руб. | |
| 45 | 90054-ZY3-000 | Фланцевый болт, 8x35 (Bolt, flange, 8x35) | под заказ | 330 руб. | |
| 46 | 90136-SE0-A01 | Держатель (Holder) | под заказ | 320 руб. | |
| 47 | 90402-ZY3-000 | Плоская шайба, 8 мм (Washer, plain, 8mm) | под заказ | по запросу | |
| 48 | 90430-PD6-003 | Шайба (Washer) | под заказ | 520 руб. | |
| 49 | 90691-ZB7-003 | Зажим, Жгут проводов (Clip, harness) | под заказ | 340 руб. | |
| 50 | 91301-MJ0-003 | Уплотнительное кольцо, 7.8x1.9 (arai) (O-ring, 7.8x1.9 (arai)) | под заказ | 460 руб. | |
| 51 | 91501-ZY3-000 | Воротник, 8.3x14.5 (Collar, 8.3x14.5) | под заказ | по запросу | |
| 52 | 16733-ZW5-000 | Пыльник пароотделителя (Grommet, vapor separator) | под заказ | 0 руб. | |
| 53 | 16733-ZY3-000 | Пыльник пароотделителя (Grommet, vapor separator) | под заказ | 0 руб. | |
| 54 | 16025-ZY3-000 | Case set, Помпа (Case set, pump) | под заказ | по запросу | |
| 55 | 16701-ZY3-000 | Case comp., Помпа (Case comp., pump) | под заказ | по запросу | |
Время выполнения запроса 4.6082580089569 сек.
склад запчастей для водомоторной техники