вконтакте

Контактный телефон: +7 (981) 121-46-93, +7 (800) 200-90-76 , Email: parts-katalog@yandex.ru, где купить

 
 

  Логин:

Пароль:

Регистрация

www.partskatalog.ru Все каталоги Запчасти Mercury Запчасти Suzuki Запчасти Tohatsu Запчасти Honda Контакты

назад Раздел:   вперёд

Модификация Вашего двигателя:   Honda BF225A2 XXC
Модели с серийным номером двигателя от BEAGJ-1000001 до BEAGJ-1099999
Модели с серийным номером рамы от BAGJ-1000001 до BAGJ-1099999

Вернуться к выбору узлов мотора

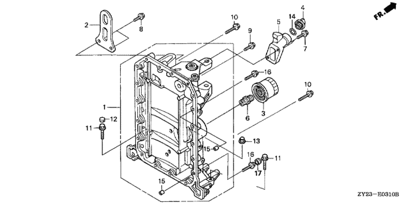
   Картер двигателя
Crankcase      


ДЕТАЛИРОВКА ДЛЯ МОДЕЛИ: HONDA BF225A2

Двигатель BF225A2 - Crankcase / Картер двигателя
Номер на
рисунке
АртикулНаименованиеКол-во
на складе
Цена
111100-ZY3-405ZA

Картер двигателя comp. *nh8 * (Crankcase comp. *nh8 *)

под заказ118240 руб. 
111100-ZY3-415ZA

(последний код) CRANKCASE COMP. *NH8*

под заказ120010 руб. 
211911-ZY3-000

Подвес двигателя (Hanger, engine)

под заказпо запросу 
315400-ZJ1-004

Картридж масляного фильтра (toyo roki) (Cartridge, oil filter (toyo roki))

под заказ2210 руб. 
315400-PLM-A02PE

(последний код) FILTER,OIL

под заказ2200 руб. 
3W814/80

   (не оригинальный аналог) Масляный фильтр MANN W814/80 (аналог 15400-ZJ1-004)

под заказ1100 руб.
415611-921-000

Крышка заливной горловины масла (жёлтый) (Cap, oil (yellow))

под заказ1030 руб. 
515631-ZW1-000ZA

Extension, oil filler *nh8 * (Extension, oil filler *nh8 *)

под заказпо запросу 
690015-PH1-013

Держатель (Holder)

под заказ1140 руб. 
790025-ZY3-000

Фланцевый болт, 6x22 (Bolt, flange, 6x22)

под заказпо запросу 
890026-ZY3-000

Фланцевый болт, 8x20 (Bolt, flange, 8x20)

под заказ250 руб. 
990031-ZY3-000

Фланцевый болт, 6x32 (Bolt, flange, 6x32)

под заказ250 руб. 
1090033-ZY3-000

Фланцевый болт, 6x55 (Bolt, flange, 6x55)

под заказпо запросу 
1190041-ZY3-000

Фланцевый болт, 10x55 (Bolt, flange, 10x55)

под заказ0 руб. 
1290082-ZY3-003

Колпчок болта, 10 мм (Cap, bolt, 10mm)

под заказ0 руб. 
1390204-ZY3-000

Гайка с фланцевым колпачком, 10 мм (Nut, flange cap, 10mm)

под заказ0 руб. 
1491301-805-000

Уплотнительное кольцо, 26x2.7 (O-ring, 26x2.7)

под заказ380 руб. 
1594301-08140

Шпонка (Dowel pin)

4 шт150 руб. 
1690063-ZY3-000

Фланцевый болт, 6x37 (Bolt, flange, 6x37)

под заказ0 руб. 

Время выполнения запроса 0.90408182144165 сек.

 
 

данный сайт носит информационный характер и не является публичной офертой

склад запчастей для водомоторной техники