вконтакте

Контактный телефон: +7 (981) 121-46-93, +7 (800) 200-90-76 , Email: parts-katalog@yandex.ru, где купить

 
 

  Логин:

Пароль:

Регистрация

www.partskatalog.ru Все каталоги Запчасти Mercury Запчасти Suzuki Запчасти Tohatsu Запчасти Honda Контакты



УВАЖАЕМЫЕ КЛИЕНТЫ!
C 19 ДЕКАБРЯ 2025 ПО 02 МАРТА 2026 ГОДА ОТДЕЛ ЗАПЧАСТЕЙ И СЕРВИС РАБОТАТЬ НЕ БУДУТ
ПРОДАЖА ЛОДОЧНЫХ МОТОРОВ В ШТАТНОМ РЕЖИМЕ
ОБ ИЗМЕНЕНИЯХ В ГРАФИКЕ РАБОТЫ ЧИТАЙТЕ НА САЙТА



назад Раздел:   вперёд

Модификация Вашего двигателя:   Honda BF225A2 XXD
Модели с серийным номером двигателя от BEAGJ-1000001 до BEAGJ-1099999
Модели с серийным номером рамы от BAGJ-1000001 до BAGJ-1099999

Вернуться к выбору узлов мотора

   Топливные трубки / инжектор
Fuel Pipe / Injector      


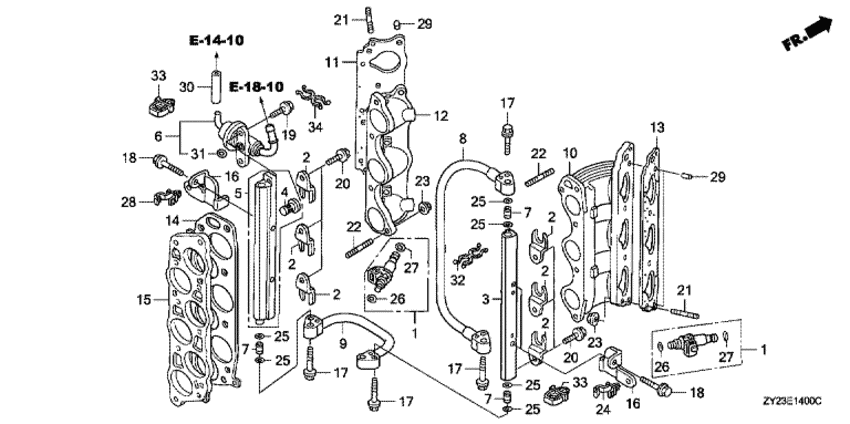
ДЕТАЛИРОВКА ДЛЯ МОДЕЛИ: HONDA BF225A2

Двигатель BF225A2 - Fuel Pipe / Injector
Номер на
рисунке
АртикулНаименованиеКол-во
на складе
Цена
116450-ZY3-013

Топливный инжектор, в сборе (Injector assy., fuel)

под заказ31810 руб. 
216451-ZY3-000

Зажим, инжектор (Clip, injector)

под заказ0 руб. 
316611-ZY3-000

Pipe, r. fuel (Pipe, r. fuel)

под заказпо запросу 
416614-P5G-003

Mesh (Mesh)

под заказ1290 руб. 
516620-ZY3-000

Pipe comp., l. fuel (Pipe comp., l. fuel)

под заказпо запросу 
616740-ZY3-003

Регулятор в сборе., pressure (Regulator assy., pressure)

под заказ20970 руб. 
716752-ZY3-000

Соеденитель топливной трубки (Joint, fuel pipe)

под заказ1320 руб. 
816755-ZY3-003

Топливный шланг (Hose comp., fuel)

под заказ0 руб. 
916757-ZY3-003

Соеденитель топливного шланга (Hose comp., fuel joint)

под заказ16880 руб. 
1017051-ZY3-000

Основание, r. инжектор (Base, r. injector)

под заказпо запросу 
1217061-ZY3-000

Основание, l. инжектор (Base, l. injector)

под заказпо запросу 
1417105-P8E-A01

Прокладка (Gasket)

1 шт13720 руб. 
1517108-ZY3-000

Прокладка, Впускной коллектор (Spacer, intake manifold)

под заказ24440 руб. 
1632112-ZY3-000

Кронштейн клипсы жгута проводов a (Bracket, harness clip a)

под заказ0 руб. 
1790016-ZW9-000

Фланцевый болт, 6x25 (Bolt, flange, 6x25)

под заказ420 руб. 
1890019-ZW9-000

Фланцевый болт, 6x35 (Bolt, flange, 6x35)

под заказ530 руб. 
1990021-ZY3-000

Фланцевый болт, 6x14 (Bolt, flange, 6x14)

под заказ220 руб. 
2090042-ZY3-000

Фланцевый болт, 6x10 (Bolt, flange, 6x10)

под заказ220 руб. 
2190043-ZY3-000

Болт под шпильку, 8x28 (Bolt, stud, 8x28)

под заказ430 руб. 
2290044-ZY3-000

Болт под шпильку, 8x45 (Bolt, stud, 8x45)

под заказ0 руб. 
2390205-ZY3-000

Гайка с фланцем, 8 мм (Nut, flange, 8mm)

под заказ180 руб. 
2490650-SB2-003

Зажим (Clip)

под заказ330 руб. 
2591301-MJ0-003

Уплотнительное кольцо, 7.8x1.9 (arai) (O-ring, 7.8x1.9 (arai))

под заказ460 руб. 
2691301-PLC-000

Уплотнительное кольцо (O-ring)

под заказ420 руб. 
2791302-PNA-003

Уплотнительное кольцо (O-ring)

под заказ290 руб. 
2891505-ZA0-601

Зажим, Жгут проводов, 7 мм (Clip, harness, 7mm)

под заказпо запросу 
2994301-10120

Шпонка (Dowel pin)

под заказ270 руб. 
3095001-350-504-0

Топливный шланг, 3.5x50 (95001-35001-60m) (Tube, fuel, 3.5x50 (95001-35001-60m))

под заказ0 руб. 
3116741-PG7-005

Уплотнительное кольцо (O-ring)

под заказ280 руб. 
3278419-SJ6-003

Зажим d, Спидометр Кабели (Clip d, speedometer cable)

под заказ450 руб. 
1117065-P8E-A01

Прокладка (Gasket)

под заказ19360 руб. 
1317055-P8E-A01

Прокладка (Gasket)

под заказ19360 руб. 

Время выполнения запроса 2.0183808803558 сек.

 
 

данный сайт носит информационный характер и не является публичной офертой

склад запчастей для водомоторной техники