Контактный телефон: +7 (981) 121-46-93, +7 (800) 200-90-76 , Email: parts-katalog@yandex.ru, где купить |
Модификация Вашего двигателя: Honda BF200AK1 XU Вернуться к выбору узлов мотора Переключающий вал |
|||||||||||||||||||||||||||||||||||||||||||||||||||||||||||||||||||||||||||||||||||||||||||||||||||||||||||||||||||||||||||||||||||||||||||||||||||||||||||||||||||||||||||||||||||||||||||||||||||||||||||||||||||||||||||||||||||||||||||||||||||||||||||||||||||||||||||||||
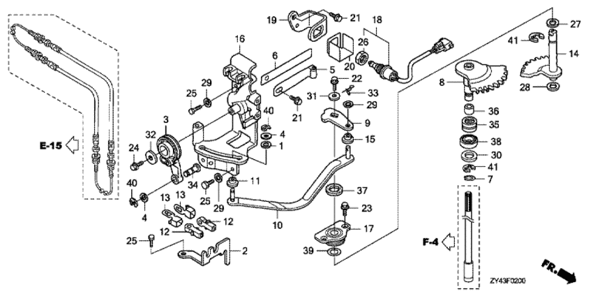
| Номер на рисунке | Артикул | Наименование | Кол-во на складе | Цена | |
| 1 | 17224-KN5-670 | Шайба установки крышки воздушного фильтра (Washer, air cleaner cover setting) | под заказ | 300 руб. | |
| 2 | 17877-ZY3-000 | Пластина кабеля дистанционного управления (Plate, remote control cable) | 1 шт | 1610 руб. | |
| 3 | 17931-ZY3-000 | Рукоятка дроссельной заслонки (Arm, throttle) | под заказ | 0 руб. | |
| 4 | 17936-921-000 | Опорная шайба (Washer, pivot) | 3 шт | 260 руб. | |
| 5 | 24210-ZW1-010 | Нажимная пружина, комплект (Spring comp., click) | под заказ | 1600 руб. | |
| 6 | 24221-ZY3-000 | Пружина с помощью при нажатии (Spring, click assist) | под заказ | 0 руб. | |
| 7 | 24327-ZW1-000 | Ограничительное кольцо (Ring, stopper) | под заказ | 230 руб. | |
| 8 | 24610-ZY3-A00 | Переключающий вал (a) (Shaft comp., shift (a)) | под заказ | 13800 руб. | |
| 9 | 24612-ZY3-010 | Рычаг переключения (Arm, shift) | под заказ | 0 руб. | |
| 10 | 24613-ZY3-000 | Соеденительная тяга (Rod, link) | под заказ | 6160 руб. | |
| 11 | 24617-ZY3-000 | Воротник, shift slider (Collar, shift slider) | под заказ | 840 руб. | |
| 12 | 24618-ZY3-000 | Переключающий стержень (Pivot, shift) | 3 шт | 1210 руб. | |
| 13 | 24619-ZY3-000 | Плата блокировки (Plate, lock) | 4 шт | 1150 руб. | |
| 14 | 24620-ZY3-000 | Переключающий вал (b) (Shaft comp., shift (b)) | под заказ | 14980 руб. | |
| 15 | 24623-ZY3-000 | Втулка, shift arm (Bush, shift arm) | под заказ | 0 руб. | |
| 16 | 24628-ZY3-000 | Кронштейн переключающей тяги (Bracket, shift link) | под заказ | 0 руб. | |
| 17 | 24629-ZW1-000 | Держатель сальника (Holder, seal) | под заказ | 2910 руб. | |
| 18 | 35470-ZY3-003 | Переключатель нейтрали, в сборе (Switch assy., neutral) | под заказ | 11220 руб. | |
| 18 | 35470-ZY3-023 | (последний код) SWITCH ASSY., NEUTRAL | под заказ | 11220 руб. | |
| 19 | 35476-ZY3-010 | Кронштейн переключателя нейтрали (Bracket, neutral switch) | под заказ | 0 руб. | |
| 20 | 35477-ZY3-000 | Крышка переключателя нейтрали (Cover, neutral switch) | под заказ | 0 руб. | |
| 21 | 90011-ZW9-000 | Фланцевый болт, 6x14 (ct200) (Bolt, flange, 6x14 (ct200)) | под заказ | 370 руб. | |
| 22 | 90017-ZY3-000 | Фланцевый болт, 6x16 (Bolt, flange, 6x16) | под заказ | 220 руб. | |
| 23 | 90023-ZW5-000 | Фланцевый болт, 6x11 (Bolt, flange, 6x11) | под заказ | 370 руб. | |
| 24 | 90102-ZW9-000 | Фланцевый болт, 6x12 (Bolt, flange, 6x12) | 5 шт | 460 руб. | |
| 25 | 90127-ZV4-000 | Болт под шестигранник., 6x16 (Bolt, hex., 6x16) | под заказ | 340 руб. | |
| 26 | 90302-ZV5-003 | Шестигранная гайка, 20 мм (Nut, hex., 20mm) | под заказ | 750 руб. | |
| 27 | 90402-HA0-000 | Упорная шайба, 14 мм (Washer, thrust, 14mm) | под заказ | 290 руб. | |
| 28 | 90501-ZW5-000 | Шайба, Переключающий вал (Washer, shift shaft) | под заказ | 910 руб. | |
| 29 | 90506-ZV4-000 | Плоская шайба, 6 мм (Washer, plain, 6mm) | 4 шт | 380 руб. | |
| 30 | 90508-ZV7-000 | Шайба (Washer) | под заказ | 1070 руб. | |
| 31 | 90508-ZY3-000 | Плоская шайба, 6 мм (Washer, plain, 6mm) | под заказ | 130 руб. | |
| 32 | 90512-ZV4-000 | Плоская шайба, 6 мм (Washer, plain, 6mm) | под заказ | 650 руб. | |
| 33 | 90705-SD2-931 | Штифт (Pin) | 9 шт | 280 руб. | |
| 34 | 90751-ZY3-000 | Штифт тяги (Pin, link) | 1 шт | 2510 руб. | |
| 35 | 91001-ZY3-003 | Подшипник, игольчатый, 20x28x13 (solid) (Bearing, needle, 20x28x13 (solid)) | под заказ | 6990 руб. | |
| 36 | 91152-ZY3-003 | Кольцо, inner (15x20x23) (Ring, inner (15x20x23)) | под заказ | 0 руб. | |
| 37 | 91251-ZW5-003 | Сальник, 14x26x6 (Oil seal, 14x26x6) | 1 шт | 1180 руб. | |
| 38 | 91255-ZY3-003 | Сальник (14x26x8) (Seal, water (14x26x8)) | под заказ | 1510 руб. | |
| 39 | 91302-PF0-003 | Уплотнительное кольцо (O-ring) | 1 шт | 520 руб. | |
| 40 | 94540-04029 | Уплотнительное кольцо (E-ring) | 2 шт | 600 руб. | |
| 41 | 94540-12029 | Уплотнительное кольцо, 12 мм (E-ring, 12mm) | под заказ | 1150 руб. | |
Время выполнения запроса 1.9554719924927 сек.
склад запчастей для водомоторной техники