вконтакте

Контактный телефон: +7 (981) 121-46-93, +7 (800) 200-90-76 , Email: parts-katalog@yandex.ru, где купить

 
 

  Логин:

Пароль:

Регистрация

www.partskatalog.ru Все каталоги Запчасти Mercury Запчасти Suzuki Запчасти Tohatsu Запчасти Honda Контакты



УВАЖАЕМЫЕ КЛИЕНТЫ!
C 19 ДЕКАБРЯ 2025 ПО 02 МАРТА 2026 ГОДА ОТДЕЛ ЗАПЧАСТЕЙ И СЕРВИС РАБОТАТЬ НЕ БУДУТ
ПРОДАЖА ЛОДОЧНЫХ МОТОРОВ В ШТАТНОМ РЕЖИМЕ
ОБ ИЗМЕНЕНИЯХ В ГРАФИКЕ РАБОТЫ ЧИТАЙТЕ НА САЙТА



назад Раздел:   вперёд

Модификация Вашего двигателя:   Honda BF200A6 XXCU
Модели с серийным номером двигателя от BEAEJ-1100001 до BEAEJ-
Модели с серийным номером рамы от BAFJ-1400001 до BAFJ-

Вернуться к выбору узлов мотора

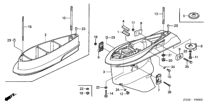
   Картер коробки передач
Gear Case      


ДЕТАЛИРОВКА ДЛЯ МОДЕЛИ: HONDA BF200A6

Подвесной  лодочный мотор BF200A6 - Картер коробки передач - Gear Case
Номер на
рисунке
АртикулНаименованиеКол-во
на складе
Цена
119286-ZW1-B00

Пластина, установочная резинка (Plate, rubber setting)

под заказ920 руб. 
240202-ZY3-620ZA

Удлинение корпуса *nh282mu * (Separator, extension *nh282mu *)

под заказ264900 руб. 
240202-ZY3-621ZA

Удлинение корпуса *nh282mu * (Separator, extension *nh282mu *)

под заказ272900 руб. 
341101-ZY3-020ZA

Картер коробки передач *nh282mu * (Case, gear *nh282mu *)

под заказ273060 руб. 
441102-ZW1-B00

Пыльник картера коробки передач (Grommet, gear case)

под заказ1180 руб. 
541102-ZY3-710ZA

Крышка картера коробки передач *nh282mu * (Cover, gear case *nh282mu *)

под заказпо запросу 
641104-ZY3-611

Экран для воды, правый (Screen, r. water)

под заказ1870 руб. 
741105-ZY3-611

Экран для воды, левый (Screen, l. water)

под заказ1750 руб. 
941109-ZW1-B00

Металлический анод (Metal comp., anode)

4 шт3780 руб. 
1090101-ZW9-003

Болт контроля уровня масла (Bolt, oil check)

под заказ790 руб. 
1190103-ZY3-000

Болт под шестигранник., 10x32 (Bolt, hex., 10x32)

1 шт1320 руб. 
1290120-ZY3-000

Болт дренажной заглушки (Bolt, drain plug)

2 шт3720 руб. 
1590130-ZY3-620

Болт под шпильку, 12x170 (Bolt, stud, 12x170)

под заказ19730 руб. 
1690131-ZY3-620

Болт под шпильку, 10x170 (Bolt, stud, 10x170)

под заказ13160 руб. 
1790205-PP9-020

Гайка с замком, 6 мм (Nut, self-lock, 6mm)

под заказ1360 руб. 
1890302-ZV4-000

Гайка с замком, 5 мм (Nut, self-lock, 5mm)

под заказ1270 руб. 
1990306-ZV5-003

Гайка с замком, 10 мм (Nut, self-lock, 10mm)

под заказ650 руб. 
2090308-ZW1-003

Гайка с замком, 12 мм (Nut, self-lock, 12mm)

под заказ1180 руб. 
2190559-ZV5-000

Плоская шайба, 12 мм (Washer, plain, 12mm)

под заказ600 руб. 
2290563-ZV5-000

Плоская шайба, 10 мм (Washer, plain, 10mm)

под заказ500 руб. 
2390756-ZV5-000

Шпонка, 6x10 (Dowel pin, 6x10)

1 шт220 руб. 
2491301-ZW4-003

Уплотнительное кольцо, 6.9x1.45 (O-ring, 6.9x1.45)

32 шт270 руб. 
2592101-06055-4J

Болт под шестигранник., 6x55 (Bolt, hex., 6x55)

под заказ380 руб. 
2693700-050-454-J

Овальный винт, 5x45 (Screw, oval, 5x45)

под заказ300 руб. 

Время выполнения запроса 1.5817220211029 сек.

 
 

данный сайт носит информационный характер и не является публичной офертой

склад запчастей для водомоторной техники