вконтакте

Контактный телефон: +7 (981) 121-46-93, +7 (800) 200-90-76 , Email: parts-katalog@yandex.ru, где купить

 
 

  Логин:

Пароль:

Регистрация

www.partskatalog.ru Все каталоги Запчасти Mercury Запчасти Suzuki Запчасти Tohatsu Запчасти Honda Контакты

назад Раздел:   вперёд

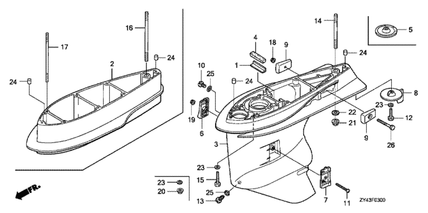
Модификация Вашего двигателя:   Honda BF175AK1 XXD
Модели с серийным номером двигателя от BEAJJ-1200001 до BEAJJ-
Модели с серийным номером рамы от BAJJ-1300001 до BAJJ-

Вернуться к выбору узлов мотора

   Картер коробки передач
Gear Case      


ДЕТАЛИРОВКА ДЛЯ МОДЕЛИ: HONDA BF175AK1

Подвесной четырёхтактный лодочный двигатель BF175AK1 - Gear Case - Картер коробки передач
Номер на
рисунке
АртикулНаименованиеКол-во
на складе
Цена
119286-ZW1-B00

Пластина, установочная резинка (Plate, rubber setting)

под заказ920 руб. 
240202-ZY3-621ZA

Удлинение корпуса *nh282mu * (Separator, extension *nh282mu *)

под заказ272900 руб. 
341101-ZY3-C00ZA

Картер коробки передач *nh282mu* (Case, gear *nh282mu*)

под заказ206080 руб. 
306401-ZY3-000ZA

(последний код) CASE, GEAR *NH282MU*

под заказ289450 руб. 
441102-ZW1-B00

Пыльник картера коробки передач (Grommet, gear case)

под заказ1180 руб. 
641104-ZY3-C00

Экран для воды, правый (Screen, r. water)

под заказпо запросу 
741105-ZY3-C00

Экран для воды, левый (Screen, l. water)

под заказпо запросу 
841107-ZY3-000ZA

Пластина трима *nh282mu * (Tab, trim *nh282mu *)

1 шт11870 руб. 
841107-ZX2-C00ZB

(последний код) TAB, TRIM *NH282MU *

под заказ11870 руб. 
941109-ZW1-B00

Металлический анод (Metal comp., anode)

4 шт3780 руб. 
1090101-ZW9-003

Болт контроля уровня масла (Bolt, oil check)

под заказ790 руб. 
1190101-ZZ0-000

Плоский винт, 5x55 (Screw, flat, 5x55)

под заказ510 руб. 
1290103-ZY3-000

Болт под шестигранник., 10x32 (Bolt, hex., 10x32)

1 шт1320 руб. 
1390120-ZY3-000

Болт дренажной заглушки (Bolt, drain plug)

2 шт3720 руб. 
1690130-ZY3-620

Болт под шпильку, 12x170 (Bolt, stud, 12x170)

под заказ19730 руб. 
1790131-ZY3-620

Болт под шпильку, 10x170 (Bolt, stud, 10x170)

под заказ13160 руб. 
1890205-ZY1-000

Гайка с замком, 6 мм (Nut, self-lock, 6mm)

под заказ1020 руб. 
1990302-ZV4-000

Гайка с замком, 5 мм (Nut, self-lock, 5mm)

под заказ1270 руб. 
2090306-ZV5-003

Гайка с замком, 10 мм (Nut, self-lock, 10mm)

под заказ650 руб. 
2190308-ZW1-003

Гайка с замком, 12 мм (Nut, self-lock, 12mm)

под заказ1180 руб. 
2290559-ZV5-000

Плоская шайба, 12 мм (Washer, plain, 12mm)

под заказ600 руб. 
2390563-ZV5-000

Плоская шайба, 10 мм (Washer, plain, 10mm)

под заказ500 руб. 
2490756-ZV5-000

Шпонка, 6x10 (Dowel pin, 6x10)

1 шт220 руб. 
2591301-ZW4-003

Уплотнительное кольцо, 6.9x1.45 (O-ring, 6.9x1.45)

32 шт270 руб. 
2692101-06055-4J

Болт под шестигранник., 6x55 (Bolt, hex., 6x55)

под заказ380 руб. 

Время выполнения запроса 0.46426606178284 сек.

 
 

данный сайт носит информационный характер и не является публичной офертой

склад запчастей для водомоторной техники