вконтакте

Контактный телефон: +7 (981) 121-46-93, +7 (800) 200-90-76 , Email: parts-katalog@yandex.ru, где купить

 
 

  Логин:

Пароль:

Регистрация

www.partskatalog.ru Все каталоги Запчасти Mercury Запчасти Suzuki Запчасти Tohatsu Запчасти Honda Контакты

назад Раздел:  

Модификация Вашего двигателя:   Honda BF150A4 LCU
Модели с серийным номером двигателя от BEANJ-1000001 до BEANJ-
Модели с серийным номером рамы от BAPJ-1000001 до BAPJ-

Вернуться к выбору узлов мотора

   Наборы для ремонта водяного насоса (2)
Water Pump Impeller Kit (2)      


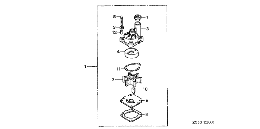
ДЕТАЛИРОВКА ДЛЯ МОДЕЛИ: HONDA BF150A4

Подвесной четырёх-тактный мотор BF150A4 - Наборы для ремонта водяного насоса (2)
Номер на
рисунке
АртикулНаименованиеКол-во
на складе
Цена
106193-ZY6-000

Ремкомплект водяной помпы (Pump kit, impeller)

под заказ25360 руб. 
219210-ZW1-B04

Крыльчатка водяной помпы (Impeller, pump)

2 шт7350 руб. 
2T-500337

   (не оригинальный аналог) Крыльчатка помпы охлаждения двигателя Honda 500337 (CEF)

под заказ3170 руб.
2T-19210-ZW1-B02

   (не оригинальный аналог) Крыльчатка помпы охлаждения двигателя Honda 19210-ZW1-B02 (MIZASHI)

под заказ1670 руб.
2T-06192-ZW1-000

   (не оригинальный аналог) Ремкомплект насоса охлаждения Honda 06192-ZW1-000 (MIZASHI)

под заказпо запросу
2T-06192-ZY6-000

   (не оригинальный аналог) Ремкомплект насоса охлаждения Honda 06192-ZY6-000 (MIZASHI)

под заказпо запросу
2T-SC-WT094

   (не оригинальный аналог) Крыльчатка помпы охлаждения двигателя Honda SC-WT094 (MIZASHI)

под заказ1500 руб.
319221-ZY6-000

Корпус крыльчатки (Housing, impeller)

под заказ10320 руб. 
419223-ZW1-B00

Гильза помпы (Liner, pump)

2 шт4850 руб. 
519231-ZY6-000

Колпак крыльчатки (Cover, impeller)

1 шт3640 руб. 
619234-ZY6-000

Прокладка B крыльчатки (Gasket b, impeller)

4 шт1560 руб. 
719253-ZW1-B01

Кольцо сальника водяной трубки (Ring, water tube seal)

4 шт790 руб. 
890116-881-000

Болт под шестигранник., 8x40 (Bolt, hex., 8x40)

под заказ560 руб. 
990514-921-000

Шайба, 8 мм (Washer, 8mm)

2 шт320 руб. 
1090752-ZW1-B02

Ключ, woodruff (Key, woodruff)

4 шт1220 руб. 
1191356-ZW1-B00

Уплотнительное кольцо водяной помпы (O-ring, water pump)

8 шт1760 руб. 
1291552-ZY6-000

Промежуточный воротник (Collar, distance)

под заказ740 руб. 
106193-ZY6-A00

Ремкомплект водяной помпы (Pump kit, impeller)

под заказ12300 руб. 
319221-ZY6-A00

Корпус крыльчатки (Housing, impeller)

под заказ10320 руб. 

Время выполнения запроса 1.1748199462891 сек.

 
 

данный сайт носит информационный характер и не является публичной офертой

склад запчастей для водомоторной техники