вконтакте

Контактный телефон: +7 (981) 121-46-93, +7 (800) 200-90-76 , Email: parts-katalog@yandex.ru, где купить

 
 

  Логин:

Пароль:

Регистрация

www.partskatalog.ru Все каталоги Запчасти Mercury Запчасти Suzuki Запчасти Tohatsu Запчасти Honda Контакты

Раздел:   вперёд

Модификация Вашего двигателя:   Honda BF150A4 XU
Модели с серийным номером двигателя от BEANJ-1000001 до BEANJ-
Модели с серийным номером рамы от BANJ-1000001 до BANJ-

Вернуться к выбору узлов мотора

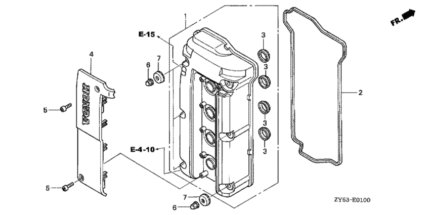
   Крышка головки цилиндра
Cylinder Head Cover      


ДЕТАЛИРОВКА ДЛЯ МОДЕЛИ: HONDA BF150A4

Лодочный четырёх тактный мотор Honda BF150A4 - Cylinder Head Cover - Крышка головки цилиндра
Номер на
рисунке
АртикулНаименованиеКол-во
на складе
Цена
112310-ZY6-000ZA

Крышка головки цилиндра *nh8 * (Cover comp., cylinder head *nh8 *)

под заказ49350 руб. 
212341-PNA-000

Прокладка (Packing)

под заказ2730 руб. 
212341-RTA-000

(последний код) PACKING, CYLINDER HEAD CO

под заказ2660 руб. 
312342-PCX-004

Сальник (Seal)

под заказ720 руб. 
412500-ZY6-000

Крышка заглушки отверстия катушки (Cover comp., plug hole coil)

под заказ8610 руб. 
690201-ZY6-000

Гайка с фланцевым колпачком, 6 мм (Nut, flange cap, 6mm)

под заказ610 руб. 
690201-ZY6-010

(последний код) NUT,FLANGE CAP 6M

под заказ760 руб. 
790401-ZY6-000

Шайба головки Крышка (Washer, head cover)

под заказ1360 руб. 
112310-ZY6-010ZA

Крышка головки цилиндра *nh8* (Cover comp., cylinder head *nh8*)

под заказ49350 руб. 
590084-ZY3-000

Болт с гнездом, 6x25 (Bolt, socket, 6x25)

под заказ740 руб. 

Время выполнения запроса 1.4400269985199 сек.

 
 

данный сайт носит информационный характер и не является публичной офертой

склад запчастей для водомоторной техники