вконтакте

Контактный телефон: +7 (981) 121-46-93, +7 (800) 200-90-76 , Email: parts-katalog@yandex.ru, где купить

 
 

  Логин:

Пароль:

Регистрация

www.partskatalog.ru Все каталоги Запчасти Mercury Запчасти Suzuki Запчасти Tohatsu Запчасти Honda Контакты



УВАЖАЕМЫЕ КЛИЕНТЫ!
C 19 ДЕКАБРЯ 2025 ПО 02 МАРТА 2026 ГОДА ОТДЕЛ ЗАПЧАСТЕЙ И СЕРВИС РАБОТАТЬ НЕ БУДУТ
ПРОДАЖА ЛОДОЧНЫХ МОТОРОВ В ШТАТНОМ РЕЖИМЕ
ОБ ИЗМЕНЕНИЯХ В ГРАФИКЕ РАБОТЫ ЧИТАЙТЕ НА САЙТА



назад Раздел:   вперёд

Модификация Вашего двигателя:   Honda BF150A4 LD
Модели с серийным номером двигателя от BEANJ-1000001 до BEANJ-
Модели с серийным номером рамы от BANJ-1000001 до BANJ-

Вернуться к выбору узлов мотора

   Наборы для ремонта водяного насоса (1)
Water Pump Impeller Kit (1)      


ДЕТАЛИРОВКА ДЛЯ МОДЕЛИ: HONDA BF150A4

Подвесной 4x-тактный мотор BF150A4 - Наборы для ремонта водяного насоса (1)
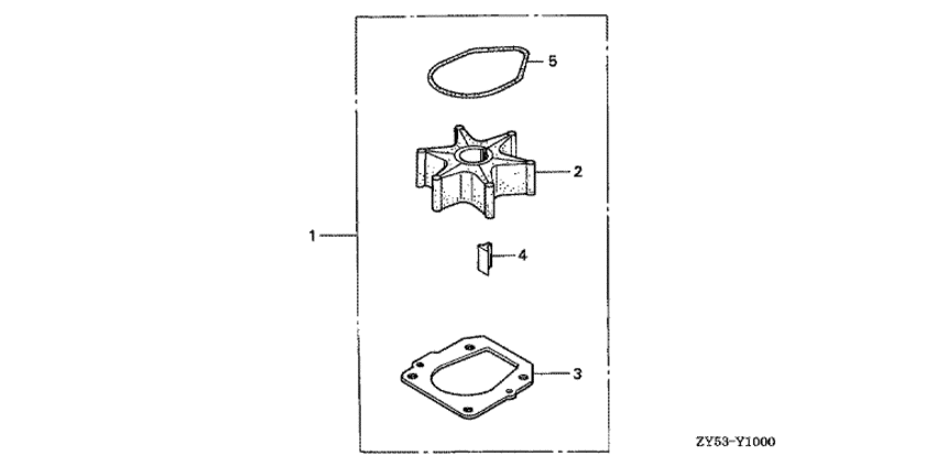
Номер на
рисунке
АртикулНаименованиеКол-во
на складе
Цена
106192-ZY6-000

Ремкомплект водяной помпы (Pump kit, impeller)

под заказ10270 руб. 
1SK06192-ZY6-000

   (не оригинальный аналог) Ремкомплект помпы Standard Skipper для Honda 135-150

0 шт2287 руб.
1T-06192-ZY6-000

   (не оригинальный аналог) Ремкомплект насоса охлаждения Honda 06192-ZY6-000 (MIZASHI)

под заказпо запросу
219210-ZW1-B04

Крыльчатка водяной помпы (Impeller, pump)

2 шт7350 руб. 
2T-500337

   (не оригинальный аналог) Крыльчатка помпы охлаждения двигателя Honda 500337 (CEF)

под заказ3170 руб.
2T-19210-ZW1-B02

   (не оригинальный аналог) Крыльчатка помпы охлаждения двигателя Honda 19210-ZW1-B02 (MIZASHI)

под заказ1670 руб.
2T-06192-ZW1-000

   (не оригинальный аналог) Ремкомплект насоса охлаждения Honda 06192-ZW1-000 (MIZASHI)

под заказпо запросу
2T-06192-ZY6-000

   (не оригинальный аналог) Ремкомплект насоса охлаждения Honda 06192-ZY6-000 (MIZASHI)

под заказпо запросу
2T-SC-WT094

   (не оригинальный аналог) Крыльчатка помпы охлаждения двигателя Honda SC-WT094 (MIZASHI)

под заказ1500 руб.
319234-ZY6-000

Прокладка B крыльчатки (Gasket b, impeller)

4 шт1560 руб. 
490752-ZW1-B02

Ключ, woodruff (Key, woodruff)

4 шт1220 руб. 
591356-ZW1-B00

Уплотнительное кольцо водяной помпы (O-ring, water pump)

8 шт1760 руб. 

Время выполнения запроса 0.93642902374268 сек.

 
 

данный сайт носит информационный характер и не является публичной офертой

склад запчастей для водомоторной техники