вконтакте

Контактный телефон: +7 (981) 121-46-93, +7 (800) 200-90-76 , Email: parts-katalog@yandex.ru, где купить

 
 

  Логин:

Пароль:

Регистрация

www.partskatalog.ru Все каталоги Запчасти Mercury Запчасти Suzuki Запчасти Tohatsu Запчасти Honda Контакты

назад Раздел:   вперёд

Модификация Вашего двигателя:   Honda BF135A4 XCU
Модели с серийным номером двигателя от BEARJ-1000001 до BEARJ-
Модели с серийным номером рамы от BASJ-1000001 до BASJ-

Вернуться к выбору узлов мотора

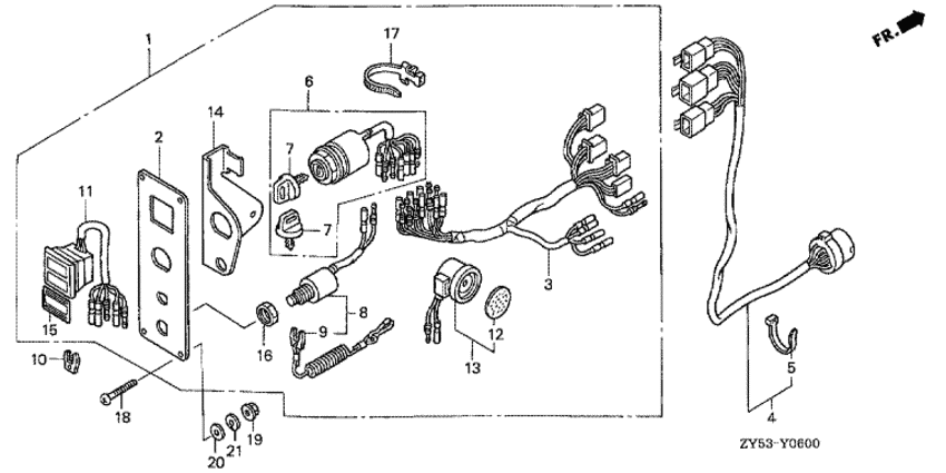
   Панель управления (1)
Control Panel (1)      


ДЕТАЛИРОВКА ДЛЯ МОДЕЛИ: HONDA BF135A4

Подвесной четырёх тактный двигатель BF135A4 - Control Panel (1) - Панель управления (1)
Номер на
рисунке
АртикулНаименованиеКол-во
на складе
Цена
132340-ZW5-043

Контрольная панель, в сборе (2-led) (Panel assy., control (2-led))

под заказ38320 руб. 
132340-ZW5-506

(последний код) PANEL ASSY,CONTRO

под заказ47760 руб. 
232346-ZW1-V04

Контрольная панель (Panel, control)

под заказ3350 руб. 
232346-ZW1-505

(последний код) PANEL CONTROL

под заказ1950 руб. 
332545-ZW1-V03

Жгут проводов панели переключателей (Harness assy., switch panel)

под заказ13930 руб. 
432580-ZY3-000

Кабель панели переключателей (Cable assy., switch panel)

под заказ27130 руб. 
432580-ZW2-D01

(последний код) CABLE ASSY., SWITCH PANEL

под заказ21770 руб. 
532901-952-770

Хомут кабеля (natural 2.4x92) (Tie, cable (natural 2.4x92))

под заказ40 руб. 
635100-ZV5-003

Комбинированный выключатель, в сборе (Switch assy., combination)

1 шт25590 руб. 
735110-ZV5-003

Ключ комбинированного выключателя, в сборе (Key assy., combination switch)

2 шт1580 руб. 
836180-ZV5-023

Выключатель - аварийный останов двигателя, в сборе (Switch assy., emergency stop)

под заказ10010 руб. 
836180-ZV5-033

(последний код) SWITCH ASSY., EMERGENCY S

под заказ10010 руб. 
936182-ZV4-651

Шнур аварийной остановки двигателя (Cord comp., emergency)

под заказ3330 руб. 
1036187-ZV4-652

Клипса аварийной блокировки (Clip, emergency lock)

5 шт1240 руб. 
1137210-ZW1-702

Индикаторные лампы (2-led) (Lamp assy., indication (2-led))

под заказ19720 руб. 
1238403-341-672

Пластина зуммера (Plate, winker buzzer)

под заказ820 руб. 
1338410-ZV5-003

Предупреждающий зуммер (Buzzer comp., warning)

под заказ10770 руб. 
1438414-ZW1-V02

Кронштейн зуммера (Bracket, buzzer)

под заказпо запросу 
1587120-ZW5-000

Маркировка, Панель переключателей (Mark, switch panel)

под заказпо запросу 
1690302-921-000

Шестигранная гайка, 16 мм (Nut, hex., 16mm)

2 шт570 руб. 
1790649-SC2-003

Ремешок (Band)

под заказ920 руб. 
1890109-ZW5-000

Винт с чашечкой, 5x40 (Screw, pan, 5x40)

под заказ280 руб. 
1918334-MT8-770

Гайка с фланцем, 5 мм (Nut, flange, 5mm)

под заказ200 руб. 
2094103-05400

Шайба (Washer)

под заказ100 руб. 
2194111-05400

Шайба (Washer)

под заказ90 руб. 

Время выполнения запроса 0.42999696731567 сек.

 
 

данный сайт носит информационный характер и не является публичной офертой

склад запчастей для водомоторной техники