вконтакте

Контактный телефон: +7 (981) 121-46-93, +7 (800) 200-90-76 , Email: parts-katalog@yandex.ru, где купить

 
 

  Логин:

Пароль:

Регистрация

www.partskatalog.ru Все каталоги Запчасти Mercury Запчасти Suzuki Запчасти Tohatsu Запчасти Honda Контакты



УВАЖАЕМЫЕ КЛИЕНТЫ!
C 19 ДЕКАБРЯ 2025 ПО 02 МАРТА 2026 ГОДА ОТДЕЛ ЗАПЧАСТЕЙ И СЕРВИС РАБОТАТЬ НЕ БУДУТ
ПРОДАЖА ЛОДОЧНЫХ МОТОРОВ В ШТАТНОМ РЕЖИМЕ
ОБ ИЗМЕНЕНИЯХ В ГРАФИКЕ РАБОТЫ ЧИТАЙТЕ НА САЙТА



назад Раздел:   вперёд

Модификация Вашего двигателя:   Honda BF135A4 XD
Модели с серийным номером двигателя от BEARJ-1000001 до BEARJ-
Модели с серийным номером рамы от BARJ-1000001 до BARJ-

Вернуться к выбору узлов мотора

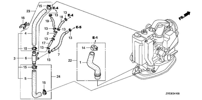
   Водяная трубка
Water Hose      


ДЕТАЛИРОВКА ДЛЯ МОДЕЛИ: HONDA BF135A4

Подвесной лодочный 4-тактный двигатель HONDA BF135A4 - Водяная трубка
Номер на
рисунке
АртикулНаименованиеКол-во
на складе
Цена
115425-ZY6-010

Масляная трубка (Tube, oil)

под заказ0 руб. 
216959-MY1-000

Соеденитель топливной трубки (Joint, fuel tube)

под заказ1870 руб. 
319260-ZY6-000

Водяная трубка relief (Tube comp., water relief)

под заказпо запросу 
319260-ZY6-010

Водяная трубка relief (Tube comp., water relief)

под заказпо запросу 
319260-ZY6-020

Водяная трубка relief (Tube comp., water relief)

под заказ0 руб. 
419261-ZY6-010

Трубка A сброса воды (Tube a, water relief)

под заказ0 руб. 
519262-ZY6-010

Трубка B сброса воды (Tube b, water relief)

под заказ0 руб. 
619263-ZY6-000

Joint, four-way (Joint, four-way)

под заказ0 руб. 
719266-ZY6-000

Трубка comp. e, water (Tube comp. e, water)

под заказ0 руб. 
1390601-ZY3-010

Струбцина трубки (d10.5) (Clamp, tube (d10.5))

под заказ510 руб. 
1390601-ZY3-020

Струбцина трубки (d10.5) (Clamp, tube (d10.5))

под заказпо запросу 
1390601-ZY3-030

Струбцина трубки (d10.5) (Clamp, tube (d10.5))

под заказ510 руб. 
1490602-ZY3-020

Струбцина трубки (d32.5) (Clamp, tube (d32.5))

под заказ0 руб. 
1590602-ZY6-020

Струбцина трубки (d25.0) (Clamp, tube (d25.0))

под заказ510 руб. 
1690603-ZY6-003

Струбцина, Водяная трубка (Clamp, water tube)

под заказ0 руб. 
1795005-700-753-0

Трубка, 7x75 (95005-70001-30m) (Tube, 7x75 (95005-70001-30m))

под заказ290 руб. 
1895005-700-903-0

Трубка, 7x90 (95005-70001-30m) (Tube, 7x90 (95005-70001-30m))

под заказ0 руб. 
1995005-701-203-0

Трубка, 7x120 (95005-70001-30m) (Tube, 7x120 (95005-70001-30m))

под заказ0 руб. 
2206154-ZY6-000

Масляная трубка, комплект (Tube set, oil)

под заказпо запросу 
2306194-ZY6-000

Трубка set a, water relief (Tube set a, water relief)

под заказпо запросу 
2406195-ZY6-000

Трубка set b, water relief (Tube set b, water relief)

под заказпо запросу 

Время выполнения запроса 4.5656361579895 сек.

 
 

данный сайт носит информационный характер и не является публичной офертой

склад запчастей для водомоторной техники