вконтакте

Контактный телефон: +7 (981) 121-46-93, +7 (800) 200-90-76 , Email: parts-katalog@yandex.ru, где купить

 
 

  Логин:

Пароль:

Регистрация

www.partskatalog.ru Все каталоги Запчасти Mercury Запчасти Suzuki Запчасти Tohatsu Запчасти Honda Контакты



УВАЖАЕМЫЕ КЛИЕНТЫ!
C 19 ДЕКАБРЯ 2025 ПО 02 МАРТА 2026 ГОДА ОТДЕЛ ЗАПЧАСТЕЙ И СЕРВИС РАБОТАТЬ НЕ БУДУТ
ПРОДАЖА ЛОДОЧНЫХ МОТОРОВ В ШТАТНОМ РЕЖИМЕ
ОБ ИЗМЕНЕНИЯХ В ГРАФИКЕ РАБОТЫ ЧИТАЙТЕ НА САЙТА



назад Раздел:   вперёд

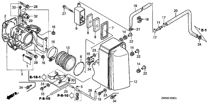
Модификация Вашего двигателя:   Honda BF130A2 LU
Модели с серийным номером двигателя от BEBE-1100001 до BEBE-
Модели с серийным номером рамы от BZBE-1300001 до BZBE-

Вернуться к выбору узлов мотора

   Дроссель газа
Throttle Body      


ДЕТАЛИРОВКА ДЛЯ МОДЕЛИ: HONDA BF130A2

Подвесной  двигатель BF130A2 - Throttle Body
Номер на
рисунке
АртикулНаименованиеКол-во
на складе
Цена
116016-PM6-005

Набор винтов (Screw set)

под заказ1200 руб. 
216176-P0A-004

Прокладка (Gasket)

под заказ840 руб. 
316400-ZW5-013

Дроссель газа в сборе (Throttle body assy)

под заказ86770 руб. 
517201-MG9-000

Joint a, vacuum Трубка (Joint a, vacuum tube)

под заказ1670 руб. 
617249-PS4-000

Пружина (Spring)

под заказ1360 руб. 
717272-PM3-000

Прокладка (Packing)

под заказ1060 руб. 
817274-PM3-000

Element (Element)

под заказ1320 руб. 
917275-ZW5-000

Крышка элемента сапуна (Cover comp., breather element)

под заказпо запросу 
1017316-ZW5-003

Струбцина, air flow (70) (Clamp, air flow (70))

под заказпо запросу 
1117359-419-670

Joint, breather Трубка (Joint, breather tube)

под заказ350 руб. 
1217371-ZW5-000

Case comp., Глушитель (Case comp., silencer)

под заказ33190 руб. 
1317374-ZW5-000

Пыльник, Глушитель (Grommet, silencer)

под заказпо запросу 
1440102-ZV5-000

Пыльник под корпусом (Grommet, under case)

под заказ430 руб. 
1690208-438-000

Гайка (Nut)

под заказ550 руб. 
1790605-ZV4-000

Зажим трубки (b12.5) (Clip, tube (b12.5))

под заказ120 руб. 
1890679-679-004

Зажим (Clip)

под заказ560 руб. 
1991402-ZW5-000

Трубка A сапуна (Tube a, breather)

под заказпо запросу 
2091403-ZW5-000

Трубка B сапуна (Tube b, breather)

под заказпо запросу 
2190604-ZW5-010

Струбцина трубки (d15) (Clamp, tube (d15))

под заказпо запросу 
2190604-ZW5-020

Струбцина трубки (d15) (Clamp, tube (d15))

под заказпо запросу 
2190604-ZW5-030

Струбцина трубки (d15) (Clamp, tube (d15))

под заказпо запросу 
2291553-ZV5-010

Воротниковая втулка корпуса модуля C.D.I. (Collar, c.d.i. unit case)

под заказ580 руб. 
2490603-ZW5-010

Струбцина трубки (d13) (Clamp, tube (d13))

под заказпо запросу 
2490603-ZW5-020

Струбцина трубки (d13) (Clamp, tube (d13))

под заказпо запросу 
2490603-ZW5-030

Струбцина трубки (d13) (Clamp, tube (d13))

под заказпо запросу 
2595003-050-203-1

Виниловая трубка, 3.5x6.5x200 (95003-05001-60m) (Tube, vinyl, 3.5x6.5x200 (95003-05001-60m))

под заказ110 руб. 
2695003-050-113-1

Виниловая трубка, 3.5x6.5x110 (95003-05001-60m) (Tube, vinyl, 3.5x6.5x110 (95003-05001-60m))

под заказпо запросу 
2790146-ZW4-000

Фланцевый болт, 6x50 (Bolt, flange, 6x50)

под заказ220 руб. 
2890155-ZW4-000

Фланцевый болт, 8x40 (Bolt, flange, 8x40)

под заказ250 руб. 
2916075-P07-000

Уплотнительное кольцо (O-ring)

под заказ250 руб. 
3090607-ZW5-003

Зажим, drain Трубка (Clip, drain tube)

под заказпо запросу 
3235675-ZW5-004

Датчик в сборе., map (Sensor assy., map)

под заказпо запросу 
3390010-ZW5-003

Винт с шайбой, 4x16 (Screw-washer, 4x16)

под заказпо запросу 
3490003-ZW2-000

Болт с шайбой, 6x27 (ct200) (Bolt-washer, 6x27 (ct200))

под заказ570 руб. 

Время выполнения запроса 1.9821999073029 сек.

 
 

данный сайт носит информационный характер и не является публичной офертой

склад запчастей для водомоторной техники