вконтакте

Контактный телефон: +7 (981) 121-46-93, +7 (800) 200-90-76 , Email: parts-katalog@yandex.ru, где купить

 
 

  Логин:

Пароль:

Регистрация

www.partskatalog.ru Все каталоги Запчасти Mercury Запчасти Suzuki Запчасти Tohatsu Запчасти Honda Контакты

назад Раздел:   вперёд

Модификация Вашего двигателя:   Honda BF130A2 XC
Модели с серийным номером двигателя от BEBE-1000001 до BEBE-9999999
Модели с серийным номером рамы от BZBE-1300001 до BZBE-1399999

Вернуться к выбору узлов мотора

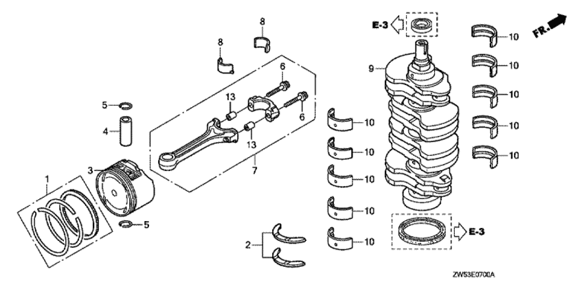
   Коленвал / Поршень
Crankshaft / Piston      


ДЕТАЛИРОВКА ДЛЯ МОДЕЛИ: HONDA BF130A2

Подвесной четырёх-тактный лодочный мотор Хонда BF130A2 - Коленвал / Поршень - Crankshaft / Piston
Номер на
рисунке
АртикулНаименованиеКол-во
на складе
Цена
113010-ZW5-000

Комплект поршневых колец (std.) (Ring set, piston (std.))

под заказ9250 руб. 
213014-PAA-800

Шайба set (Washer set)

под заказ5330 руб. 
313101-ZW5-000

Поршень (Piston)

под заказ10480 руб. 
413111-PEA-000

Штифт (Pin)

2 шт3600 руб. 
513115-P5A-000

Зажим (Clip)

5 шт450 руб. 
613204-P8A-A01

Болт (Bolt)

под заказ1360 руб. 
713210-PAA-A00

Rod comp (Rod comp)

под заказ38700 руб. 
813211-PAH-T01

Подшипник a (Bearing a)

под заказ4340 руб. 
813212-PAH-T01

Подшипник b (Bearing b)

под заказ4470 руб. 
813213-PAH-T01

Подшипник c (Bearing c)

под заказ4340 руб. 
813214-PAH-T01

Подшипник d (Bearing d)

под заказ4480 руб. 
813215-PAH-T01

Подшипник e (Bearing e)

под заказ4470 руб. 
813216-PAH-T01

Подшипник f (Bearing f)

под заказ4470 руб. 
813217-PAH-T01

Подшипник g (Bearing g)

под заказ4340 руб. 
913310-PEA-000

Коленчатый вал, комплект (Crankshaft comp.)

под заказ230900 руб. 
913310-ZW5-000

(последний код) CRANKSHAFT COMP.

под заказ193470 руб. 
1013321-PCA-003

Подшипник a (Bearing a)

под заказ5200 руб. 
1013322-PCA-003

Подшипник b (Bearing b)

под заказ5200 руб. 
1013323-PCA-003

Подшипник c (Bearing c)

под заказ6550 руб. 
1013324-PCA-003

Подшипник d (Bearing d)

под заказ5200 руб. 
1013325-PCA-003

Подшипник e (Bearing e)

под заказ5200 руб. 
1013326-PCA-003

Подшипник f (Bearing f)

под заказ6410 руб. 
1394301-10120

Шпонка (Dowel pin)

под заказ270 руб. 

Время выполнения запроса 0.74994897842407 сек.

 
 

данный сайт носит информационный характер и не является публичной офертой

склад запчастей для водомоторной техники