Контактный телефон: +7 (981) 121-46-93, +7 (800) 200-90-76 , Email: parts-katalog@yandex.ru, где купить |
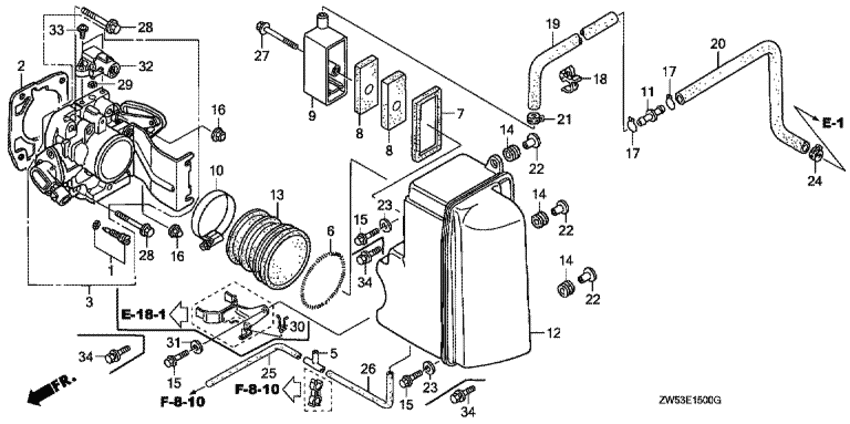
Модификация Вашего двигателя: Honda BF130AX XCD Вернуться к выбору узлов мотора Дроссель газа |
|||||||||||||||||||||||||||||||||||||||||||||||||||||||||||||||||||||||||||||||||||||||||||||||||||||||||||||||||||||||||||||||||||||||||||||||||||||||||||||||||||||||||||||||||||||||||||||||||||||||||||||||||||
| Номер на рисунке | Артикул | Наименование | Кол-во на складе | Цена | |
| 1 | 16016-PM6-005 | Набор винтов (Screw set) | под заказ | 1200 руб. | |
| 2 | 16176-P0A-004 | Прокладка (Gasket) | под заказ | 840 руб. | |
| 3 | 16400-ZW5-013 | Дроссель газа в сборе (Throttle body assy) | под заказ | 86770 руб. | |
| 5 | 17201-MG9-000 | Joint a, vacuum Трубка (Joint a, vacuum tube) | под заказ | 1670 руб. | |
| 6 | 17249-PS4-000 | Пружина (Spring) | под заказ | 1360 руб. | |
| 7 | 17272-PM3-000 | Прокладка (Packing) | под заказ | 1060 руб. | |
| 8 | 17274-PM3-000 | Element (Element) | под заказ | 1320 руб. | |
| 9 | 17275-ZW5-000 | Крышка элемента сапуна (Cover comp., breather element) | под заказ | по запросу | |
| 10 | 17316-ZW5-003 | Струбцина, air flow (70) (Clamp, air flow (70)) | под заказ | по запросу | |
| 11 | 17359-419-670 | Joint, breather Трубка (Joint, breather tube) | под заказ | 350 руб. | |
| 12 | 17371-ZW5-000 | Корпус глушителя (Case comp., silencer) | под заказ | 33190 руб. | |
| 13 | 17374-ZW5-000 | Пыльник глушителя (Grommet, silencer) | под заказ | по запросу | |
| 14 | 40102-ZV5-000 | Пыльник под корпусом (Grommet, under case) | под заказ | 430 руб. | |
| 15 | 90121-ZV0-000 | Фланцевый болт, 6x25 (Bolt, flange, 6x25) | под заказ | 380 руб. | |
| 15 | 90121-ZV0-010 | (последний код) BOLT, FLANGE, 6X25 | под заказ | 380 руб. | |
| 16 | 90208-438-000 | Гайка (Nut) | под заказ | 550 руб. | |
| 17 | 90605-ZV4-000 | Зажим трубки (b12.5) (Clip, tube (b12.5)) | под заказ | 120 руб. | |
| 18 | 90679-679-004 | Зажим (Clip) | под заказ | 560 руб. | |
| 19 | 91402-ZW5-000 | Трубка A сапуна (Tube a, breather) | под заказ | по запросу | |
| 20 | 91403-ZW5-000 | Трубка B сапуна (Tube b, breather) | под заказ | по запросу | |
| 21 | 90604-ZW5-000 | Струбцина трубки (d15) (Clamp, tube (d15)) | под заказ | по запросу | |
| 22 | 91553-ZV5-000 | Воротниковая втулка корпуса модуля C.D.I. (Collar, c.d.i. unit case) | под заказ | 580 руб. | |
| 23 | 9410306200 | Плоская шайба, 6 мм (Washer, plain, 6mm) | под заказ | 90 руб. | |
| 24 | 90603-ZW5-000 | Струбцина трубки (d13) (Clamp, tube (d13)) | под заказ | по запросу | |
| 25 | 95003-050-153-1 | Виниловая трубка, 3.5x6.5x150 (95003-05001-60m) (Tube, vinyl, 3.5x6.5x150 (95003-05001-60m)) | под заказ | по запросу | |
| 26 | 95003-050-193-1 | Виниловая трубка, 3.5x6.5x190 (95003-05001-60m) (Tube, vinyl, 3.5x6.5x190 (95003-05001-60m)) | под заказ | 140 руб. | |
| 27 | 95701-0605002 | Фланцевый болт, 6x50 (Bolt, flange, 6x50) | под заказ | по запросу | |
| 28 | 95701-0804002 | Фланцевый болт, 8x40 (Bolt, flange, 8x40) | под заказ | 150 руб. | |
| 29 | 16075-P07-000 | Уплотнительное кольцо (O-ring) | под заказ | 250 руб. | |
| 31 | 9410306200 | Плоская шайба, 6 мм (Washer, plain, 6mm) | под заказ | 90 руб. | |
| 32 | 35675-ZW5-004 | Датчик в сборе., map (Sensor assy., map) | под заказ | по запросу | |
| 33 | 90010-ZW5-003 | Винт с шайбой, 4x16 (Screw-washer, 4x16) | под заказ | по запросу | |
Время выполнения запроса 0.56956100463867 сек.
склад запчастей для водомоторной техники