Контактный телефон: +7 (981) 121-46-93, +7 (800) 200-90-76 , Email: parts-katalog@yandex.ru, где купить |
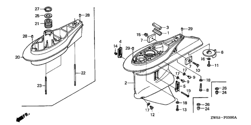
Модификация Вашего двигателя: Honda BF115A1 XCC Вернуться к выбору узлов мотора Картер коробки передач |
|||||||||||||||||||||||||||||||||||||||||||||||||||||||||||||||||||||||||||||||||||||||||||||||||||||||||||||||||||||||||||||||||||||||||||||||||||||||||||||||||||||||||||||||
| Номер на рисунке | Артикул | Наименование | Кол-во на складе | Цена | |
| 1 | 19286-ZW1-B00 | Пластина, установочная резинка (Plate, rubber setting) | под заказ | 920 руб. | |
| 2 | 41101-ZW1-B02ZA | Картер коробки передач *nh282mu * (Case, gear *nh282mu *) | под заказ | 227670 руб. | |
| 3 | 41102-ZW1-B00 | Пыльник картера коробки передач (Grommet, gear case) | под заказ | 1180 руб. | |
| 4 | 41104-ZV5-000 | Экран для воды, правый (Screen, r. water) | 1 шт | 1520 руб. | |
| 5 | 41105-ZV5-000 | Экран для воды, левый (Screen, l. water) | 1 шт | 1400 руб. | |
| 6 | 41107-ZW1-B01ZA | Пластина трима *nh282mu * (Tab, trim *nh282mu *) | под заказ | 13010 руб. | |
| 7 | 41109-ZW1-B00 | Металлический анод (Metal comp., anode) | 4 шт | 3780 руб. | |
| 9 | 90105-ZV4-650 | Болт контроля уровня масла, 8x8 (Bolt, oil check, 8x8) | под заказ | 670 руб. | |
| 9 | 90105-ZVA-000 | (последний код) BOLT, OIL CHECK, 8X8 | 15 шт | 670 руб. | |
| 10 | 90111-881-000 | Болт под шестигранник., 6x32 (Bolt, hex., 6x32) | под заказ | 380 руб. | |
| 11 | 90115-ZV5-000 | Болт под шестигранник., 8x25 (Bolt, hex., 8x25) | под заказ | 530 руб. | |
| 12 | 90120-ZV5-003 | Болт дренажной заглушки, 8 мм (Bolt, drain plug, 8mm) | под заказ | 910 руб. | |
| 14 | 90302-ZV4-000 | Гайка с замком, 5 мм (Nut, self-lock, 5mm) | под заказ | 1270 руб. | |
| 15 | 90205-PP9-020 | Гайка с замком, 6 мм (Nut, self-lock, 6mm) | под заказ | 1360 руб. | |
| 16 | 90401-ZW1-000 | Плоская шайба, 8 мм (Washer, plain, 8mm) | 4 шт | 280 руб. | |
| 17 | 90507-921-000 | Нейлоновая шайба, 8 мм (Washer, nylon, 8mm) | 12 шт | 120 руб. | |
| 19 | 93700-050-454-J | Овальный винт, 5x45 (Screw, oval, 5x45) | под заказ | 300 руб. | |
| 20 | 40202-ZW1-710ZA | Удлинение корпуса *nh282mu * (Separator, extension *nh282mu *) | под заказ | 240610 руб. | |
| 21 | 40210-ZW1-710 | Втулка вертикального вала (Bush comp., vertical shaft) | под заказ | 4480 руб. | |
| 22 | 90124-ZW1-910 | Болт под шпильку (10x202) (Bolt, stud (10x202)) | под заказ | 4040 руб. | |
| 23 | 90125-ZW1-910 | Болт под шпильку (10x164) (Bolt, stud (10x164)) | под заказ | 3640 руб. | |
| 24 | 90306-ZV5-003 | Гайка с замком, 10 мм (Nut, self-lock, 10mm) | под заказ | 650 руб. | |
| 25 | 90501-ZW1-710 | Шайба, 26 мм (Washer, 26mm) | под заказ | 3750 руб. | |
| 26 | 90563-ZV5-000 | Плоская шайба, 10 мм (Washer, plain, 10mm) | под заказ | 500 руб. | |
| 27 | 90651-ZW1-710 | Внутреннее стопорное кольцо, 40 (Circlip, internal, 40) | под заказ | 510 руб. | |
| 28 | 90756-ZV5-000 | Шпонка, 6x10 (Dowel pin, 6x10) | 1 шт | 220 руб. | |
Время выполнения запроса 0.46814799308777 сек.
склад запчастей для водомоторной техники