Контактный телефон: +7 (981) 121-46-93, +7 (800) 200-90-76 , Email: parts-katalog@yandex.ru, где купить |
Модификация Вашего двигателя: Honda BF115A1 LC Вернуться к выбору узлов мотора Блок цилиндра |
||||||||||||||||||||||||||||||||||||||||||||||||||||||||||||||||||||||||||||||||||||||||||||||||||||||||||||||||||||||||||||||||||||||||||||||||||||||||||||||||||||||||||||||||||||||||||||||||||||||||||||||||||||||||||||||||||||||||||||||||||||||||||||||||||||||||||||||||||||||||||||||||||||||||||||
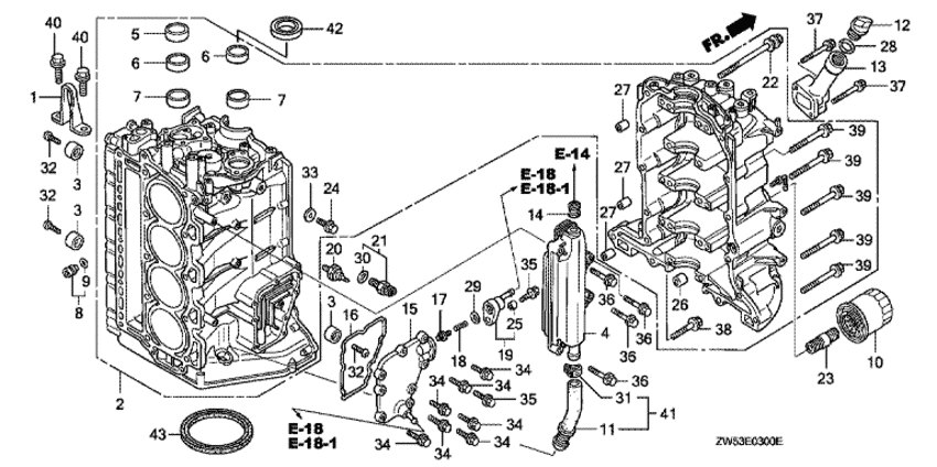
| Номер на рисунке | Артикул | Наименование | Кол-во на складе | Цена | |
| 1 | 11911-ZW5-000 | Подвес двигателя (Hanger, engine) | под заказ | 3110 руб. | |
| 1 | 11911-ZW5-010 | (последний код) HANGER, ENGINE | под заказ | 3110 руб. | |
| 2 | 12000-ZW5-000ZA | Блок цилиндров в сборе (частично) *nh8 * (Block assy., cylinder *nh8 *) | под заказ | 335970 руб. | |
| 2 | 12000-ZW5-020ZA | (последний код) BLOCK ASSY., CYLINDER *NH | под заказ | 357050 руб. | |
| 2 | 12000-ZW5-010ZA | Блок цилиндров в сборе (частично) *nh8 * (Block assy., cylinder *nh8 *) | под заказ | 341010 руб. | |
| 3 | 12155-ZV5-000 | Металлический анод (Metal, anode) | 1 шт | 1370 руб. | |
| 4 | 12340-ZW5-000 | Chamber comp., pcv (Chamber comp., pcv) | под заказ | 1980 руб. | |
| 5 | 13421-PT0-003 | Metal (Metal) | под заказ | 4100 руб. | |
| 6 | 13422-PT0-013 | Metal (Metal) | под заказ | 4100 руб. | |
| 7 | 13423-PT0-003 | Metal (Metal) | под заказ | 4100 руб. | |
| 8 | 15140-PH3-000 | Orifice в сборе (Orifice assy) | под заказ | 2350 руб. | |
| 9 | 15142-PH3-003 | Уплотнительное кольцо (O-ring) | под заказ | 330 руб. | |
| 10 | 15400-ZJ1-004 | Картридж масляного фильтра (toyo roki) (Cartridge, oil filter (toyo roki)) | под заказ | 2210 руб. | |
| 10 | 15400-PLM-A02PE | (последний код) FILTER,OIL | под заказ | 2200 руб. | |
| 10 | W814/80 | (не оригинальный аналог) Масляный фильтр MANN W814/80 (аналог 15400-ZJ1-004) | под заказ | 1100 руб. | |
| 12 | 15611-921-000 | Крышка заливной горловины масла (жёлтый) (Cap, oil (yellow)) | под заказ | 1030 руб. | |
| 13 | 15631-ZW5-000ZA | Расширение масляного фильтра *nh8 * (Extension, oil filler *nh8 *) | под заказ | по запросу | |
| 14 | 17139-PK1-000 | Пыльник (Grommet) | под заказ | 440 руб. | |
| 15 | 19380-ZW5-000ZA | Крышка, oil water jacket *nh8 * (Cover comp., oil water jacket *nh8 *) | под заказ | по запросу | |
| 16 | 19382-ZW5-000 | Прокладка корпуса масляной рубашки (Packing, oil water jacket cover) | под заказ | 1140 руб. | |
| 17 | 19391-ZW5-000 | Клапан, oil water jacket pressure (Valve, oil water jacket pressure) | под заказ | по запросу | |
| 18 | 19392-ZW5-000 | Пружина, oil water jacket pressure Клапан (Spring, oil water jacket pressure valve) | под заказ | по запросу | |
| 19 | 19393-ZW5-000 | Держатель клапана давления масляной рубашки (Holder, oil water jacket pressure valve) | под заказ | по запросу | |
| 20 | 35490-ZW5-003 | Выключатель при низком давлении масла (Switch assy., oil pressure) | 2 шт | 5820 руб. | |
| 21 | 35673-ZW5-003 | Датчик температуры воды, в сборе (Sensor assy., water temperature) | 2 шт | 2580 руб. | |
| 22 | 90001-ZW5-003 | Болт с шайбой, 11x131 (Bolt-washer, 11x131) | под заказ | по запросу | |
| 22 | 90001-ZW5-013 | Болт с шайбой, 11x131 (Bolt-washer, 11x131) | под заказ | по запросу | |
| 23 | 90015-PH1-013 | Держатель (Holder) | под заказ | 1140 руб. | |
| 24 | 90061-PT0-000 | Болт (Bolt) | под заказ | 800 руб. | |
| 25 | 90311-GK8-000 | Воротник, 6 мм (Collar, 6mm) | под заказ | 280 руб. | |
| 26 | 90703-PE0-000 | Шпонка (Dowel pin) | под заказ | 680 руб. | |
| 27 | 90715-PC6-000 | Шпонка (Dowel pin) | под заказ | 520 руб. | |
| 28 | 91301-805-000 | Уплотнительное кольцо, 26x2.7 (O-ring, 26x2.7) | под заказ | 380 руб. | |
| 29 | 91305-KK4-003 | Уплотнительное кольцо, 16.5x2.5 (arai) (O-ring, 16.5x2.5 (arai)) | под заказ | по запросу | |
| 30 | 91307-PK2-005 | Уплотнительное кольцо (O-ring) | 1 шт | 430 руб. | |
| 32 | 93500-060184J | Винт с чашечкой, 6x18 (Screw, pan, 6x18) | под заказ | 240 руб. | |
| 33 | 94109-12000 | Шайба (Washer) | 3 шт | 100 руб. | |
| 34 | 90018-ZW5-000 | Фланцевый болт, 6x20 (Bolt, flange, 6x20) | под заказ | 290 руб. | |
| 35 | 90019-ZW5-000 | Фланцевый болт, 6x25 (Bolt, flange, 6x25) | под заказ | по запросу | |
| 36 | 95701-0603502 | Фланцевый болт, 6x35 (Bolt, flange, 6x35) | под заказ | 120 руб. | |
| 37 | 95701-060-400-2 | Фланцевый болт, 6x40 (Bolt, flange, 6x40) | под заказ | 150 руб. | |
| 38 | 90012-ZW5-000 | Фланцевый болт, 10x40 (Bolt, flange, 10x40) | под заказ | по запросу | |
| 39 | 95701-100-550-2 | Фланцевый болт, 10x55 (Bolt, flange, 10x55) | под заказ | по запросу | |
| 40 | 95701-120-300-2 | Фланцевый болт, 12x30 (Bolt, flange, 12x30) | под заказ | 350 руб. | |
| 41 | 06154-ZW5-000 | Масляная трубка, комплект (Tube set, oil) | под заказ | 2870 руб. | |
| 42 | 91212-ZW5-003 | Сальник, 40x52x7 (Oil seal, 40x52x7) | под заказ | 2820 руб. | |
| 43 | 91214-PL2-003 | Сальник (Oil seal) | под заказ | 5150 руб. | |
Время выполнения запроса 4.6981971263885 сек.
склад запчастей для водомоторной техники