вконтакте

Контактный телефон: +7 (981) 121-46-93, +7 (800) 200-90-76 , Email: parts-katalog@yandex.ru, где купить

 
 

  Логин:

Пароль:

Регистрация

www.partskatalog.ru Все каталоги Запчасти Mercury Запчасти Suzuki Запчасти Tohatsu Запчасти Honda Контакты

назад Раздел:   вперёд

Модификация Вашего двигателя:   Honda BF115A2 LCE
Модели с серийным номером двигателя от BEBD-1100001 до BEBD-9999999
Модели с серийным номером рамы от BZBG-1300061 до BZBG-1399999

Вернуться к выбору узлов мотора

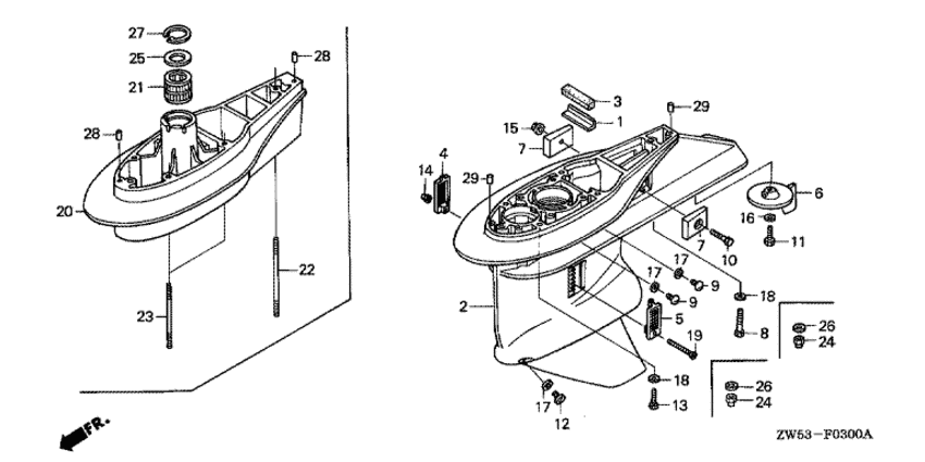
   Картер коробки передач
Gear Case      


ДЕТАЛИРОВКА ДЛЯ МОДЕЛИ: HONDA BF115A2

Подвесной четырёхтактный лодочный мотор BF115A2 - Gear Case
Номер на
рисунке
АртикулНаименованиеКол-во
на складе
Цена
119286-ZW1-B00

Пластина, установочная резинка (Plate, rubber setting)

под заказ920 руб. 
241101-ZW5-711ZA

Картер коробки передач *nh282mu * (Case, gear *nh282mu *)

под заказ132140 руб. 
341102-ZW1-B00

Пыльник картера коробки передач (Grommet, gear case)

под заказ1180 руб. 
441104-ZV5-000

Экран для воды, правый (Screen, r. water)

1 шт1520 руб. 
541105-ZV5-000

Экран для воды, левый (Screen, l. water)

1 шт1400 руб. 
641107-ZW1-B01ZA

Пластина трима *nh282mu * (Tab, trim *nh282mu *)

под заказ13010 руб. 
741109-ZW1-B00

Металлический анод (Metal comp., anode)

4 шт3780 руб. 
890104-ZW5-000

Болт под шестигранник., 10x80 (Bolt, hex., 10x80)

под заказ2760 руб. 
990101-ZW9-003

Болт контроля уровня масла (Bolt, oil check)

под заказ790 руб. 
1090111-881-000

Болт под шестигранник., 6x32 (Bolt, hex., 6x32)

под заказ380 руб. 
1190115-ZV5-000

Болт под шестигранник., 8x25 (Bolt, hex., 8x25)

под заказ530 руб. 
1290120-ZY3-000

Болт дренажной заглушки (Bolt, drain plug)

2 шт3720 руб. 
1390123-ZV5-010

Болт под шестигранник., 10x40 (Bolt, hex., 10x40)

7 шт1030 руб. 
1490302-ZV4-000

Гайка с замком, 5 мм (Nut, self-lock, 5mm)

под заказ1270 руб. 
1590205-PP9-020

Гайка с замком, 6 мм (Nut, self-lock, 6mm)

под заказ1360 руб. 
1690401-ZW1-000

Плоская шайба, 8 мм (Washer, plain, 8mm)

4 шт280 руб. 
1791301-ZW4-003

Уплотнительное кольцо, 6.9x1.45 (O-ring, 6.9x1.45)

52 шт270 руб. 
1890563-ZV5-000

Плоская шайба, 10 мм (Washer, plain, 10mm)

под заказ500 руб. 
1993700-050-454-J

Овальный винт, 5x45 (Screw, oval, 5x45)

под заказ300 руб. 
2990756-ZV5-000

Шпонка, 6x10 (Dowel pin, 6x10)

1 шт220 руб. 

Время выполнения запроса 0.70367097854614 сек.

 
 

данный сайт носит информационный характер и не является публичной офертой

склад запчастей для водомоторной техники