Контактный телефон: +7 (981) 121-46-93, +7 (800) 200-90-76 , Email: parts-katalog@yandex.ru, где купить |
Модификация Вашего двигателя: Honda BF115A2 XCD Вернуться к выбору узлов мотора Панель управления |
|||||||||||||||||||||||||||||||||||||||||||||||||||||||||||||||||||||||||||||||||||||||||||||||||||||||||||||||||||||||||||||||||||||||||||||||||||||||||||||||||||||||||||||||||||||||||||||||||
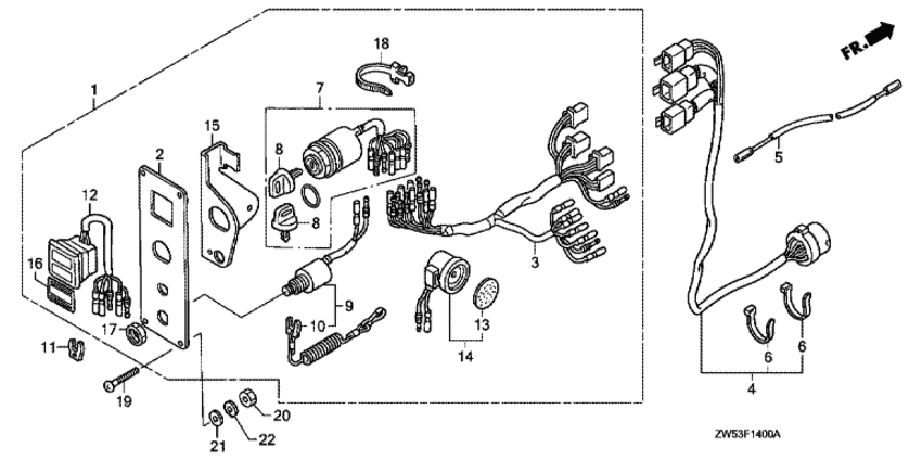
| Номер на рисунке | Артикул | Наименование | Кол-во на складе | Цена | |
| 1 | 32340-ZW5-033 | Контрольная панель, в сборе (2-led) (Panel assy., control (2-led)) | под заказ | 38320 руб. | |
| 1 | 32340-ZW5-506 | (последний код) PANEL ASSY,CONTRO | под заказ | 47760 руб. | |
| 1 | 32340-ZW5-043 | Контрольная панель, в сборе (2-led) (Panel assy., control (2-led)) | под заказ | 38320 руб. | |
| 2 | 32346-ZW1-V04 | Контрольная панель (Panel, control) | под заказ | 3350 руб. | |
| 2 | 32346-ZW1-505 | (последний код) PANEL CONTROL | под заказ | 1950 руб. | |
| 3 | 32545-ZW1-V03 | Жгут проводов панели переключателей (Harness assy., switch panel) | под заказ | 13930 руб. | |
| 4 | 32580-ZY3-000 | Кабель панели переключателей (Cable assy., switch panel) | под заказ | 27130 руб. | |
| 4 | 32580-ZW2-D01 | (последний код) CABLE ASSY., SWITCH PANEL | под заказ | 21770 руб. | |
| 6 | 32901-952-770 | Хомут кабеля (natural 2.4x92) (Tie, cable (natural 2.4x92)) | под заказ | 40 руб. | |
| 7 | 35100-ZV5-003 | Комбинированный выключатель, в сборе (Switch assy., combination) | 1 шт | 25590 руб. | |
| 8 | 35110-ZV5-003 | Ключ комбинированного выключателя, в сборе (Key assy., combination switch) | 2 шт | 1580 руб. | |
| 9 | 36180-ZV5-013 | Выключатель - аварийный останов двигателя, в сборе (Switch assy., emergency stop) | под заказ | 10010 руб. | |
| 9 | 36180-ZV5-033 | (последний код) SWITCH ASSY., EMERGENCY S | под заказ | 10010 руб. | |
| 9 | 36180-ZV5-023 | Выключатель - аварийный останов двигателя, в сборе (Switch assy., emergency stop) | под заказ | 10010 руб. | |
| 10 | 36182-ZV4-650 | Шнур аварийной остановки двигателя (Cord comp., emergency) | под заказ | 3330 руб. | |
| 10 | 36182-ZV4-651 | (последний код) CORD COMP., EMERGENCY | под заказ | 3330 руб. | |
| 11 | 36187-ZV4-651 | Клипса аварийной блокировки (Clip, emergency lock) | под заказ | 1240 руб. | |
| 11 | 36187-ZV4-652 | (последний код) CLIP, EMERGENCY LOCK | 5 шт | 1240 руб. | |
| 12 | 37210-ZW1-702 | Индикаторные лампы (2-led) (Lamp assy., indication (2-led)) | под заказ | 19720 руб. | |
| 13 | 38403-341-672 | Пластина зуммера (Plate, winker buzzer) | под заказ | 820 руб. | |
| 14 | 38410-ZV5-003 | Предупреждающий зуммер (Buzzer comp., warning) | под заказ | 10770 руб. | |
| 15 | 38414-ZW1-V02 | Кронштейн зуммера (Bracket, buzzer) | под заказ | по запросу | |
| 16 | 87120-ZW5-000 | Маркировка, Панель переключателей (Mark, switch panel) | под заказ | по запросу | |
| 17 | 90302-921-000 | Шестигранная гайка, 16 мм (Nut, hex., 16mm) | 2 шт | 570 руб. | |
| 18 | 90649-SC2-003 | Ремешок (Band) | под заказ | 920 руб. | |
| 19 | 90109-ZW5-000 | Винт с чашечкой, 5x40 (Screw, pan, 5x40) | под заказ | 280 руб. | |
| 20 | 94001-054900S | Шестигранная гайка, 5 мм (Nut, hex., 5mm) | 1 шт | 110 руб. | |
| 21 | 90502-ZV4-000 | Плоская шайба, 5 мм (Washer, plain, 5mm) | 2 шт | 550 руб. | |
| 22 | 94111-05400 | Шайба (Washer) | под заказ | 90 руб. | |
Время выполнения запроса 2.9575550556183 сек.
склад запчастей для водомоторной техники