вконтакте

Контактный телефон: +7 (981) 121-46-93, +7 (800) 200-90-76 , Email: parts-katalog@yandex.ru, где купить

 
 

  Логин:

Пароль:

Регистрация

www.partskatalog.ru Все каталоги Запчасти Mercury Запчасти Suzuki Запчасти Tohatsu Запчасти Honda Контакты



УВАЖАЕМЫЕ КЛИЕНТЫ!
C 19 ДЕКАБРЯ 2025 ПО 02 МАРТА 2026 ГОДА ОТДЕЛ ЗАПЧАСТЕЙ И СЕРВИС РАБОТАТЬ НЕ БУДУТ
ПРОДАЖА ЛОДОЧНЫХ МОТОРОВ В ШТАТНОМ РЕЖИМЕ
ОБ ИЗМЕНЕНИЯХ В ГРАФИКЕ РАБОТЫ ЧИТАЙТЕ НА САЙТА



назад Раздел:   вперёд

Модификация Вашего двигателя:   Honda BF115A2 LC
Модели с серийным номером двигателя от BEBD-1000001 до BEBD-9999999
Модели с серийным номером рамы от BZBD-1300001 до BZBD-1399999

Вернуться к выбору узлов мотора

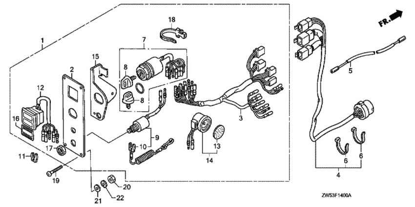
   Панель управления
Control Panel      


ДЕТАЛИРОВКА ДЛЯ МОДЕЛИ: HONDA BF115A2

Подвесной 4x-тактный двигатель HONDA BF115A2 - Control Panel - Панель управления
Номер на
рисунке
АртикулНаименованиеКол-во
на складе
Цена
132340-ZW5-033

Контрольная панель, в сборе (2-led) (Panel assy., control (2-led))

под заказ38320 руб. 
132340-ZW5-506

(последний код) PANEL ASSY,CONTRO

под заказ47760 руб. 
232346-ZW1-V04

Контрольная панель (Panel, control)

под заказ3350 руб. 
232346-ZW1-505

(последний код) PANEL CONTROL

под заказ1950 руб. 
332545-ZW1-V01

Жгут проводов панели переключателей (Harness assy., switch panel)

под заказпо запросу 
332545-ZW1-V02

Жгут проводов панели переключателей (Harness assy., switch panel)

под заказ13930 руб. 
332545-ZW1-V03

(последний код) HARNESS ASSY., SWITCH PAN

под заказ13930 руб. 
432580-ZW1-V01

Кабель панели переключателей (Cable assy., switch panel)

под заказ21790 руб. 
432580-ZW2-D01

(последний код) CABLE ASSY., SWITCH PANEL

под заказ21770 руб. 
432580-ZY3-000

Кабель панели переключателей (Cable assy., switch panel)

под заказ27130 руб. 
532600-ZW1-900

Провод ЗЕМЛЯ (bonding) (Cord assy., earth (bonding))

под заказ2630 руб. 
632901-952-770

Хомут кабеля (natural 2.4x92) (Tie, cable (natural 2.4x92))

под заказ40 руб. 
735100-ZV5-003

Комбинированный выключатель, в сборе (Switch assy., combination)

1 шт25590 руб. 
835110-ZV5-003

Ключ комбинированного выключателя, в сборе (Key assy., combination switch)

2 шт1580 руб. 
936180-ZV5-013

Выключатель - аварийный останов двигателя, в сборе (Switch assy., emergency stop)

под заказ10010 руб. 
936180-ZV5-033

(последний код) SWITCH ASSY., EMERGENCY S

под заказ10010 руб. 
1036182-ZV4-650

Шнур аварийной остановки двигателя (Cord comp., emergency)

под заказ3330 руб. 
1036182-ZV4-651

(последний код) CORD COMP., EMERGENCY

под заказ3330 руб. 
1136187-ZV4-651

Клипса аварийной блокировки (Clip, emergency lock)

под заказ1240 руб. 
1136187-ZV4-652

(последний код) CLIP, EMERGENCY LOCK

5 шт1240 руб. 
1237210-ZW1-702

Индикаторные лампы (2-led) (Lamp assy., indication (2-led))

под заказ19720 руб. 
1338403-341-672

Пластина зуммера (Plate, winker buzzer)

под заказ820 руб. 
1438410-ZV5-003

Предупреждающий зуммер (Buzzer comp., warning)

под заказ10770 руб. 
1538414-ZW1-V02

Кронштейн зуммера (Bracket, buzzer)

под заказпо запросу 
1687120-ZW5-000

Маркировка, Панель переключателей (Mark, switch panel)

под заказпо запросу 
1790302-921-000

Шестигранная гайка, 16 мм (Nut, hex., 16mm)

2 шт570 руб. 
1890649-SC2-003

Ремешок (Band)

под заказ920 руб. 
1993500-050-401-B

Винт с чашечкой, 5x40 (Screw, pan, 5x40)

под заказпо запросу 
2094001-054900S

Шестигранная гайка, 5 мм (Nut, hex., 5mm)

1 шт110 руб. 
2190502-ZV4-000

Плоская шайба, 5 мм (Washer, plain, 5mm)

2 шт550 руб. 
2294111-05400

Шайба (Washer)

под заказ90 руб. 

Время выполнения запроса 2.1546890735626 сек.

 
 

данный сайт носит информационный характер и не является публичной офертой

склад запчастей для водомоторной техники