вконтакте

Контактный телефон: +7 (981) 121-46-93, +7 (800) 200-90-76 , Email: parts-katalog@yandex.ru, где купить

 
 

  Логин:

Пароль:

Регистрация

www.partskatalog.ru Все каталоги Запчасти Mercury Запчасти Suzuki Запчасти Tohatsu Запчасти Honda Контакты



УВАЖАЕМЫЕ КЛИЕНТЫ!
C 19 ДЕКАБРЯ 2025 ПО 02 МАРТА 2026 ГОДА ОТДЕЛ ЗАПЧАСТЕЙ И СЕРВИС РАБОТАТЬ НЕ БУДУТ
ПРОДАЖА ЛОДОЧНЫХ МОТОРОВ В ШТАТНОМ РЕЖИМЕ
ОБ ИЗМЕНЕНИЯХ В ГРАФИКЕ РАБОТЫ ЧИТАЙТЕ НА САЙТА



назад Раздел:   вперёд

Модификация Вашего двигателя:   Honda BF90DK0 EFI; XRTD
Модели с серийным номером двигателя от BEBCJ-1000001 до BEBCJ-
Модели с серийным номером рамы от BBCJ-1000001 до BBCJ-

Вернуться к выбору узлов мотора

   Наборы для ремонта водяного насоса
Impeller Pump Kit      


ДЕТАЛИРОВКА ДЛЯ МОДЕЛИ: HONDA BF90DK0

Двигатель BF90DK0 - Наборы для ремонта водяного насоса / Impeller Pump Kit
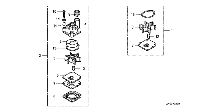
Номер на
рисунке
АртикулНаименованиеКол-во
на складе
Цена
106192-ZW1-000

Ремкомплект водяной помпы (Pump kit, impeller)

2 шт9340 руб. 
1SK06192-ZW1-000

   (не оригинальный аналог) Ремкомплект помпы Standard Skipper для Honda 90-115

0 шт1838 руб.
1T-06192-ZW1-000

   (не оригинальный аналог) Ремкомплект насоса охлаждения Honda 06192-ZW1-000 (MIZASHI)

под заказпо запросу
206193-ZZ0-000

Ремкомплект водяной помпы (Pump kit, impeller)

под заказ26600 руб. 
319210-ZW1-B04

Крыльчатка водяной помпы (Impeller, pump)

2 шт7350 руб. 
3T-500337

   (не оригинальный аналог) Крыльчатка помпы охлаждения двигателя Honda 500337 (CEF)

под заказ3170 руб.
3T-19210-ZW1-B02

   (не оригинальный аналог) Крыльчатка помпы охлаждения двигателя Honda 19210-ZW1-B02 (MIZASHI)

под заказ1670 руб.
3T-06192-ZW1-000

   (не оригинальный аналог) Ремкомплект насоса охлаждения Honda 06192-ZW1-000 (MIZASHI)

под заказпо запросу
3T-06192-ZY6-000

   (не оригинальный аналог) Ремкомплект насоса охлаждения Honda 06192-ZY6-000 (MIZASHI)

под заказпо запросу
3T-SC-WT094

   (не оригинальный аналог) Крыльчатка помпы охлаждения двигателя Honda SC-WT094 (MIZASHI)

под заказ1500 руб.
419221-ZY6-000

Корпус крыльчатки (Housing, impeller)

под заказ10320 руб. 
519223-ZW1-B00

Гильза помпы (Liner, pump)

3 шт4850 руб. 
619231-ZY6-000

Колпак крыльчатки (Cover, impeller)

1 шт3640 руб. 
719234-ZW1-B00

Прокладка B крыльчатки (Gasket b, impeller)

5 шт1420 руб. 
819242-ZW1-B00

Прокладка водяной помпы (Gasket, water pump)

5 шт1220 руб. 
919253-ZW1-B01

Кольцо сальника водяной трубки (Ring, water tube seal)

4 шт790 руб. 
1090010-ZV5-000

Болт под шестигранник., 8x55 (Bolt, hex., 8x55)

4 шт670 руб. 
1190514-921-000

Шайба, 8 мм (Washer, 8mm)

2 шт320 руб. 
1290752-ZW1-B02

Ключ, woodruff (Key, woodruff)

4 шт1220 руб. 
1391356-ZW1-B00

Уплотнительное кольцо водяной помпы (O-ring, water pump)

8 шт1760 руб. 
1491552-ZY6-000

Промежуточный воротник (Collar, distance)

под заказ740 руб. 

Время выполнения запроса 0.46574306488037 сек.

 
 

данный сайт носит информационный характер и не является публичной офертой

склад запчастей для водомоторной техники