вконтакте

Контактный телефон: +7 (981) 121-46-93, +7 (800) 200-90-76 , Email: parts-katalog@yandex.ru, где купить

 
 

  Логин:

Пароль:

Регистрация

www.partskatalog.ru Все каталоги Запчасти Mercury Запчасти Suzuki Запчасти Tohatsu Запчасти Honda Контакты

назад Раздел:   вперёд

Модификация Вашего двигателя:   Honda BF90DK0 EFI; XRTU
Модели с серийным номером двигателя от BEBCJ-1000001 до BEBCJ-
Модели с серийным номером рамы от BBCJ-1000001 до BBCJ-

Вернуться к выбору узлов мотора

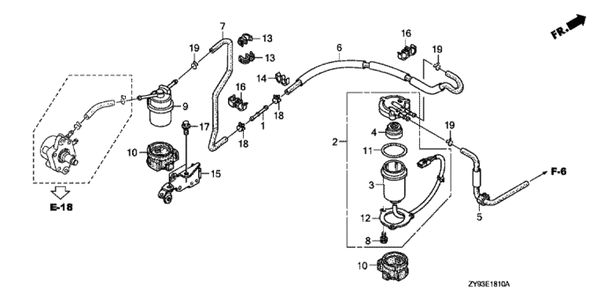
   Водоотделитель
Water Separator      


ДЕТАЛИРОВКА ДЛЯ МОДЕЛИ: HONDA BF90DK0

Подвесной четырёх-тактный лодочный двигатель BF90DK0 - Водоотделитель - Water Separator
Номер на
рисунке
АртикулНаименованиеКол-во
на складе
Цена
116723-RMA-E00

Соеденитель шланга подачи топлива (Joint, fuel feed hose)

под заказ1050 руб. 
216800-ZY9-003

Водяной сепаратор, в сборе (Separator assy., water)

под заказ42680 руб. 
316805-ZY9-003

Cвыше, Водоотделитель (Cup, water separator)

под заказ32980 руб. 
416807-ZY3-003

Буффер пластины (Buffer, plate)

под заказ7770 руб. 
516850-ZY9-000

Топливная трубка шланг A (Tube comp. a, fuel)

под заказ2050 руб. 
616860-ZY9-000

Топливная трубка шланг B (Tube comp. b, fuel)

под заказ1470 руб. 
716871-ZY9-000

Топливная трубка C (Tube c, fuel)

под заказ1350 руб. 
816904-ZY3-003

Винт с чашечкой, 5x12 (Screw, pan, 5x12)

под заказ920 руб. 
916910-ZY9-004

Топливный фильтр (сетчатый) (Strainer comp., fuel)

3 шт2370 руб. 
1016915-ZY3-010

Подвес для топливного фильтра (Suspension, strainer)

под заказ2570 руб. 
1116918-ZY3-003

Уплотнительное кольцо (O-ring)

3 шт1270 руб. 
1216919-ZY3-003

Пластина (Plate)

под заказ2320 руб. 
1317439-PY3-A01

Струбцина (Clamp)

под заказ570 руб. 
1419526-PN4-000

Струбцина (Clamp)

под заказ370 руб. 
1532112-ZY9-000

Кронштейн B зажима проводов (Bracket b, harness clip)

под заказ3470 руб. 
1653740-SE0-953

Зажим (Clip)

под заказ430 руб. 
1790011-ZW9-000

Фланцевый болт, 6x14 (ct200) (Bolt, flange, 6x14 (ct200))

под заказ370 руб. 
1890602-ZW5-010

Струбцина трубки (d12) (Clamp, tube (d12))

под заказ560 руб. 
1890602-ZW5-020

(последний код) CLAMP, TUBE (D12)

под заказ560 руб. 
1890602-ZW5-030

Струбцина трубки (d12) (Clamp, tube (d12))

под заказ560 руб. 
1990604-ZV0-000

Зажим трубки (b12) (Clip, tube (b12))

под заказ150 руб. 

Время выполнения запроса 1.5591511726379 сек.

 
 

данный сайт носит информационный характер и не является публичной офертой

склад запчастей для водомоторной техники