вконтакте

Контактный телефон: +7 (981) 121-46-93, +7 (800) 200-90-76 , Email: parts-katalog@yandex.ru, где купить

 
 

  Логин:

Пароль:

Регистрация

www.partskatalog.ru Все каталоги Запчасти Mercury Запчасти Suzuki Запчасти Tohatsu Запчасти Honda Контакты



УВАЖАЕМЫЕ КЛИЕНТЫ!
C 19 ДЕКАБРЯ 2025 ПО 02 МАРТА 2026 ГОДА ОТДЕЛ ЗАПЧАСТЕЙ И СЕРВИС РАБОТАТЬ НЕ БУДУТ
ПРОДАЖА ЛОДОЧНЫХ МОТОРОВ В ШТАТНОМ РЕЖИМЕ
ОБ ИЗМЕНЕНИЯХ В ГРАФИКЕ РАБОТЫ ЧИТАЙТЕ НА САЙТА



назад Раздел:   вперёд

Модификация Вашего двигателя:   Honda BF90DK0 EFI; LRTL
Модели с серийным номером двигателя от BEBCJ-1000001 до BEBCJ-
Модели с серийным номером рамы от BBCJ-1000001 до BBCJ-

Вернуться к выбору узлов мотора

   Панель управления (dual) (2-led)
Control Panel (dual) (2-led)      


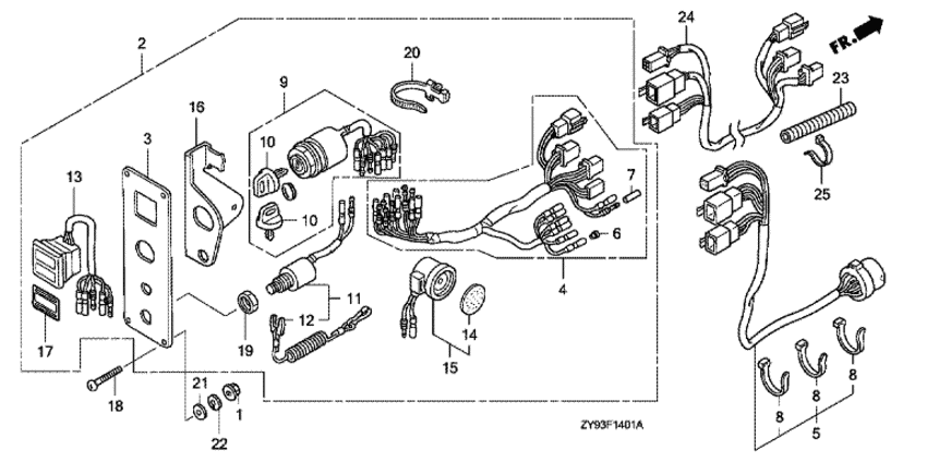
ДЕТАЛИРОВКА ДЛЯ МОДЕЛИ: HONDA BF90DK0

Двигатель BF90DK0 - Панель управления (dual) (2-led) / Control Panel (dual) (2-led)
Номер на
рисунке
АртикулНаименованиеКол-во
на складе
Цена
118334-MT8-770

Гайка с фланцем, 5 мм (Nut, flange, 5mm)

под заказ200 руб. 
232340-ZW5-043

Контрольная панель, в сборе (2-led) (Panel assy., control (2-led))

под заказ38320 руб. 
232340-ZW5-506

(последний код) PANEL ASSY,CONTRO

под заказ47760 руб. 
332346-ZW1-V04

Контрольная панель (Panel, control)

под заказ3350 руб. 
332346-ZW1-505

(последний код) PANEL CONTROL

под заказ1950 руб. 
432545-ZW1-V03

Жгут проводов панели переключателей (Harness assy., switch panel)

под заказ13930 руб. 
532580-ZY3-000

Кабель панели переключателей (Cable assy., switch panel)

под заказ27130 руб. 
532580-ZW2-D01

(последний код) CABLE ASSY., SWITCH PANEL

под заказ21770 руб. 
632823-ZV5-003

Заглушка внутреннего разъёма (Plug, inner connector)

под заказ960 руб. 
832901-952-770

Хомут кабеля (natural 2.4x92) (Tie, cable (natural 2.4x92))

под заказ40 руб. 
935100-ZV5-003

Комбинированный выключатель, в сборе (Switch assy., combination)

1 шт25590 руб. 
1035110-ZV5-003

Ключ комбинированного выключателя, в сборе (Key assy., combination switch)

2 шт1580 руб. 
1136180-ZV5-023

Выключатель - аварийный останов двигателя, в сборе (Switch assy., emergency stop)

под заказ10010 руб. 
1136180-ZV5-033

(последний код) SWITCH ASSY., EMERGENCY S

под заказ10010 руб. 
1236182-ZV4-651

Шнур аварийной остановки двигателя (Cord comp., emergency)

под заказ3330 руб. 
1337210-ZW1-702

Индикаторные лампы (2-led) (Lamp assy., indication (2-led))

под заказ19720 руб. 
1438403-341-672

Пластина зуммера (Plate, winker buzzer)

под заказ820 руб. 
1538410-ZV5-003

Предупреждающий зуммер (Buzzer comp., warning)

под заказ10770 руб. 
1638414-ZW1-V02

Кронштейн зуммера (Bracket, buzzer)

под заказпо запросу 
1787120-ZW5-000

Маркировка, Панель переключателей (Mark, switch panel)

под заказпо запросу 
1890109-ZW5-000

Винт с чашечкой, 5x40 (Screw, pan, 5x40)

под заказ280 руб. 
1990302-921-000

Шестигранная гайка, 16 мм (Nut, hex., 16mm)

2 шт570 руб. 
2090649-SC2-003

Ремешок (Band)

под заказ920 руб. 
2194103-05400

Шайба (Washer)

под заказ100 руб. 
2294111-05400

Шайба (Washer)

под заказ90 руб. 
2317736-ZW1-000

Гофрированная трубка (28 мм) (Tube, corrugate (28mm))

под заказ710 руб. 
2432570-ZY3-900

Удлинитель кабеля дистанционного управления, в сборе (Cable assy., remote control extension)

под заказ16940 руб. 
2591058-MG9-681

Ремешок самостоятельной блокировки (Band, self lock)

под заказ480 руб. 
935100-ZV5-013

Комбинированный выключатель, в сборе (Switch assy., combination)

под заказ26120 руб. 
232340-ZW5-063

Контрольная панель, в сборе (2-led) (Panel assy., control (2-led))

под заказ38320 руб. 
732824-ZV5-003

Заглушка наружного разъёма (Plug, outer connector)

под заказ960 руб. 

Время выполнения запроса 2.117339849472 сек.

 
 

данный сайт носит информационный характер и не является публичной офертой

склад запчастей для водомоторной техники