Контактный телефон: +7 (981) 121-46-93, +7 (800) 200-90-76 , Email: parts-katalog@yandex.ru, где купить |
Модификация Вашего двигателя: Honda BF90A1 LRTD Вернуться к выбору узлов мотора Двигатель стартера |
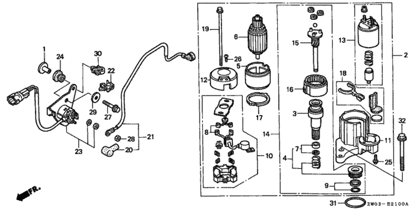
|||||||||||||||||||||||||||||||||||||||||||||||||||||||||||||||||||||||||||||||||||||||||||||||||||||||||||||||||||||||||||||||||||||||||||||||||||||||||||||||||||||||||||||||||||||||||||||||||||||||||||||||||||||||||||||||||||||
| Номер на рисунке | Артикул | Наименование | Кол-во на складе | Цена | |
| 1 | 17612-KR3-600 | Воротник крепления топливного бака (Collar, fuel tank mounting) | под заказ | 800 руб. | |
| 2 | 31200-ZW1-004 | Электростартер, в сборе (Motor assy., starter) | под заказ | 197630 руб. | |
| 2 | T-PH130-0065 | (не оригинальный аналог) Электростартер двигателя Honda PH130-0065 (WSM) | под заказ | 41330 руб. | |
| 3 | 31207-ZW1-004 | Сцепление, overrunning (Clutch, overrunning) | под заказ | 45000 руб. | |
| 4 | 31213-ZW1-004 | Комплект шестерёнок (Gear set, pinion) | под заказ | 11300 руб. | |
| 5 | 31216-ZW1-004 | Обойма (Yoke comp.) | под заказ | по запросу | |
| 6 | 31217-ZW1-004 | Ротор (Rotor comp) | под заказ | 91670 руб. | |
| 7 | 31225-ZW1-004 | Стопор set, Шестерня (Stopper set, pinion) | под заказ | по запросу | |
| 8 | 31226-ZW1-004 | Набор щёток (Brush set) | под заказ | 10840 руб. | |
| 9 | 31229-ZW1-004 | Стопор гильзы (Stopper set, sleeve) | под заказ | 0 руб. | |
| 10 | 31231-ZW1-004 | Держатель щётки, комплект (Holder comp., brush) | под заказ | 12240 руб. | |
| 11 | 31235-ZW1-004 | Кронштейн, fr (Bracket, fr) | под заказ | 30870 руб. | |
| 12 | 31236-ZW1-004 | Кронштейн, задний (Bracket, rr.) | под заказ | по запросу | |
| 13 | 31240-ZW1-004 | Магнитный выключатель (Switch assy., magnet) | под заказ | 57590 руб. | |
| 14 | 31242-ZW1-004 | Вал сцепления, в сборе (Shaft assy., clutch) | под заказ | 96190 руб. | |
| 15 | 31246-ZW1-004 | Вал шестерни, в сборе (Shaft assy., gear) | под заказ | по запросу | |
| 16 | 31247-ZW1-004 | Внутренние шестерни (Gear assy., internal) | под заказ | 0 руб. | |
| 17 | 31249-ZW1-004 | Прокладка (Packing) | под заказ | 1220 руб. | |
| 18 | 31250-ZW1-004 | Рычаг set (Lever set) | под заказ | 3080 руб. | |
| 19 | 31261-ZW1-004 | Болт a (Bolt a) | под заказ | 420 руб. | |
| 20 | 32136-659-000 | Колпачок свечи зажигания (Cover, terminal) | под заказ | по запросу | |
| 21 | 32402-ZW1-000 | Провод магнитного переключателя (Cord, magnet switch) | под заказ | 4810 руб. | |
| 22 | 32660-MJ6-710 | Фиксатор провода (Clamper, cord) | под заказ | 600 руб. | |
| 23 | 35850-ZW1-003 | Выключатель магнитного переключателя, в сборе (Switch assy., starter magnetic) | под заказ | 22970 руб. | |
| 24 | 84905-459-670 | Rubber a, number Кронштейн Подушка (Rubber a, number bracket cushion) | под заказ | 520 руб. | |
| 25 | 90106-ZW1-004 | Винт с чашечкой, 6x22 (special) (Screw, pan, 6x22 (special)) | под заказ | 0 руб. | |
| 26 | 90107-ZW1-004 | Винт с чашечкой, 5x8 (Screw, pan, 5x8) | под заказ | 280 руб. | |
| 27 | 90121-ZV0-000 | Фланцевый болт, 6x25 (Bolt, flange, 6x25) | под заказ | 380 руб. | |
| 27 | 90121-ZV0-010 | (последний код) BOLT, FLANGE, 6X25 | под заказ | 380 руб. | |
| 28 | 90203-ZV5-000 | Шестигранная гайка, 6 мм (Nut, hex., 6mm) | под заказ | 0 руб. | |
| 29 | 90402-ZW1-000 | Плоская шайба, 6 мм (Washer, plain, 6mm) | под заказ | по запросу | |
| 29 | 90402-ZW1-010 | Плоская шайба, 6 мм (Washer, plain, 6mm) | под заказ | по запросу | |
| 30 | 90684-ZA0-601 | Зажим под жгут проводов (Clip, harness) | под заказ | 270 руб. | |
| 31 | 91303-ZW1-003 | Уплотнительное кольцо, 54.4x3.1 (O-ring, 54.4x3.1) | под заказ | 1740 руб. | |
| 32 | 95701-100-900-2 | Фланцевый болт, 10x90 (Bolt, flange, 10x90) | под заказ | по запросу | |
Время выполнения запроса 0.70168209075928 сек.
склад запчастей для водомоторной техники