вконтакте

Контактный телефон: +7 (981) 121-46-93, +7 (800) 200-90-76 , Email: parts-katalog@yandex.ru, где купить

 
 

  Логин:

Пароль:

Регистрация

www.partskatalog.ru Все каталоги Запчасти Mercury Запчасти Suzuki Запчасти Tohatsu Запчасти Honda Контакты

назад Раздел:   вперёд

Модификация Вашего двигателя:   Honda BF75DK0 EFI; LHGD
Модели с серийным номером двигателя от BEBAJ-1000001 до BEBAJ-
Модели с серийным номером рамы от BBAJ-1000001 до BBAJ-

Вернуться к выбору узлов мотора

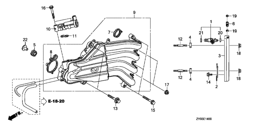
   Впускной трубопровод / инжектор
Inlet Manifold / Injector      


ДЕТАЛИРОВКА ДЛЯ МОДЕЛИ: HONDA BF75DK0

Подвесной четырёх-тактный мотор BF75DK0 - Inlet Manifold / Injector / Впускной трубопровод / инжектор
Номер на
рисунке
АртикулНаименованиеКол-во
на складе
Цена
116450-ZY9-003

Топливный инжектор, в сборе (Injector assy., fuel)

12 шт29110 руб. 
216451-ZY9-000

Зажим инжектора (Clip, injector)

под заказ1590 руб. 
416638-PH3-S00

Изолятор (Insulator)

под заказ1010 руб. 
516733-ZY9-000

Пыльник пароотделителя (Grommet, vapor separator)

под заказ1500 руб. 
616752-ZY3-A00

Соеденитель топливной трубки (Joint, fuel pipe)

3 шт1320 руб. 
717105-PWA-007

Прокладка (Packing)

под заказ1510 руб. 
817109-ZY6-000

Прокладка корпуса дросселя (Packing, throttle body)

под заказ4690 руб. 
917110-ZY9-003

Впускной коллектор (Manifold comp., inlet)

под заказ147380 руб. 
1036550-ZY9-003

Клапан с электронным контролем подачи воздуха (Valve assy., electronic air control)

под заказ52260 руб. 
1136551-ZY6-003

Прокладка клапана с электронным контролем (Packing, electronic air control valve)

под заказ2090 руб. 
1290003-ZY9-000

Болт под шпильку, 6x40 (Bolt, stud, 6x40)

под заказ260 руб. 
1390014-ZW1-000

Болт с шайбой, 8x35 (Bolt-washer, 8x35)

под заказ320 руб. 
1490042-ZY3-000

Фланцевый болт, 6x10 (Bolt, flange, 6x10)

под заказ220 руб. 
1590054-ZY3-000

Фланцевый болт, 8x35 (Bolt, flange, 8x35)

под заказ330 руб. 
1690126-ZW4-000

Фланцевый болт, 8x45 (Bolt, flange, 8x45)

под заказ350 руб. 
1790205-ZY3-000

Гайка с фланцем, 8 мм (Nut, flange, 8mm)

под заказ180 руб. 
1890301-ZW2-F00

Гайка с фланцем, 6 мм (Nut, flange, 6mm)

под заказ260 руб. 
1991301-MJ0-003

Уплотнительное кольцо, 7.8x1.9 (arai) (O-ring, 7.8x1.9 (arai))

под заказ460 руб. 
2091301-PLC-000

Уплотнительное кольцо (O-ring)

под заказ420 руб. 
2191302-PNA-003

Уплотнительное кольцо (O-ring)

под заказ290 руб. 
2291554-ZW1-000

Воротник, 8.5x14.5 (Collar, 8.5x14.5)

под заказ1100 руб. 
316620-ZY9-010

Топливопровод (Line comp., fuel)

под заказ32200 руб. 

Время выполнения запроса 1.5502319335938 сек.

 
 

данный сайт носит информационный характер и не является публичной офертой

склад запчастей для водомоторной техники