вконтакте

Контактный телефон: +7 (981) 121-46-93, +7 (800) 200-90-76 , Email: parts-katalog@yandex.ru, где купить

 
 

  Логин:

Пароль:

Регистрация

www.partskatalog.ru Все каталоги Запчасти Mercury Запчасти Suzuki Запчасти Tohatsu Запчасти Honda Контакты



УВАЖАЕМЫЕ КЛИЕНТЫ!
C 19 ДЕКАБРЯ 2025 ПО 02 МАРТА 2026 ГОДА ОТДЕЛ ЗАПЧАСТЕЙ И СЕРВИС РАБОТАТЬ НЕ БУДУТ
ПРОДАЖА ЛОДОЧНЫХ МОТОРОВ В ШТАТНОМ РЕЖИМЕ
ОБ ИЗМЕНЕНИЯХ В ГРАФИКЕ РАБОТЫ ЧИТАЙТЕ НА САЙТА



назад Раздел:   вперёд

Модификация Вашего двигателя:   Honda BF75DK0 EFI; LRTD
Модели с серийным номером двигателя от BEBAJ-1000001 до BEBAJ-
Модели с серийным номером рамы от BBAJ-1000001 до BBAJ-

Вернуться к выбору узлов мотора

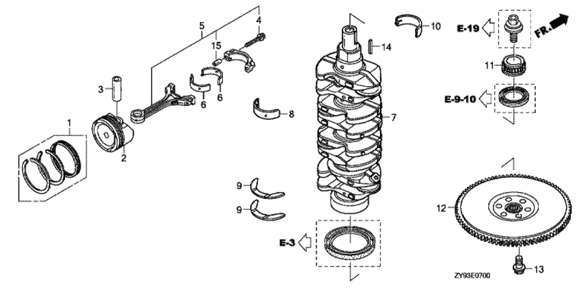
   Коленвал / Поршень
Crankshaft / Piston      


ДЕТАЛИРОВКА ДЛЯ МОДЕЛИ: HONDA BF75DK0

Подвесной четырёхтактный двигатель Honda BF75DK0 - Crankshaft / Piston / Коленвал / Поршень
Номер на
рисунке
АртикулНаименованиеКол-во
на складе
Цена
113010-ZY9-010

Поршневые кольца (std.) (Ring set, piston (std.))

под заказ9660 руб. 
113011-ZY9-010

Поршневые кольца (0.25) (Ring set, piston (0.25))

под заказ8730 руб. 
213101-ZZ0-000

Поршень (std.) (Piston (std.))

4 шт9000 руб. 
213102-ZZ0-000

Поршень (0.25) (Piston (0.25))

под заказ8140 руб. 
313111-PWA-000

Штифт (Pin)

под заказ2580 руб. 
413204-PWA-003

Болт (Bolt)

под заказ920 руб. 
513210-ZY9-000

Шатун, в сборе (Rod comp., connecting)

1 шт19570 руб. 
513210-ZY9-010

(последний код) ROD COMP., CONNECTING

под заказ21340 руб. 
613211-PWA-003

Подшипник a (Bearing a)

под заказ3260 руб. 
613212-PWA-003

Подшипник b (Bearing b)

под заказ3110 руб. 
613213-PWA-003

Подшипник c (Bearing c)

под заказ4060 руб. 
613214-PWA-003

Подшипник d (Bearing d)

под заказ3260 руб. 
613215-PWA-003

Подшипник e (Bearing e)

под заказ3110 руб. 
613216-PWA-003

Подшипник f (Bearing f)

под заказ3260 руб. 
613217-PWA-003

Подшипник g (Bearing g)

под заказ3890 руб. 
713310-ZY9-000

Коленчатый вал, комплект (Crankshaft comp.)

под заказ133690 руб. 
713310-ZY9-010

(последний код) CRANKSHAFT COMP.

под заказ133690 руб. 
813322-PWA-003

Подшипник b (Bearing b)

под заказ3450 руб. 
813323-PWA-003

Подшипник c (Bearing c)

под заказ3450 руб. 
813324-PWA-003

Подшипник d (Bearing d)

под заказ3450 руб. 
813325-PWA-003

Подшипник e (Bearing e)

под заказ4320 руб. 
813326-PWA-003

Подшипник f (Bearing f)

под заказ4320 руб. 
813327-PWA-003

Подшипник g (Bearing g)

под заказ4320 руб. 
813328-PWA-003

Подшипник h (Bearing h)

под заказ3190 руб. 
913331-ZY9-003

Упорная шайба (Washer, thrust)

под заказ1650 руб. 
1013342-PWA-003

Подшипник b (Bearing b)

под заказ3450 руб. 
1013343-PWA-003

Подшипник c (Bearing c)

под заказ3450 руб. 
1013344-PWA-003

Подшипник d (Bearing d)

под заказ3450 руб. 
1013345-PWA-003

Подшипник e (Bearing e)

под заказ4320 руб. 
1013346-PWA-003

Подшипник f (Bearing f)

под заказ4320 руб. 
1013347-PWA-003

Подшипник g (Bearing g)

под заказ4320 руб. 
1013348-PWA-003

Подшипник h (Bearing h)

под заказ3190 руб. 
1113621-ZY9-000

Цепное колесо ЗВЕЗДОЧКА, cam Цепь (23t) (Sprocket, cam chain (23t))

под заказ12460 руб. 
1231110-ZY9-000ZA

Маховик, комплект *чёрный * (Flywheel comp. *black *)

под заказ97540 руб. 
1390002-ZW1-010

Болт, 12 мм (Bolt, 12mm)

под заказ860 руб. 
1490704-PH7-000

Ключ (Key)

под заказ940 руб. 
1594301-08100

Шпонка (Dowel pin)

под заказ240 руб. 

Время выполнения запроса 2.2101650238037 сек.

 
 

данный сайт носит информационный характер и не является публичной офертой

склад запчастей для водомоторной техники