вконтакте

Контактный телефон: +7 (981) 121-46-93, +7 (800) 200-90-76 , Email: parts-katalog@yandex.ru, где купить

 
 

  Логин:

Пароль:

Регистрация

www.partskatalog.ru Все каталоги Запчасти Mercury Запчасти Suzuki Запчасти Tohatsu Запчасти Honda Контакты



УВАЖАЕМЫЕ КЛИЕНТЫ!
C 19 ДЕКАБРЯ 2025 ПО 02 МАРТА 2026 ГОДА ОТДЕЛ ЗАПЧАСТЕЙ И СЕРВИС РАБОТАТЬ НЕ БУДУТ
ПРОДАЖА ЛОДОЧНЫХ МОТОРОВ В ШТАТНОМ РЕЖИМЕ
ОБ ИЗМЕНЕНИЯХ В ГРАФИКЕ РАБОТЫ ЧИТАЙТЕ НА САЙТА



назад Раздел:   вперёд

Модификация Вашего двигателя:   Honda BF75AV XRTC
Модели с серийным номером двигателя от BBAE-1000001 до BBAE-1999999
Модели с серийным номером рамы от BBAL-2000001 до BBAL-3999999

Вернуться к выбору узлов мотора

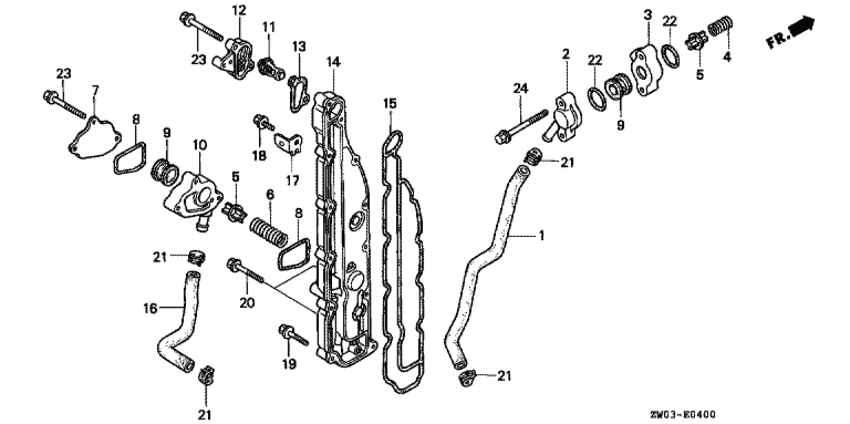
   Термостат
Thermostat      


ДЕТАЛИРОВКА ДЛЯ МОДЕЛИ: HONDA BF75AV

Двигатель BF75AV - Thermostat
Номер на
рисунке
АртикулНаименованиеКол-во
на складе
Цена
219277-ZW1-000ZA

Крышка сливного клапана *nh8 * (Cover, flush valve *nh8 *)

под заказпо запросу 
319278-ZW1-000ZA

Прокладка, flush Клапан *nh8 * (Spacer, flush valve *nh8 *)

под заказпо запросу 
419279-ZW1-000

Пружина сливного клапана (Spring, flush valve)

под заказ520 руб. 
519291-ZW1-000

Сброс клапана (Valve, relief)

под заказ1340 руб. 
619292-ZW1-000

Пружина освобождения клапана (Spring, relief valve)

под заказ640 руб. 
719295-ZW1-000

Крышка предохранительного клапана (Cover, relief valve)

под заказпо запросу 
819296-ZW1-000

Прокладка крышки предохранительного клапана (Packing, relief valve cover)

под заказ810 руб. 
919297-ZW1-000

Прокладка, relief Клапан (Packing, relief valve)

под заказ910 руб. 
1019298-ZW1-000ZA

Прокладка, relief Клапан *nh8 * (Spacer, relief valve *nh8 *)

под заказ18900 руб. 
1119300-ZV5-043

Термостат в сборе. (Thermostat assy.)

2 шт6920 руб. 
1219315-ZV5-010ZA

Крышка термостата *nh8 * (Cover, thermostat *nh8 *)

под заказ6200 руб. 
1319351-ZV5-000

Прокладка крышки термостата (Gasket, thermostat cover)

6 шт350 руб. 
1419360-ZW1-000ZA

Крышка водяной рубашки *nh8 * (Cover comp., water jacket *nh8 *)

под заказ36310 руб. 
1519371-ZW1-000

Прокладка крышки водяной рубашки (Packing, water jacket cover)

под заказ4460 руб. 
1732761-PV0-000

Остановка (Stay)

под заказпо запросу 
1990121-ZV0-000

Фланцевый болт, 6x25 (Bolt, flange, 6x25)

под заказ380 руб. 
1990121-ZV0-010

(последний код) BOLT, FLANGE, 6X25

под заказ380 руб. 
2090123-ZV0-000

Фланцевый болт, 6x32 (Bolt, flange, 6x32)

под заказ420 руб. 
2291356-SD4-953

Уплотнительное кольцо (O-ring)

под заказ430 руб. 
2395701-060-400-2

Фланцевый болт, 6x40 (Bolt, flange, 6x40)

под заказ150 руб. 
2495701-060-550-2

Фланцевый болт, 6x55 (Bolt, flange, 6x55)

под заказпо запросу 

Время выполнения запроса 1.7447881698608 сек.

 
 

данный сайт носит информационный характер и не является публичной офертой

склад запчастей для водомоторной техники