вконтакте

Контактный телефон: +7 (981) 121-46-93, +7 (800) 200-90-76 , Email: parts-katalog@yandex.ru, где купить

 
 

  Логин:

Пароль:

Регистрация

www.partskatalog.ru Все каталоги Запчасти Mercury Запчасти Suzuki Запчасти Tohatsu Запчасти Honda Контакты



УВАЖАЕМЫЕ КЛИЕНТЫ!
C 19 ДЕКАБРЯ 2025 ПО 02 МАРТА 2026 ГОДА ОТДЕЛ ЗАПЧАСТЕЙ И СЕРВИС РАБОТАТЬ НЕ БУДУТ
ПРОДАЖА ЛОДОЧНЫХ МОТОРОВ В ШТАТНОМ РЕЖИМЕ
ОБ ИЗМЕНЕНИЯХ В ГРАФИКЕ РАБОТЫ ЧИТАЙТЕ НА САЙТА



назад Раздел:   вперёд

Модификация Вашего двигателя:   Honda BF75AX LHP
Модели с серийным номером двигателя от BBAE-1000001 до BBAE-1999999
Модели с серийным номером рамы от BBAL-4000001 до BBAL-4399999

Вернуться к выбору узлов мотора

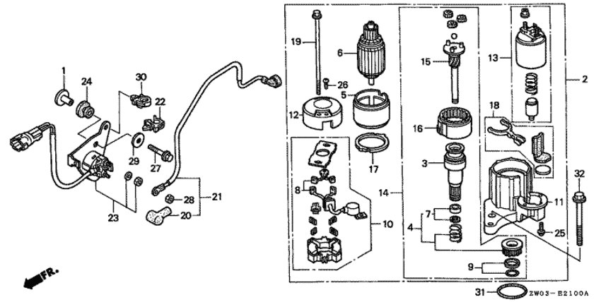
   Двигатель стартера
Starter Motor      


ДЕТАЛИРОВКА ДЛЯ МОДЕЛИ: HONDA BF75AX

Подвесной fourstroke лодочный мотор HONDA BF75AX - Двигатель стартера / Starter Motor
Номер на
рисунке
АртикулНаименованиеКол-во
на складе
Цена
117612-KR3-600

Воротник крепления топливного бака (Collar, fuel tank mounting)

под заказ800 руб. 
231200-ZW1-004

Электростартер, в сборе (Motor assy., starter)

под заказ197630 руб. 
2T-PH130-0065

   (не оригинальный аналог) Электростартер двигателя Honda PH130-0065 (WSM)

под заказ41330 руб.
331207-ZW1-004

Сцепление, overrunning (Clutch, overrunning)

под заказ45000 руб. 
431213-ZW1-004

Комплект шестерёнок (Gear set, pinion)

под заказ11300 руб. 
531216-ZW1-004

Обойма (Yoke comp.)

под заказпо запросу 
631217-ZW1-004

Ротор (Rotor comp)

под заказ91670 руб. 
731225-ZW1-004

Стопор set, Шестерня (Stopper set, pinion)

под заказпо запросу 
831226-ZW1-004

Набор щёток (Brush set)

под заказ10840 руб. 
931229-ZW1-004

Стопор гильзы (Stopper set, sleeve)

под заказ0 руб. 
1031231-ZW1-004

Держатель щётки, комплект (Holder comp., brush)

под заказ12240 руб. 
1131235-ZW1-004

Кронштейн, fr (Bracket, fr)

под заказ30870 руб. 
1231236-ZW1-004

Кронштейн, задний (Bracket, rr.)

под заказпо запросу 
1331240-ZW1-004

Магнитный выключатель (Switch assy., magnet)

под заказ57590 руб. 
1431242-ZW1-004

Вал сцепления, в сборе (Shaft assy., clutch)

под заказ96190 руб. 
1531246-ZW1-004

Вал шестерни, в сборе (Shaft assy., gear)

под заказпо запросу 
1631247-ZW1-004

Внутренние шестерни (Gear assy., internal)

под заказ0 руб. 
1731249-ZW1-004

Прокладка (Packing)

под заказ1220 руб. 
1831250-ZW1-004

Рычаг set (Lever set)

под заказ3080 руб. 
1931261-ZW1-004

Болт a (Bolt a)

под заказ420 руб. 
2032136-659-000

Колпачок свечи зажигания (Cover, terminal)

под заказпо запросу 
2132402-ZW1-000

Провод магнитного переключателя (Cord, magnet switch)

под заказ4810 руб. 
2232660-MJ6-710

Фиксатор провода (Clamper, cord)

под заказ600 руб. 
2335850-ZW1-003

Выключатель магнитного переключателя, в сборе (Switch assy., starter magnetic)

под заказ22970 руб. 
2484905-459-670

Rubber a, number Кронштейн Подушка (Rubber a, number bracket cushion)

под заказ520 руб. 
2590106-ZW1-004

Винт с чашечкой, 6x22 (special) (Screw, pan, 6x22 (special))

под заказ0 руб. 
2690107-ZW1-004

Винт с чашечкой, 5x8 (Screw, pan, 5x8)

под заказ280 руб. 
2790121-ZV0-000

Фланцевый болт, 6x25 (Bolt, flange, 6x25)

под заказ380 руб. 
2790121-ZV0-010

(последний код) BOLT, FLANGE, 6X25

под заказ380 руб. 
2890203-ZV5-000

Шестигранная гайка, 6 мм (Nut, hex., 6mm)

под заказ0 руб. 
2990402-ZW1-000

Плоская шайба, 6 мм (Washer, plain, 6mm)

под заказпо запросу 
2990402-ZW1-010

Плоская шайба, 6 мм (Washer, plain, 6mm)

под заказпо запросу 
3090684-ZA0-601

Зажим под жгут проводов (Clip, harness)

под заказ270 руб. 
3191303-ZW1-003

Уплотнительное кольцо, 54.4x3.1 (O-ring, 54.4x3.1)

под заказ1740 руб. 
3295701-100-900-2

Фланцевый болт, 10x90 (Bolt, flange, 10x90)

под заказпо запросу 

Время выполнения запроса 4.8108928203583 сек.

 
 

данный сайт носит информационный характер и не является публичной офертой

склад запчастей для водомоторной техники