вконтакте

Контактный телефон: +7 (981) 121-46-93, +7 (800) 200-90-76 , Email: parts-katalog@yandex.ru, где купить

 
 

  Логин:

Пароль:

Регистрация

www.partskatalog.ru Все каталоги Запчасти Mercury Запчасти Suzuki Запчасти Tohatsu Запчасти Honda Контакты



УВАЖАЕМЫЕ КЛИЕНТЫ!
C 19 ДЕКАБРЯ 2025 ПО 02 МАРТА 2026 ГОДА ОТДЕЛ ЗАПЧАСТЕЙ И СЕРВИС РАБОТАТЬ НЕ БУДУТ
ПРОДАЖА ЛОДОЧНЫХ МОТОРОВ В ШТАТНОМ РЕЖИМЕ
ОБ ИЗМЕНЕНИЯХ В ГРАФИКЕ РАБОТЫ ЧИТАЙТЕ НА САЙТА



назад Раздел:   вперёд

Модификация Вашего двигателя:   Honda BFP60A LRTD; Power Thrust
Модели с серийным номером двигателя от BEBFJ-1000001 до BEBFJ-
Модели с серийным номером рамы от BBFJ-8000001 до BBFJ-

Вернуться к выбору узлов мотора

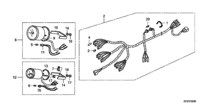
   Прибор
Meter      


ДЕТАЛИРОВКА ДЛЯ МОДЕЛИ: HONDA BFP60A

Подвесной 4x-тактный лодочный двигатель Honda BFP60A - Meter - Прибор
Номер на
рисунке
АртикулНаименованиеКол-во
на складе
Цена
132161-404-000

Ремешок провода B1 (Band b1, wire)

под заказ420 руб. 
232540-ZZ3-000

Жгут проводов для подключения приборов (a) (Harness assy., meter (a))

под заказ17390 руб. 
332823-ZV5-003

Заглушка внутреннего разъёма (Plug, inner connector)

под заказ960 руб. 
432824-ZV5-003

Заглушка наружного разъёма (Plug, outer connector)

под заказ960 руб. 
20 9820011000

Предохранитель A (10a) (Fuse a (10a))

под заказ70 руб. 

Время выполнения запроса 0.56854200363159 сек.

 
 

данный сайт носит информационный характер и не является публичной офертой

склад запчастей для водомоторной техники