Контактный телефон: +7 (981) 121-46-93, +7 (800) 200-90-76 , Email: parts-katalog@yandex.ru, где купить |
Модификация Вашего двигателя: Honda BFP60A LRTD; Power Thrust Вернуться к выбору узлов мотора Вал гребного винта (большое тяговое усилие) |
|||||||||||||||||||||||||||||||||||||||||||||||||||||||||||||||||||||||||||||||||||||||||||||||||||||||||||||||||||||||||||||||||||||||||||||||||||||||||||||||||||||||||||||||||||||||||||||||||||||||||||||||||||||||||||||||||||||||||||||||
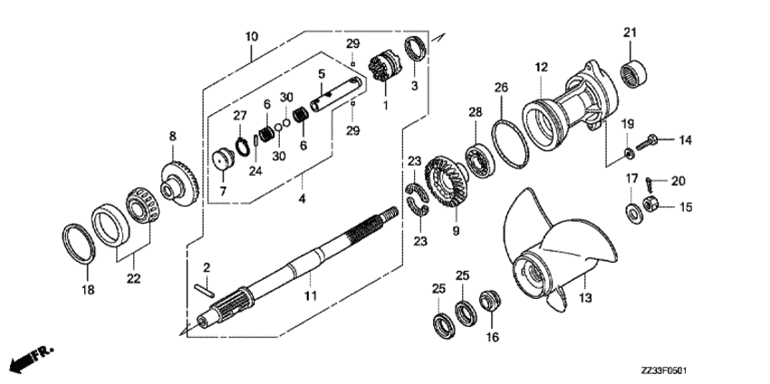
| Номер на рисунке | Артикул | Наименование | Кол-во на складе | Цена | |
| 1 | 24101-ZZ3-E00 | Переключатель сцепления (большое тяговое усилие) (Shifter, clutch (power thrust)) | под заказ | по запросу | |
| 2 | 24102-ZW1-B00 | Штифт переключателя, 8x47 (Pin, shifter, 8x47) | 1 шт | 260 руб. | |
| 3 | 24103-ZW1-B00 | Кольцо стопора крестовины (Ring, cross pin) | 3 шт | 270 руб. | |
| 4 | 24113-ZZ3-E00 | Ползунок переключателя, в сборе (большое тяговое усилие) (Slider comp., shift (power thrust)) | под заказ | по запросу | |
| 5 | 24122-ZZ3-E00 | Ползунок переключателя (большое тяговое усилие) (Slider, shift (power thrust)) | под заказ | по запросу | |
| 6 | 24123-ZZ3-E00 | Пружина переключателя (большое тяговое усилие) (Spring, shift (power thrust)) | под заказ | по запросу | |
| 7 | 24124-ZZ0-000 | Пластина переключателя (Plate, shift) | под заказ | 4120 руб. | |
| 8 | 41140-ZZ3-E00 | Косая шестерня переднего хода (28t) (большое тяговое усилие) (Gear comp., fr. bevel (28t) (power thrust)) | под заказ | по запросу | |
| 9 | 41151-ZZ3-E00 | Косая шестерня заднего хода (28t) (большое тяговое усилие) (Gear, rr. bevel (28t) (power thrust)) | под заказ | по запросу | |
| 10 | 41160-ZZ3-E00 | Вал гребного винта (большое тяговое усилие) (Shaft assy., propeller (power thrust)) | под заказ | по запросу | |
| 11 | 41161-ZZ3-E00 | Вал гребного винта (большое тяговое усилие) (Shaft, propeller (power thrust)) | под заказ | 65760 руб. | |
| 12 | 41201-ZW1-B02ZA | Держатель вала гребного винта *nh282mu * (Holder, propeller shaft *nh282mu *) | под заказ | 41300 руб. | |
| 13 | 58130-ZW1-W03ZA | Гребной винт, трёхлопастной (14x11) (al) *nh283 * (Propeller comp., three blades (14x11) (al) *nh283 *) | под заказ | 44890 руб. | |
| 13 | 58130-ZW1-011AH | (последний код) 3 BLADE PROP DIA.14 PITCH | под заказ | 39690 руб. | |
| 14 | 90123-ZV5-010 | Болт под шестигранник., 10x40 (Bolt, hex., 10x40) | 7 шт | 1030 руб. | |
| 15 | 90301-ZW1-B00 | Гайка - башня, 18 мм (Nut, castle, 18mm) | 4 шт | 1810 руб. | |
| 16 | 90506-ZW1-B00 | Упорная шайба гребного винта (Washer, propeller thrust) | 4 шт | 11010 руб. | |
| 16 | 90506-ZZ0-C00 | (последний код) WASHER, PROPELLER THRUST | 1 шт | 11010 руб. | |
| 17 | 90508-ZW1-B00 | Плоская шайба, 18.5 мм (Washer, plain, 18.5mm) | 1 шт | 1840 руб. | |
| 18 | 90528-ZW1-B00 | Регулировочная шайба a, bevel (fr.) (0.10) (Shim a, bevel (fr.) (0.10)) | 2 шт | 2430 руб. | |
| 18 | 90529-ZW1-B00 | Регулировочная шайба b, bevel (fr.) (0.15) (Shim b, bevel (fr.) (0.15)) | 1 шт | 1710 руб. | |
| 18 | 90530-ZW1-B00 | Регулировочная шайба c, bevel (fr.) (0.30) (Shim c, bevel (fr.) (0.30)) | 1 шт | 2600 руб. | |
| 18 | 90531-ZW1-B00 | Регулировочная шайба d, bevel (fr.) (0.50) (Shim d, bevel (fr.) (0.50)) | под заказ | 2780 руб. | |
| 19 | 90563-ZV5-000 | Плоская шайба, 10 мм (Washer, plain, 10mm) | под заказ | 500 руб. | |
| 20 | 90758-ZW1-B00 | Стопорный шплинт, 4.0 (Pin, split, 4.0) | 3 шт | 340 руб. | |
| 21 | 91005-MY5-601 | Подшипник, игольчатый, 30x37x26 (Bearing, needle, 30x37x26) | 1 шт | 2960 руб. | |
| 21 | HK3026NTN | (подбор по маркировке) Подшипник NTN HK3026(30*37*26 мм) | под заказ | 0 | |
| 22 | 91051-ZW1-B02 | Подшипник конический роликовый (50x82x21.5) (Bearing, tapered roller (50x82x21.5)) | 2 шт | 9290 руб. | |
| 22 | JLM104910KOYO | (подбор по маркировке) Подшипник KOYO JLM104910(50*82*21,501 мм) | под заказ | 0 | |
| 23 | 91054-ZW5-003 | Шариковый подшипник (28x38x3) (Bearing, ball (28x38x3)) | 4 шт | 5720 руб. | |
| 24 | 91101-ZW1-003 | Ролик, 3x12.8 (Roller, 3x12.8) | под заказ | 180 руб. | |
| 25 | 91252-ZZ3-003 | Сальник, 30x45x7 (Seal, water, 30x45x7) | 65 шт | 1650 руб. | |
| 26 | 91351-ZW1-B02 | Уплотнительное кольцо, 94x4.1 (O-ring, 94x4.1) | 8 шт | 1500 руб. | |
| 27 | 94510-14000 | Стопорное кольцо (Circlip) | 5 шт | 90 руб. | |
| 28 | 96100-620-800-0 | Подшипник, радиальный шариковый, 6208 (Bearing, radial ball, 6208) | 2 шт | 4030 руб. | |
| 29 | 96211-07000 | Шарик (Ball) | под заказ | 40 руб. | |
| 30 | 96211-11000 | Шарик (Ball) | 16 шт | 50 руб. | |
Время выполнения запроса 1.2693979740143 сек.
склад запчастей для водомоторной техники