Контактный телефон: +7 (981) 121-46-93, +7 (800) 200-90-76 , Email: parts-katalog@yandex.ru, где купить |
Модификация Вашего двигателя: Honda BFP60A XRTU; Power Thrust Вернуться к выбору узлов мотора Переключающий вал |
|||||||||||||||||||||||||||||||||||||||||||||||||||||||||||||||||||||||||||||||||||||||||||||||||||||||||||||||||||||||||||||||||||||||||||||||||||||||||||||||||||||||||||||||||||||||||||||||||||||||||||||||||||||||||||||||||||||||||||||||||||||||||||||||||||||||||||||||||||||||||||
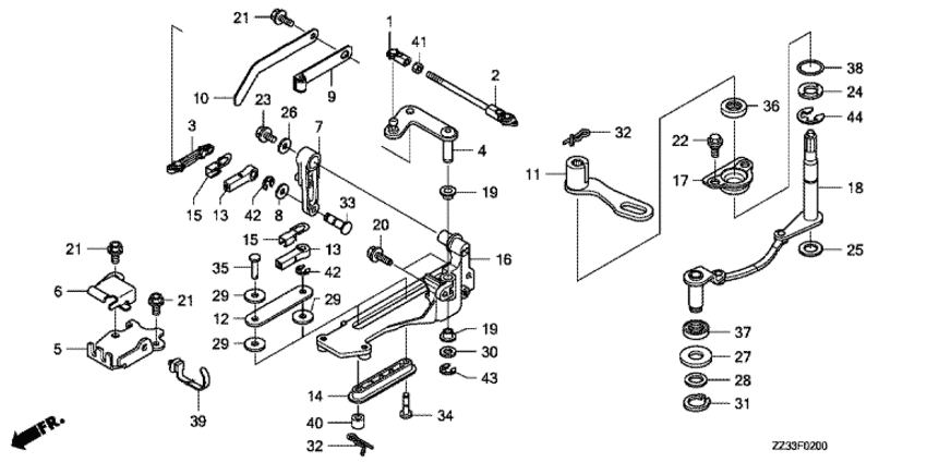
| Номер на рисунке | Артикул | Наименование | Кол-во на складе | Цена | |
| 1 | 17838-ZV5-000 | Стержень подъёмного механизма (Linkage, pivot) | 3 шт | 1320 руб. | |
| 2 | 17840-ZZ3-000 | Тяга дросселя (Rod comp., throttle) | под заказ | 5950 руб. | |
| 3 | 17845-ZY6-000 | Тяга дросселя (Link, throttle) | под заказ | 4060 руб. | |
| 4 | 17860-ZZ3-000 | Пластина дросселя (Plate comp., throttle) | под заказ | 0 руб. | |
| 5 | 17877-ZY9-000 | Пластина кабеля дистанционного управления (Plate, remote control cable) | под заказ | 4580 руб. | |
| 6 | 17878-ZY9-000 | Крышка кабеля дистанционного управления (Cover, remote control cable) | под заказ | 1370 руб. | |
| 7 | 17931-ZY6-000 | Рукоятка дроссельной заслонки (Arm, throttle) | под заказ | 4060 руб. | |
| 8 | 17936-921-000 | Опорная шайба (Washer, pivot) | 3 шт | 260 руб. | |
| 9 | 24210-ZW1-010 | Нажимная пружина, комплект (Spring comp., click) | под заказ | 1600 руб. | |
| 10 | 24221-ZY9-000 | Пружина с помощью при нажатии (Spring, click assist) | под заказ | 2440 руб. | |
| 11 | 24612-ZY9-000 | Рычаг переключения (Arm, shift) | под заказ | 42230 руб. | |
| 12 | 24614-ZY9-000 | Пластина переключателя Стержень (Plate, shift pivot) | под заказ | 950 руб. | |
| 13 | 24618-ZY3-000 | Переключающий стержень (Pivot, shift) | 3 шт | 1210 руб. | |
| 14 | 24618-ZY9-000 | Переключающий стержень slide (Pivot, shift slide) | под заказ | 2160 руб. | |
| 15 | 24619-ZY3-000 | Плата блокировки (Plate, lock) | 4 шт | 1150 руб. | |
| 16 | 24628-ZY9-000 | Кронштейн переключающей тяги (Bracket, shift link) | под заказ | 17880 руб. | |
| 17 | 24629-ZW1-000 | Держатель сальника (Holder, seal) | под заказ | 2910 руб. | |
| 18 | 24630-ZZ3-000 | Переключающий вал (Shaft comp., shift) | под заказ | 0 руб. | |
| 19 | 63205-ZY3-000 | Втулка A блокировки крышки (Bush a, cover lock) | под заказ | 860 руб. | |
| 20 | 90017-ZV0-C10 | Фланцевый болт, 6x18 (ct200) (Bolt, flange, 6x18 (ct200)) | под заказ | 370 руб. | |
| 21 | 90017-ZY3-000 | Фланцевый болт, 6x16 (Bolt, flange, 6x16) | под заказ | 220 руб. | |
| 22 | 90023-ZW5-000 | Фланцевый болт, 6x11 (Bolt, flange, 6x11) | под заказ | 370 руб. | |
| 23 | 90056-ZY3-000 | Фланцевый болт, 6x12 (Bolt, flange, 6x12) | под заказ | 430 руб. | |
| 24 | 90429-GET-000 | Боковая шайба, 14 мм (Washer, side, 14mm) | под заказ | 370 руб. | |
| 25 | 90501-ZW5-000 | Шайба, Переключающий вал (Washer, shift shaft) | под заказ | 910 руб. | |
| 26 | 90508-ZY3-000 | Плоская шайба, 6 мм (Washer, plain, 6mm) | под заказ | 130 руб. | |
| 27 | 90508-ZY9-000 | Шайба, 14 мм (Washer, 14mm) | под заказ | 880 руб. | |
| 28 | 90509-ZY9-000 | Шайба, 13 мм (Washer, 13mm) | под заказ | 880 руб. | |
| 29 | 90517-ZW9-000 | Нейлоновая шайба, 8 мм (Washer, nylon, 8mm) | под заказ | 280 руб. | |
| 30 | 90518-921-000 | Плоская шайба, 8 мм (Washer, plain, 8mm) | под заказ | 150 руб. | |
| 31 | 90651-ZY9-000 | Внешнее стопорное кольцо, 12 (Circlip, external, 12) | под заказ | 710 руб. | |
| 32 | 90705-SD2-931 | Штифт (Pin) | 9 шт | 280 руб. | |
| 33 | 90751-ZY3-000 | Штифт тяги (Pin, link) | 1 шт | 2510 руб. | |
| 34 | 90752-ZZ3-000 | Штифт переключателя тяги (Pin, shift link) | под заказ | 0 руб. | |
| 35 | 90753-ZZ3-000 | Штифт тяги (Pin, link) | под заказ | 0 руб. | |
| 36 | 91251-ZW5-003 | Сальник, 14x26x6 (Oil seal, 14x26x6) | 1 шт | 1180 руб. | |
| 37 | 91255-ZY3-003 | Сальник (14x26x8) (Seal, water (14x26x8)) | под заказ | 1510 руб. | |
| 38 | 91302-PF0-003 | Уплотнительное кольцо (O-ring) | 1 шт | 520 руб. | |
| 39 | 91540-STK-003 | Зажим (Clip) | под заказ | 600 руб. | |
| 40 | 91552-ZZ3-000 | Воротник, 6 мм (Collar, 6mm) | под заказ | 0 руб. | |
| 41 | 94001-054900S | Шестигранная гайка, 5 мм (Nut, hex., 5mm) | 1 шт | 110 руб. | |
| 42 | 94540-04029 | Уплотнительное кольцо (E-ring) | 2 шт | 600 руб. | |
| 43 | 9454006029 | Уплотнительное кольцо, 6 мм (E-ring, 6mm) | под заказ | 320 руб. | |
| 44 | 94540-12029 | Уплотнительное кольцо, 12 мм (E-ring, 12mm) | под заказ | 1150 руб. | |
Время выполнения запроса 0.66637086868286 сек.
склад запчастей для водомоторной техники