вконтакте

Контактный телефон: +7 (981) 121-46-93, +7 (800) 200-90-76 , Email: parts-katalog@yandex.ru, где купить

 
 

  Логин:

Пароль:

Регистрация

www.partskatalog.ru Все каталоги Запчасти Mercury Запчасти Suzuki Запчасти Tohatsu Запчасти Honda Контакты



УВАЖАЕМЫЕ КЛИЕНТЫ!
C 19 ДЕКАБРЯ 2025 ПО 02 МАРТА 2026 ГОДА ОТДЕЛ ЗАПЧАСТЕЙ И СЕРВИС РАБОТАТЬ НЕ БУДУТ
ПРОДАЖА ЛОДОЧНЫХ МОТОРОВ В ШТАТНОМ РЕЖИМЕ
ОБ ИЗМЕНЕНИЯХ В ГРАФИКЕ РАБОТЫ ЧИТАЙТЕ НА САЙТА



назад Раздел:   вперёд

Модификация Вашего двигателя:   Honda BFP60A LRTU; Power Thrust
Модели с серийным номером двигателя от BEBFJ-1000001 до BEBFJ-
Модели с серийным номером рамы от BBFJ-8000001 до BBFJ-

Вернуться к выбору узлов мотора

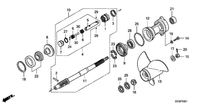
   Вал гребного винта (большое тяговое усилие)
Propeller Shaft (power Thrust)      


ДЕТАЛИРОВКА ДЛЯ МОДЕЛИ: HONDA BFP60A

Подвесной лодочный 4-тактный двигатель Honda BFP60A - Propeller Shaft (power Thrust) / Вал гребного винта (большое тяговое усилие)
Номер на
рисунке
АртикулНаименованиеКол-во
на складе
Цена
124101-ZZ3-E00

Переключатель сцепления (большое тяговое усилие) (Shifter, clutch (power thrust))

под заказпо запросу 
224102-ZW1-B00

Штифт переключателя, 8x47 (Pin, shifter, 8x47)

1 шт260 руб. 
324103-ZW1-B00

Кольцо стопора крестовины (Ring, cross pin)

3 шт270 руб. 
424113-ZZ3-E00

Ползунок переключателя, в сборе (большое тяговое усилие) (Slider comp., shift (power thrust))

под заказпо запросу 
524122-ZZ3-E00

Ползунок переключателя (большое тяговое усилие) (Slider, shift (power thrust))

под заказпо запросу 
624123-ZZ3-E00

Пружина переключателя (большое тяговое усилие) (Spring, shift (power thrust))

под заказпо запросу 
724124-ZZ0-000

Пластина переключателя (Plate, shift)

под заказ4120 руб. 
841140-ZZ3-E00

Косая шестерня переднего хода (28t) (большое тяговое усилие) (Gear comp., fr. bevel (28t) (power thrust))

под заказпо запросу 
941151-ZZ3-E00

Косая шестерня заднего хода (28t) (большое тяговое усилие) (Gear, rr. bevel (28t) (power thrust))

под заказпо запросу 
1041160-ZZ3-E00

Вал гребного винта (большое тяговое усилие) (Shaft assy., propeller (power thrust))

под заказпо запросу 
1141161-ZZ3-E00

Вал гребного винта (большое тяговое усилие) (Shaft, propeller (power thrust))

под заказ65760 руб. 
1241201-ZW1-B02ZA

Держатель вала гребного винта *nh282mu * (Holder, propeller shaft *nh282mu *)

под заказ41300 руб. 
1490123-ZV5-010

Болт под шестигранник., 10x40 (Bolt, hex., 10x40)

7 шт1030 руб. 
1590301-ZW1-B00

Гайка - башня, 18 мм (Nut, castle, 18mm)

4 шт1810 руб. 
1690506-ZW1-B00

Упорная шайба гребного винта (Washer, propeller thrust)

4 шт11010 руб. 
1690506-ZZ0-C00

(последний код) WASHER, PROPELLER THRUST

1 шт11010 руб. 
1790508-ZW1-B00

Плоская шайба, 18.5 мм (Washer, plain, 18.5mm)

1 шт1840 руб. 
1890528-ZW1-B00

Регулировочная шайба a, bevel (fr.) (0.10) (Shim a, bevel (fr.) (0.10))

2 шт2430 руб. 
1890529-ZW1-B00

Регулировочная шайба b, bevel (fr.) (0.15) (Shim b, bevel (fr.) (0.15))

1 шт1710 руб. 
1890530-ZW1-B00

Регулировочная шайба c, bevel (fr.) (0.30) (Shim c, bevel (fr.) (0.30))

1 шт2600 руб. 
1890531-ZW1-B00

Регулировочная шайба d, bevel (fr.) (0.50) (Shim d, bevel (fr.) (0.50))

под заказ2780 руб. 
1990563-ZV5-000

Плоская шайба, 10 мм (Washer, plain, 10mm)

под заказ500 руб. 
2090758-ZW1-B00

Стопорный шплинт, 4.0 (Pin, split, 4.0)

3 шт340 руб. 
2191005-MY5-601

Подшипник, игольчатый, 30x37x26 (Bearing, needle, 30x37x26)

1 шт2960 руб. 
21HK3026NTN

   (подбор по маркировке) Подшипник NTN HK3026(30*37*26 мм)

под заказ0
2291051-ZW1-B02

Подшипник конический роликовый (50x82x21.5) (Bearing, tapered roller (50x82x21.5))

2 шт9290 руб. 
22JLM104910KOYO

   (подбор по маркировке) Подшипник KOYO JLM104910(50*82*21,501 мм)

под заказ0
2391054-ZW5-003

Шариковый подшипник (28x38x3) (Bearing, ball (28x38x3))

4 шт5720 руб. 
2491101-ZW1-003

Ролик, 3x12.8 (Roller, 3x12.8)

под заказ180 руб. 
2591252-ZZ3-003

Сальник, 30x45x7 (Seal, water, 30x45x7)

65 шт1650 руб. 
2691351-ZW1-B02

Уплотнительное кольцо, 94x4.1 (O-ring, 94x4.1)

8 шт1500 руб. 
2794510-14000

Стопорное кольцо (Circlip)

5 шт90 руб. 
2896100-620-800-0

Подшипник, радиальный шариковый, 6208 (Bearing, radial ball, 6208)

2 шт4030 руб. 
2996211-07000

Шарик (Ball)

под заказ40 руб. 
3096211-11000

Шарик (Ball)

16 шт50 руб. 

Время выполнения запроса 3.0995500087738 сек.

 
 

данный сайт носит информационный характер и не является публичной офертой

склад запчастей для водомоторной техники