вконтакте

Контактный телефон: +7 (981) 121-46-93, +7 (800) 200-90-76 , Email: parts-katalog@yandex.ru, где купить

 
 

  Логин:

Пароль:

Регистрация

www.partskatalog.ru Все каталоги Запчасти Mercury Запчасти Suzuki Запчасти Tohatsu Запчасти Honda Контакты

назад Раздел:   вперёд

Модификация Вашего двигателя:   Honda BF60A LHTD
Модели с серийным номером двигателя от BEBFJ-1000001 до BEBFJ-
Модели с серийным номером рамы от BBFJ-1000001 до BBFJ-

Вернуться к выбору узлов мотора

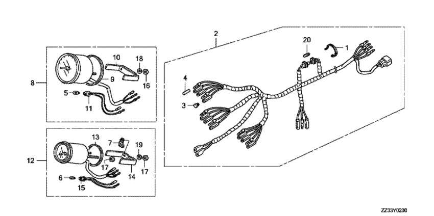
   Прибор
Meter      


ДЕТАЛИРОВКА ДЛЯ МОДЕЛИ: HONDA BF60A

Подвесной лодочный четырёх-тактный двигатель BF60A - Прибор / Meter
Номер на
рисунке
АртикулНаименованиеКол-во
на складе
Цена
132161-404-000

Ремешок провода B1 (Band b1, wire)

под заказ420 руб. 
232540-ZZ3-000

Жгут проводов для подключения приборов (a) (Harness assy., meter (a))

под заказ17390 руб. 
332823-ZV5-003

Заглушка внутреннего разъёма (Plug, inner connector)

под заказ960 руб. 
432824-ZV5-003

Заглушка наружного разъёма (Plug, outer connector)

под заказ960 руб. 
534908-MB9-871

Лампочка, без цоколя (t10) (12v 1.7w) (stanley) (Bulb, wedge base (t10) (12v 1.7w) (stanley))

под заказ380 руб. 
837250-ZV7-913

Тахометр в сборе (Tachometer assy.)

под заказ38610 руб. 
937253-ZV5-821

Прокладка (Packing)

под заказ550 руб. 
1037256-ZV5-821

Кронштейн (Bracket)

под заказ3540 руб. 
1137258-ZV5-821

Розетка (Socket comp.)

под заказ4140 руб. 
1690309-ZV5-821

Шестигранная гайка, 5 мм (Nut, hex., 5mm)

под заказ200 руб. 
1890550-ZV5-821

Пружинистая шайба, 5 мм (Washer, spring, 5mm)

под заказ260 руб. 
20 9820011000

Предохранитель A (10a) (Fuse a (10a))

под заказ70 руб. 

Время выполнения запроса 0.36989092826843 сек.

 
 

данный сайт носит информационный характер и не является публичной офертой

склад запчастей для водомоторной техники