вконтакте

Контактный телефон: +7 (981) 121-46-93, +7 (800) 200-90-76 , Email: parts-katalog@yandex.ru, где купить

 
 

  Логин:

Пароль:

Регистрация

www.partskatalog.ru Все каталоги Запчасти Mercury Запчасти Suzuki Запчасти Tohatsu Запчасти Honda Контакты



УВАЖАЕМЫЕ КЛИЕНТЫ!
C 19 ДЕКАБРЯ 2025 ПО 02 МАРТА 2026 ГОДА ОТДЕЛ ЗАПЧАСТЕЙ И СЕРВИС РАБОТАТЬ НЕ БУДУТ
ПРОДАЖА ЛОДОЧНЫХ МОТОРОВ В ШТАТНОМ РЕЖИМЕ
ОБ ИЗМЕНЕНИЯХ В ГРАФИКЕ РАБОТЫ ЧИТАЙТЕ НА САЙТА



назад Раздел:   вперёд

Модификация Вашего двигателя:   Honda BF60A LHTD
Модели с серийным номером двигателя от BEBFJ-1000001 до BEBFJ-
Модели с серийным номером рамы от BBFJ-1000001 до BBFJ-

Вернуться к выбору узлов мотора

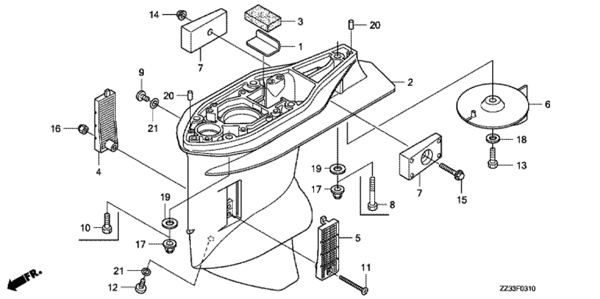
   Картер коробки передач
Gear Case      


ДЕТАЛИРОВКА ДЛЯ МОДЕЛИ: HONDA BF60A

Подвесной  лодочный двигатель BF60A - Gear Case - Картер коробки передач
Номер на
рисунке
АртикулНаименованиеКол-во
на складе
Цена
119286-ZZ3-000

Пластина, установочная резинка (Plate, rubber setting)

под заказ0 руб. 
241101-ZZ3-000ZB

Картер коробки передач *nh282mu* (Case, gear *nh282mu*)

1 шт139220 руб. 
341102-ZZ3-000

Пыльник картера коробки передач (Grommet, gear case)

под заказ0 руб. 
441104-ZZ3-000

Экран для воды, правый (Screen, r. water)

под заказ1510 руб. 
541105-ZZ3-000

Экран для воды, левый (Screen, l. water)

под заказ1340 руб. 
641107-ZZ5-000ZA

Пластина трима *nh282mu* (Tab, trim *nh282mu*)

под заказ9770 руб. 
741109-ZW1-B00

Металлический анод (Metal comp., anode)

4 шт3780 руб. 
890015-ZY3-000

Болт под шестигранник., 10x60 (Bolt, hex., 10x60)

под заказ2110 руб. 
990101-ZW9-003

Болт контроля уровня масла (Bolt, oil check)

под заказ790 руб. 
1090103-ZY3-000

Болт под шестигранник., 10x32 (Bolt, hex., 10x32)

1 шт1320 руб. 
1190103-ZZ3-000

Плоский винт, 5x37 (Screw, flat, 5x37)

под заказ460 руб. 
1290120-ZY3-000

Болт дренажной заглушки (Bolt, drain plug)

2 шт3720 руб. 
1390126-ZV5-000

Болт под шестигранник., 8x20 (Bolt, hex., 8x20)

под заказ450 руб. 
1490205-ZY1-000

Гайка с замком, 6 мм (Nut, self-lock, 6mm)

под заказ1020 руб. 
1590206-HW1-671

Фланцевый болт, 6x30 (Bolt, flange, 6x30)

под заказ0 руб. 
1690302-ZV4-000

Гайка с замком, 5 мм (Nut, self-lock, 5mm)

под заказ1270 руб. 
1890507-ZV4-000

Плоская шайба, 8 мм (Washer, plain, 8mm)

под заказ360 руб. 
1990563-ZV5-000

Плоская шайба, 10 мм (Washer, plain, 10mm)

под заказ500 руб. 
2090756-ZV5-000

Шпонка, 6x10 (Dowel pin, 6x10)

1 шт220 руб. 
2191301-ZW4-003

Уплотнительное кольцо, 6.9x1.45 (O-ring, 6.9x1.45)

32 шт270 руб. 

Время выполнения запроса 1.3077809810638 сек.

 
 

данный сайт носит информационный характер и не является публичной офертой

склад запчастей для водомоторной техники