вконтакте

Контактный телефон: +7 (981) 121-46-93, +7 (800) 200-90-76 , Email: parts-katalog@yandex.ru, где купить

 
 

  Логин:

Пароль:

Регистрация

www.partskatalog.ru Все каталоги Запчасти Mercury Запчасти Suzuki Запчасти Tohatsu Запчасти Honda Контакты



УВАЖАЕМЫЕ КЛИЕНТЫ!
C 19 ДЕКАБРЯ 2025 ПО 02 МАРТА 2026 ГОДА ОТДЕЛ ЗАПЧАСТЕЙ И СЕРВИС РАБОТАТЬ НЕ БУДУТ
ПРОДАЖА ЛОДОЧНЫХ МОТОРОВ В ШТАТНОМ РЕЖИМЕ
ОБ ИЗМЕНЕНИЯХ В ГРАФИКЕ РАБОТЫ ЧИТАЙТЕ НА САЙТА



назад Раздел:   вперёд

Модификация Вашего двигателя:   Honda BF60A LHTD
Модели с серийным номером двигателя от BEBFJ-1000001 до BEBFJ-
Модели с серийным номером рамы от BBFJ-1000001 до BBFJ-

Вернуться к выбору узлов мотора

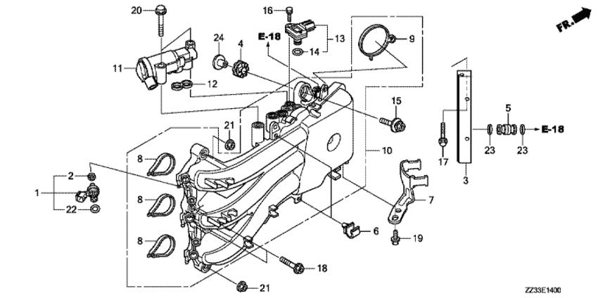
   Впускной трубопровод / инжектор
Inlet Manifold / Injector      


ДЕТАЛИРОВКА ДЛЯ МОДЕЛИ: HONDA BF60A

Двигатель BF60A - Впускной трубопровод / инжектор / Inlet Manifold / Injector
Номер на
рисунке
АртикулНаименованиеКол-во
на складе
Цена
116450-ZZ3-003

Топливный инжектор, в сборе (Injector assy., fuel)

под заказ29100 руб. 
216472-KPC-D50

Кольцо сальника (Ring, seal)

3 шт320 руб. 
316620-ZZ5-010

Топливопровод (Line comp., fuel)

под заказ0 руб. 
416733-ZW5-000

Пыльник пароотделителя (Grommet, vapor separator)

под заказ0 руб. 
516752-ZY3-A00

Соеденитель топливной трубки (Joint, fuel pipe)

3 шт1320 руб. 
616896-ZY9-003

Струбцина B (Clamp b)

под заказ580 руб. 
716914-ZZ3-000

Остановка топливного фильтра (Stay, fuel strainer)

под заказпо запросу 
817105-ZZ3-000

Прокладка впускного коллектора (Packing, intake manifold)

под заказ2260 руб. 
917107-ZZ5-003

Прокладка корпуса дросселя (Packing, throttle body)

под заказ2830 руб. 
1017110-ZZ3-003

Впускной коллектор (Manifold comp., inlet)

под заказ0 руб. 
1136550-ZZ5-003

Клапан с электронным контролем подачи воздуха (Valve assy., electronic air control)

под заказ38010 руб. 
1236551-ZY6-003

Прокладка клапана с электронным контролем (Packing, electronic air control valve)

под заказ2090 руб. 
1337830-RNA-A01

Датчик в сборе (Sensor assy)

под заказ57800 руб. 
1437835-PGK-A01

Уплотнительное кольцо (O-ring)

под заказ410 руб. 
1590014-ZW1-000

Болт с шайбой, 8x35 (Bolt-washer, 8x35)

под заказ320 руб. 
1690029-ZY3-000

Болт с шайбой, 5x18 (Bolt-washer, 5x18)

под заказ0 руб. 
1790031-ZY3-000

Фланцевый болт, 6x32 (Bolt, flange, 6x32)

под заказ250 руб. 
1890036-ZY3-000

Фланцевый болт, 8x32 (Bolt, flange, 8x32)

под заказ270 руб. 
1890036-ZY3-010

(последний код) BOLT,FLANGE 8X32

под заказ340 руб. 
1990056-ZY3-000

Фланцевый болт, 6x12 (Bolt, flange, 6x12)

под заказ430 руб. 
2090126-ZW4-000

Фланцевый болт, 8x45 (Bolt, flange, 8x45)

под заказ350 руб. 
2190205-ZY3-000

Гайка с фланцем, 8 мм (Nut, flange, 8mm)

под заказ180 руб. 
2291301-KPH-701

Уплотнительное кольцо, 7.3x2.2 (O-ring, 7.3x2.2)

3 шт350 руб. 
2391301-MJ0-003

Уплотнительное кольцо, 7.8x1.9 (arai) (O-ring, 7.8x1.9 (arai))

под заказ460 руб. 
2491554-ZW1-000

Воротник, 8.5x14.5 (Collar, 8.5x14.5)

под заказ1100 руб. 

Время выполнения запроса 0.63007402420044 сек.

 
 

данный сайт носит информационный характер и не является публичной офертой

склад запчастей для водомоторной техники