вконтакте

Контактный телефон: +7 (981) 121-46-93, +7 (800) 200-90-76 , Email: parts-katalog@yandex.ru, где купить

 
 

  Логин:

Пароль:

Регистрация

www.partskatalog.ru Все каталоги Запчасти Mercury Запчасти Suzuki Запчасти Tohatsu Запчасти Honda Контакты

назад Раздел:   вперёд

Модификация Вашего двигателя:   Honda BF50A1 LRC
Модели с серийным номером двигателя от BAZE-2000001 до BAZE-9999999
Модели с серийным номером рамы от BAZS-3210001 до BAZS-3219999

Вернуться к выбору узлов мотора

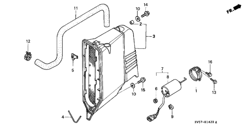
   Корпус глушителя
Silencer Cover      


ДЕТАЛИРОВКА ДЛЯ МОДЕЛИ: HONDA BF50A1

Подвесной четырёх тактный лодочный мотор BF50A1 - Silencer Cover / Корпус глушителя
Номер на
рисунке
АртикулНаименованиеКол-во
на складе
Цена
116675-ZV5-010

Стопор соленоида (Stay comp., solenoid)

под заказпо запросу 
217202-ZV4-300

Промежуточный воротник (Collar, distance)

под заказ610 руб. 
317390-ZV5-010

Кожух глушителя (Cover comp., silencer)

под заказ30640 руб. 
417394-ZV5-000

Прокладка крышки глушителя (Packing, silencer cover)

под заказ550 руб. 
517398-ZV5-000

Гайка корпуса глушителя (Nut, silencer cover)

под заказ1410 руб. 
618624-634-670

Пыльник, air bypass (Grommet, air bypass)

под заказпо запросу 
736190-ZV5-003

Соленоид дистанционного управления заслонкой (Solenoid assy., remote choke)

под заказ47030 руб. 
836191-ZV5-003

Плунжер соленоида (Plunger comp., solenoid)

1 шт7540 руб. 
990136-SE0-A01

Держатель (Holder)

под заказ320 руб. 
1090545-323-700

Шайба, 6.5x18 (Washer, 6.5x18)

под заказ600 руб. 
1191401-ZV5-000

Трубка сапуна (Tube, breather)

под заказ4040 руб. 
1290601-ZV3-000

Струбцина трубки (d17) (Clamp, tube (d17))

под заказпо запросу 
1395701-0601402

Фланцевый болт, 6x14 (Bolt, flange, 6x14)

под заказ140 руб. 
1495701-0602502

Фланцевый болт, 6x25 (Bolt, flange, 6x25)

под заказ150 руб. 
1595701-060-400-2

Фланцевый болт, 6x40 (Bolt, flange, 6x40)

под заказ150 руб. 
1696001-0601202

Фланцевый болт, 6x12 (Bolt, flange, 6x12)

под заказ150 руб. 

Время выполнения запроса 0.65687394142151 сек.

 
 

данный сайт носит информационный характер и не является публичной офертой

склад запчастей для водомоторной техники