вконтакте

Контактный телефон: +7 (981) 121-46-93, +7 (800) 200-90-76 , Email: parts-katalog@yandex.ru, где купить

 
 

  Логин:

Пароль:

Регистрация

www.partskatalog.ru Все каталоги Запчасти Mercury Запчасти Suzuki Запчасти Tohatsu Запчасти Honda Контакты



УВАЖАЕМЫЕ КЛИЕНТЫ!
C 19 ДЕКАБРЯ 2025 ПО 02 МАРТА 2026 ГОДА ОТДЕЛ ЗАПЧАСТЕЙ И СЕРВИС РАБОТАТЬ НЕ БУДУТ
ПРОДАЖА ЛОДОЧНЫХ МОТОРОВ В ШТАТНОМ РЕЖИМЕ
ОБ ИЗМЕНЕНИЯХ В ГРАФИКЕ РАБОТЫ ЧИТАЙТЕ НА САЙТА



назад Раздел:   вперёд

Модификация Вашего двигателя:   Honda BF50A XHD
Модели с серийным номером двигателя от BAZE-1000001 до BAZE-9999999
Модели с серийным номером рамы от BAZU-1000001 до BAZU-1999999

Вернуться к выбору узлов мотора

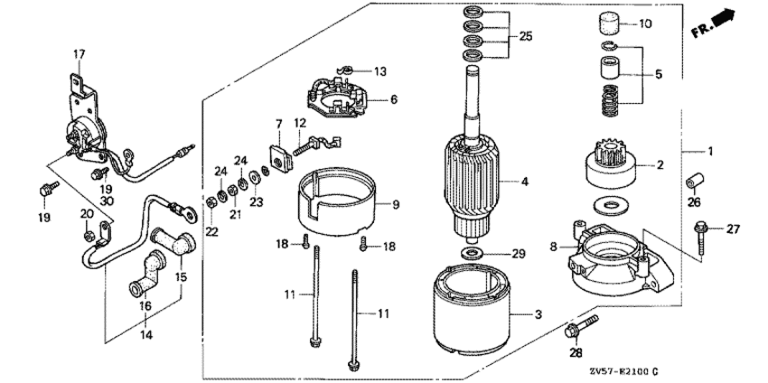
   Двигатель стартера
Starter Motor      


ДЕТАЛИРОВКА ДЛЯ МОДЕЛИ: HONDA BF50A

Двигатель BF50A - Двигатель стартера - Starter Motor
Номер на
рисунке
АртикулНаименованиеКол-во
на складе
Цена
131200-ZV5-003

Электростартер, в сборе (Motor assy., starter)

под заказ118130 руб. 
131200-ZV5-013

(последний код) MOTOR ASSY., STARTER

под заказ138040 руб. 
231207-ZV5-003

Сцепление перепробега (Clutch comp., overrunning)

под заказ53450 руб. 
331216-ZV5-003

Обойма (Yoke comp.)

под заказпо запросу 
431217-ZV5-003

Якорь (Armature comp.)

под заказ72680 руб. 
531225-ZV5-003

Стопор set, Шестерня (Stopper set, pinion)

под заказ3780 руб. 
631231-ZV5-003

Держатель щётки, комплект (Holder comp., brush)

под заказ13680 руб. 
731233-ZV5-003

Втулка (m) (Bush (m))

под заказ2220 руб. 
831235-ZV5-003

Кронштейн, передний (Bracket comp., fr.)

под заказпо запросу 
931236-ZV5-003

Кронштейн comp., rr. (Bracket comp., rr.)

под заказпо запросу 
1031239-ZV5-003

Колпачок, Стопор (Cap, stopper)

под заказ1750 руб. 
1131261-ZV5-003

Сквозной болт (Bolt, through)

под заказ980 руб. 
1231295-ZV5-003

Комплект щёток (Brush comp.)

под заказ6510 руб. 
1331298-ZV5-003

Пружина щётки (Spring, brush)

под заказ460 руб. 
1432402-ZV5-000

Провод магнитного переключателя (120 мм) (Cord, magnet switch (120mm))

под заказ5110 руб. 
1532411-402-000

Крышка клеммы электростартера (Cover, starting motor terminal)

под заказ180 руб. 
1632412-ZV5-003

Крышка магнитного переключателя (Cover, magnetic switch)

под заказ0 руб. 
1735850-ZV5-003

Выключатель магнитного переключателя, в сборе (Switch assy., starter magnetic)

под заказ18510 руб. 
1890015-ZV5-003

Винт, 4 мм (Screw, 4mm)

под заказ220 руб. 
1990122-ZV1-000

Фланцевый болт, 6x12 (Bolt, flange, 6x12)

под заказпо запросу 
2090203-ZV5-000

Шестигранная гайка, 6 мм (Nut, hex., 6mm)

под заказ0 руб. 
2190204-ZV5-003

Гайка (1) (Nut (1))

под заказ0 руб. 
2290205-ZV5-003

Гайка (2) (Nut (2))

под заказ0 руб. 
2390407-ZV5-003

Шайба (1) (Washer (1))

под заказ0 руб. 
2490408-ZV5-003

Шайба (2) (Washer (2))

под заказ0 руб. 
2590409-ZV5-003

Шайба set, thrust (Washer set, thrust)

под заказпо запросу 
2694301-10160

Шпонка (Dowel pin)

10 шт210 руб. 
2795701-060-280-2

Болт (Bolt)

под заказ120 руб. 
2895701-0804502

Фланцевый болт, 8x45 (Bolt, flange, 8x45)

под заказпо запросу 

Время выполнения запроса 1.7100300788879 сек.

 
 

данный сайт носит информационный характер и не является публичной офертой

склад запчастей для водомоторной техники