Контактный телефон: +7 (981) 121-46-93, +7 (800) 200-90-76 , Email: parts-katalog@yandex.ru, где купить |
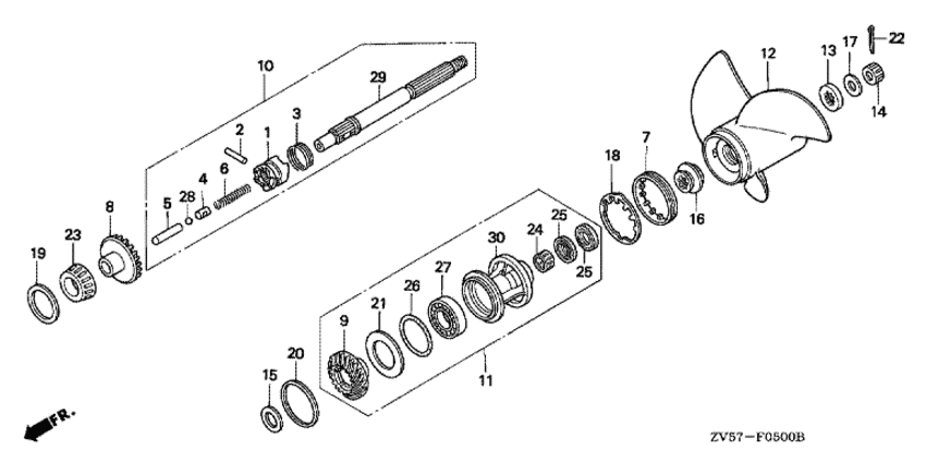
Модификация Вашего двигателя: Honda BF50A LRTF Вернуться к выбору узлов мотора Вал гребного винта / Гребной винт |
||||||||||||||||||||||||||||||||||||||||||||||||||||||||||||||||||||||||||||||||||||||||||||||||||||||||||||||||||||||||||||||||||||||||||||||||||||||||||||||||||||||||||||||||||||||||||||||||||||||||||||||||||||||||||||||||||||||||||||||||||||||||||||||||||||||||||||||||||||||||||||||||||||||||||||||||||||||||||
| Номер на рисунке | Артикул | Наименование | Кол-во на складе | Цена | |
| 1 | 24101-ZV5-000 | Переключатель сцепления (Shifter, clutch) | под заказ | 18570 руб. | |
| 2 | 24102-ZV5-000 | Штифт переключателя, 6.3x33 (Pin, shifter, 6.3x33) | 4 шт | 260 руб. | |
| 3 | 24103-ZV5-000 | Кольцо стопора крестовины (Ring, cross pin) | 2 шт | 380 руб. | |
| 4 | 24106-ZV5-000 | Держатель переключающего штыря (Holder, shifter pin) | 4 шт | 1140 руб. | |
| 5 | 24122-ZV5-000 | Ползунок переключателя (Slider, shift) | под заказ | 2050 руб. | |
| 6 | 24123-ZV5-003 | Пружина переключателя (Spring, shift) | под заказ | 550 руб. | |
| 7 | 41109-ZV5-000 | Гайка, Картер коробки передач end (Nut, gear case end) | 1 шт | 3450 руб. | |
| 8 | 41145-ZV5-000 | Косая шестерня переднего хода (Gear comp., fr. bevel) | под заказ | 41270 руб. | |
| 9 | 41151-ZV5-000 | Косая шестерня заднего хода (Gear, rr. bevel) | под заказ | 38550 руб. | |
| 9 | 41151-ZV5-010 | (последний код) GEAR, RR. BEVEL | 3 шт | 38550 руб. | |
| 10 | 41160-ZV5-000 | Вал гребного винта (Shaft assy., propeller) | под заказ | 84070 руб. | |
| 10 | 06410-ZW4-305 | (последний код) SET,PROP SHAFT AS | под заказ | 89930 руб. | |
| 11 | 41200-ZV5-000 | Обойма гребного винта, в сборе (Holder assy., propeller shaft) | под заказ | 49710 руб. | |
| 11 | 41200-ZV5-030 | (последний код) HOLDER ASSY., PROPELLER S | 2 шт | 45820 руб. | |
| 12 | 58130-ZV5-000ZA | Гребной винт, трёхлопастной (11-1 / 4x13) *nh283 * (Propeller comp., three blades (11-1/4x13) *nh283 *) | 3 шт | 39830 руб. | |
| 12 | SK58130-ZV5-000ZA | (не оригинальный аналог) Винт гребной Skipper для Honda 35-60HP, диаметр 11 1/4" алюминиевый, лопастей - 3, шаг 13" | 0 шт | 4296 руб. | |
| 12 | 58130-ZV5-850ZA | Гребной винт, трёхлопастной (11-1 / 2x12) *nh283 * (Propeller comp., three blades (11-1/2x12) *nh283 *) | под заказ | 45810 руб. | |
| 12 | 58130-ZV5-860ZA | Гребной винт, трёхлопастной (11-3 / 4x10) *nh283 * (Propeller comp., three blades (11-3/4x10) *nh283 *) | под заказ | 58050 руб. | |
| 12 | SK58130-ZV5-860ZA | (не оригинальный аналог) Винт гребной Skipper для Honda 50-60HP алюминиевый, диаметр - 11 3/4", шаг 10" | 0 шт | 5198 руб. | |
| 12 | 58130-ZV5-870ZA | Гребной винт, трёхлопастной (11-1 / 2x14-1 / 4) *nh283 * (Propeller comp., three blades (11-1/2x14-1/4) *nh283 *) | под заказ | 39830 руб. | |
| 13 | 58151-ZV5-000 | Прокладка, 10 мм (Spacer, 10mm) | 2 шт | 4860 руб. | |
| 14 | 90301-ZV5-000 | Гайка - башня, 16 мм (Nut, castle, 16mm) | 4 шт | 3090 руб. | |
| 15 | 90503-ZV5-000 | Шайба, 22 мм (Washer, 22mm) | 2 шт | 1180 руб. | |
| 16 | 90506-ZV5-000 | Упорная шайба гребного винта (Washer, propeller thrust) | под заказ | 9030 руб. | |
| 16 | 90506-ZZ5-C00 | (последний код) WASHER, PROPELLER THRUST | под заказ | 9030 руб. | |
| 17 | 90508-ZV5-000 | Шайба, 17 мм (Washer, 17mm) | 5 шт | 890 руб. | |
| 18 | 90509-ZV5-000 | Шайба, claw (Washer, claw) | 2 шт | 1560 руб. | |
| 19 | 90528-ZV5-000 | Регулировочная шайба переднего хода (a) (51x57x0.10) (Shim, fr. bevel (a) (51x57x0.10)) | 1 шт | 1450 руб. | |
| 19 | 90529-ZV5-000 | Регулировочная шайба переднего хода (b) (51x57x0.15) (Shim, fr. bevel (b) (51x57x0.15)) | 1 шт | 1450 руб. | |
| 19 | 90530-ZV5-000 | Регулировочная шайба переднего хода (c) (51x57x0.30) (Shim, fr. bevel (c) (51x57x0.30)) | 1 шт | 1450 руб. | |
| 19 | 90531-ZV5-000 | Регулировочная шайба переднего хода (d) (51x57x0.50) (Shim, fr. bevel (d) (51x57x0.50)) | под заказ | 1450 руб. | |
| 20 | 90538-ZV5-000 | Регулировочная шайба, rr. bevel (a) (73x77x0.10) (Shim, rr. bevel (a) (73x77x0.10)) | под заказ | 1640 руб. | |
| 20 | 90539-ZV5-000 | Регулировочная шайба, rr. bevel (b) (73x77x0.15) (Shim, rr. bevel (b) (73x77x0.15)) | под заказ | 1740 руб. | |
| 20 | 90540-ZV5-000 | Регулировочная шайба, rr. bevel (c) (73x77x0.30) (Shim, rr. bevel (c) (73x77x0.30)) | под заказ | 1740 руб. | |
| 20 | 90541-ZV5-000 | Регулировочная шайба, rr. bevel (d) (73x77x0.50) (Shim, rr. bevel (d) (73x77x0.50)) | под заказ | 1740 руб. | |
| 21 | 90548-ZV5-000 | Плоская шайба, 54 мм (Washer, plain, 54mm) | под заказ | 2020 руб. | |
| 21 | 90548-ZV5-010 | (последний код) WASHER, PLAIN, 54MM | под заказ | 2020 руб. | |
| 22 | 90758-ZV5-000 | Стопорный шплинт, 4.0 (Pin, split, 4.0) | 2 шт | 260 руб. | |
| 23 | 91051-ZV5-003 | Подшипник, 32x58x17 (Bearing, 32x58x17) | 3 шт | 3980 руб. | |
| 23 | 4T32032XNTN | (подбор по маркировке) Подшипник NTN 4T 320/32X(32*58*17 мм) | под заказ | 0 | |
| 24 | 91053-ZV5-003 | Подшипник, игольчатый, 22x28x20 (Bearing, needle, 22x28x20) | 2 шт | 2530 руб. | |
| 24 | HK2220NTN | (подбор по маркировке) Подшипник NTN HK2220(22*28*20 мм) | под заказ | 0 | |
| 25 | 91252-ZV5-003 | Сальник, 22x35x7 (Seal, water, 22x35x7) | 1 шт | 800 руб. | |
| 26 | 91351-ZV5-003 | Уплотнительное кольцо, 66x5.7 (O-ring, 66x5.7) | под заказ | 810 руб. | |
| 27 | 96100-6007000 | Подшипник, радиальный шариковый, 6007 (Bearing, radial ball, 6007) | 4 шт | 2680 руб. | |
| 27 | 6007NACHI | (подбор по маркировке) Подшипник NACHI 6007(35*62*14 мм) | 3 шт | 360 руб. | |
| 28 | 96211-11000 | Шарик (Ball) | 16 шт | 50 руб. | |
| 29 | 41161-ZV5-000 | Вал гребного винта (Shaft, propeller) | под заказ | 66010 руб. | |
| 29 | 41161-ZV5-010 | (последний код) SHAFT, PROPELLER | 3 шт | 82280 руб. | |
| 30 | 41201-ZV5-000 | Держатель вала гребного винта (Holder, propeller shaft) | 1 шт | 15080 руб. | |
Время выполнения запроса 0.70532608032227 сек.
склад запчастей для водомоторной техники