вконтакте

Контактный телефон: +7 (981) 121-46-93, +7 (800) 200-90-76 , Email: parts-katalog@yandex.ru, где купить

 
 

  Логин:

Пароль:

Регистрация

www.partskatalog.ru Все каталоги Запчасти Mercury Запчасти Suzuki Запчасти Tohatsu Запчасти Honda Контакты



УВАЖАЕМЫЕ КЛИЕНТЫ!
C 19 ДЕКАБРЯ 2025 ПО 02 МАРТА 2026 ГОДА ОТДЕЛ ЗАПЧАСТЕЙ И СЕРВИС РАБОТАТЬ НЕ БУДУТ
ПРОДАЖА ЛОДОЧНЫХ МОТОРОВ В ШТАТНОМ РЕЖИМЕ
ОБ ИЗМЕНЕНИЯХ В ГРАФИКЕ РАБОТЫ ЧИТАЙТЕ НА САЙТА



назад Раздел:   вперёд

Модификация Вашего двигателя:   Honda BF50D EFI; XRTL
Модели с серийным номером двигателя от BEBEJ-1000001 до BEBEJ-
Модели с серийным номером рамы от BBEJ-1000001 до BBEJ-

Вернуться к выбору узлов мотора

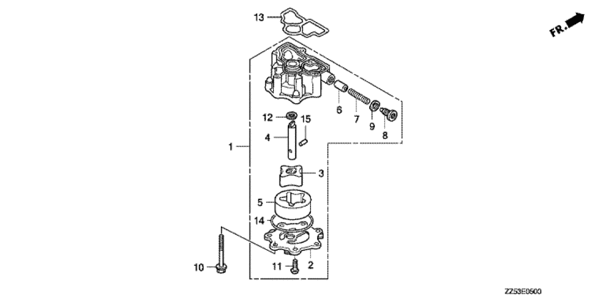
   Масляный насос
Oil Pump      


ДЕТАЛИРОВКА ДЛЯ МОДЕЛИ: HONDA BF50D

Двигатель BF50D - Oil Pump / Масляный насос
Номер на
рисунке
АртикулНаименованиеКол-во
на складе
Цена
115100-ZV5-000

Масляный насос, в сборе (Pump assy., oil)

2 шт50050 руб. 
215116-ZV5-000

Корпус масляного насоса (Cover, oil pump)

под заказ4880 руб. 
315122-ME5-000

Ротор внутри (Rotor, inner)

под заказ2800 руб. 
415132-ZV5-000

Вал масляного насоса (Shaft, oil pump)

под заказ0 руб. 
515162-393-000

Rotor a, outer (Rotor a, outer)

под заказ4310 руб. 
615231-413-020

Клапан (Valve)

под заказ2300 руб. 
715232-KT8-000

Пружина освобождения клапана (Spring, relief valve)

под заказ550 руб. 
815236-ZV5-010

Болт уплотнения, 14 мм (Bolt, sealing, 14mm)

под заказ820 руб. 
915302-PE0-300

Шайба (Washer)

под заказ610 руб. 
1090147-ZW4-000

Фланцевый болт, 6x55 (Bolt, flange, 6x55)

под заказ250 руб. 
1190184-ZW4-000

Винт с чашечкой, 6x16 (Screw, pan, 6x16)

под заказ0 руб. 
1290456-MC7-000

Упорная шайба, 13 мм (Washer, thrust, 13mm)

под заказ500 руб. 
1391301-ZV5-000

Уплотнительное кольцо корпуса помпы (O-ring, pump cover)

под заказ1220 руб. 
1391301-ZV5-010

(последний код) O-RING, PUMP COVER

3 шт1220 руб. 
1491306-MJ0-005

Уплотнительное кольцо, 54x2.5 (nok) (O-ring, 54x2.5 (nok))

под заказ170 руб. 
1491302-KF0-003

(последний код) O-RING, 54X2.4 (ARAI)

2 шт190 руб. 
1596220-50178

Ролик (Roller)

под заказ50 руб. 

Время выполнения запроса 0.43284296989441 сек.

 
 

данный сайт носит информационный характер и не является публичной офертой

склад запчастей для водомоторной техники